Inhalt

LG München I, Endurteil v. 05.02.2026 – 7 O 7655/25
Titel:

FRAND-Korridor beim Vorliegen von Vergleichslizenzverträgen

Normenketten:
EPÜ Art. 70 Abs. 1
PatG § 139 Abs. 1 S. 3, § 140a
Leitsätze:
1. Die Entscheidung des Bundesgerichtshofs KZR 10/25 (Urteil vom 27. Januar 2026) steht der Rechtsprechung der Kammer (Hinweisbeschluss vom 14. Juli 2025 in den Verfahren 7 O 64/25 und 7 O 2750/25, sowie Urteile in den Verfahren 7 O 5007/25 und 7 O 4102/25) nicht entgegen.
2. Bei der Beurteilung der Lizenzwilligkeit der Beklagtenpartei ist zwischen de äußeren und der inneren Lizenzwilligkeit zu unterscheiden. Die äußere Lizenzwilligkeit ist dann gegeben, wenn kein offensichtlicher Hold-out vorliegt. Dies ist in der Regel dann der Fall, wenn die Beklagtenpartei einen unstreitigen Betrag bezahlt und eine Sicherheit hinterlegt hat. Erst dann ist das Angebot der Klagepartei inhaltlich dahingehend zu überprüfen, ob es innerhalb des zulässigen FRAND-Rahmens liegt. Wenn das Angebot innerhalb eines zulässigen Rahmens liegt und nicht angenommen wird, fehlt es der Beklagtenpartei an der inneren Lizenzwilligkeit.
3. Wenn Vergleichslizenzverträge vorgelegt worden sind, ist ein FRAND-Korridor so zu bestimmen, dass der höchste zulässige Wert das Dreifache des niedrigsten Wertes beträgt bzw. es ist eine Abweichung von 50 % nach unten und nach oben von einem mittleren Wert möglich.
4. Als Beispiel: Wenn ein Mittelwert bei 5 liegt, dann ist der FRAND-Bereich zwischen 2,5 und 7,5. Das bedeutet, dass es zulässig sein kein, dass eine sehr günstige Lizenz bei 2,5 liegt und eine sehr teure Lizenz bei 7,5. Allerdings muss es für eine solche Unterscheidung gute Gründe geben (weil sonst eine Diskriminierung vorliegen würde). Typische Gründe für eine Differenzierung sind der Umfang der Lizenz (Stückzahl/Dauer) und das Verhalten der Beklagtenpartei. Denn eine Partei, die schnell eine Lizenz schließt, verursacht weniger Aufwand bei der Klagepartei und dies kann bei der Bestimmung des Lizenzpreises berücksichtigt werden.
5. Besonderes Augenmerk ist auf die Bestimmung des Mittelwertes zu legen. Diese Betrachtung beruht auf einer wertenden Entscheidung. Im Zweifel wird die zum Vergleich herangezogene Stückrate als Mittelwert anzusetzen sein. Eine andere Betrachtung kann beispielsweise bei einem Vorliegen von weiteren Verträgen veranlasst sein. Dies wird anhand des vorangegangenen Beispiels konkretisiert:
6. Ein grundsätzlich vergleichbarer Lizenzvertrag weist eine Rate von 5 aus. Es liegen aber weitere Verträge vor, die für einen Vergleich weniger geeignet sind, beispielsweise, weil sich die Größe der Unternehmen oder die Produkte unterscheiden. Dort ist aber für Produkte mit einer gewissen Ähnlichkeit eine Rate von 6 vorgesehen.
7. In einer solchen Konstellation gibt es Anhaltspunkte, dass der Wert 5 günstig ist und deshalb keinen Mittelwert darstellt. Die konkrete Berechnung würde dann so aussehen, dass die Rate innerhalb des Korridors von 1 bis 3 nicht bei 2 (dem Mittelwert) liegt, sondern bei 1,8 anzusetzen sein könnte. De Korridor würde dann zwischen 2,78 und 8,33 liegen.
8. Dieser Rahmen wird weiter eingeengt, wenn konkrete Vergleichslizenzverträge vorliegen. Denn dann greift der Gesichtspunkt, dass ein Lizenzgebe nicht diskriminieren darf. Konkret bedeutet dies in Zahlen:
9. Wenn bei dem ersten Beispiel ein Lizenzvertrag mit einem Wettbewerbe (ähnliche Größe/ähnliche Produkte) vorliegen würde, der bei 4,5 liegt, dann würde der grundsätzlich bestehende Bereich eingeengt werden (solange sich die lizenzsuchenden Parteien ähnlich verhalten). Dann wäre lediglich eine Erhöhung von 15 % möglich. Der FRAND-Bereich würde also bei 5,175 (115 % von 4,5) enden.
Schlagworte:
Patentverletzung, Standardessenzielle Patente, FRAND-Lizenzierung, Verhältnismäßigkeit, Rückruf und Vernichtung, Aussetzung des Verfahrens, Vergleichslizenzverträge
Fundstelle:
GRUR-RS 2026, 2292

Tenor

I. Die Beklagten werden verurteilt,
1. es bei Meidung eines für jeden Fall der Zuwiderhandlung fälligen Ordnungsgeldes bis zu 250.000 Euro, ersatzweise Ordnungshaft bis zu sechs Monaten oder Ordnungshaft bis zu sechs Monaten, im Wiederholungsfalle Ordnungshaft bis zu zwei Jahren, wobei die Ordnungshaft an den Vorständen und Geschäftsführern der Beklagten zu vollstrecken ist, zu
unterlassen,
a) Systeme für drahtgebundene Kommunikation,
in der Bundesrepublik Deutschland anzubieten, in Verkehr zu bringen oder zu gebrauchen oder zu den genannten Zwecken einzuführen oder zu besitzen, aufweisend:
eine lokale PHY [physische Schnittstelle], die ausgelegt ist zum Umwandeln von Media Independent Interface, MII,
Ethernet-Daten von einem 4-Bit-Paketstrom in einen 3-BitPaketstrom;
einen Scrambler, der ausgelegt ist zum Scrambeln des 3-Bit-Paketstroms;
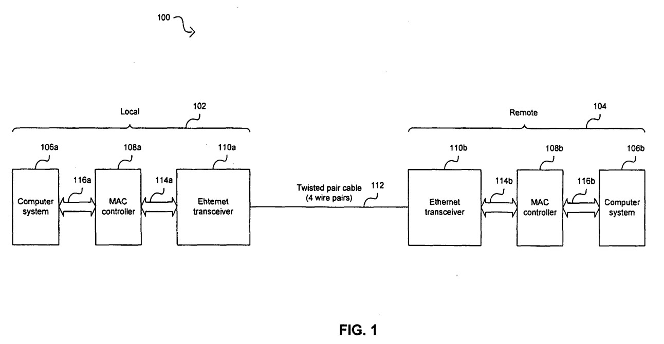
wobei die lokale PHY, die ausgelegt ist zum Abbilden des 3Bit-Paketstroms von MII-Daten auf einen oder mehrere ternäre Bitströme zur Kommunikation an eine ferne PHY über eine oder mehrere verdrillte Leitungen eine Konfiguration hat zum, während eines IDLE-Zustands:
Abbilden binärer 3-Bit IDLE-Muster des gescrambelten 3Bit-Paketstroms mit einem niedrigstwertigen Bit von Null auf einen ternären nicht-Null Wert des einen oder der mehreren ternären Bitströme;
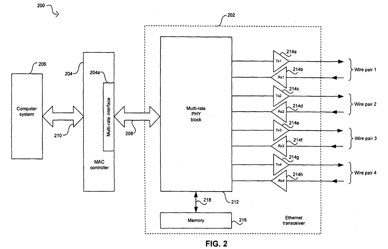
Abbilden binärer 3-Bit IDLE-Muster des gescrambelten 3Bit-Paketstroms mit einem niedrigstwertigen Bit von nichtNull auf einen ternären Null-Wert des einen oder der mehreren ternären Bitströme,
(EP 1 903 733 B1, Anspruch 11, unmittelbare Verletzung);
b) Systeme, geeignet, ein Verfahren für drahtgebundene Kommunikation durchzuführen,
Abnehmern im Gebiet der Bundesrepublik Deutschland zur Benutzung in der Bundesrepublik Deutschland anzubieten und/oder an solche zu liefern,
wobei das Verfahren umfasst:
Umwandeln von Media Independent Interface, MII, EthernetDaten in einer lokalen PHY [physischen Schnittstelle] von einem 4-Bit-Paketstrom in einen 3-Bit-Paketstrom;
Scrambeln des 3-Bit-Paketstroms;
Abbilden des gescrambelten 3-Bit-Paketstroms von MII-Daten auf einen oder mehrere ternäre Bitströme zur Kommunikation an eine ferne PHY über eine oder mehrere verdrillte Leitungen, das während eines IDLE [Leerlauf]-Zustands umfasst:
Abbilden binärer 3-Bit-IDLE-Muster des gescrambelten 3Bit-Paketstroms mit einem niedrigstwertigen Bit von Null auf einen ternären nicht-Null Wert des einen oder der mehreren ternären Bitströme;
Abbilden binärer 3-Bit IDLE-Muster des gescrambelten 3Bit-Paketstroms mit einem niedrigstwertigen Bit von nichtNull auf einen ternären Null-Wert des einen oder der mehreren ternären Bitströme,
(EP 1 903 733 B1, Anspruch 1, mittelbare Verletzung);
2. der Klägerin darüber Auskunft zu erteilen, in welchem Umfang die Beklagten die zu Ziff. I.1. bezeichneten Handlungen in der Bundesrepublik Deutschland seit dem 29.10.2018 begangen haben, und
zwar unter Angabe
a) der Namen und Anschriften der Hersteller, Lieferanten und anderer Vorbesitzer,
b) der Namen und Anschriften der gewerblichen Abnehmer sowie der Verkaufsstellen, für die die Erzeugnisse bestimmt waren,
c) der Menge der ausgelieferten, erhaltenen oder bestellten und hergestellten Erzeugnisse sowie der Preise, die für die betreffenden Erzeugnisse bezahlt wurden,
wobei zum Nachweis der Angaben die entsprechenden Kaufbelege (Rechnungen, hilfsweise Lieferscheine) in Kopie vorzulegen sind, wobei geheimhaltungsbedürftige Details außerhalb der auskunftspflichtigen Daten geschwärzt werden dürfen,
wobei die Auskunft samt Kaufbelegen in einer mittels EDV auswertbaren, elektronischen Form zu übermitteln ist;
3. der Klägerin darüber Rechnung zu legen, in welchem Umfang die Beklagten die zu Ziff. I.1. bezeichneten Handlungen seit dem 29.10.2018 begangen haben, und zwar unter Angabe:
a) der Herstellungsmengen und -zeiten,
b) der einzelnen Lieferungen, aufgeschlüsselt nach Liefermengen, -zeiten, -preisen und Typenbezeichnungen sowie der
Namen und Anschriften der Abnehmer,
c) der einzelnen Angebote, aufgeschlüsselt nach Angebotsmengen, -zeiten, -preisen und Typenbezeichnungen sowie der
Namen und Anschriften der Angebotsempfänger,
d) der betriebenen Werbung, aufgeschlüsselt nach Werbeträgern, deren Auflagenhöhe, Verbreitungszeitraum und Verbreitungsgebiet sowie bei Internetwerbung der Internetadressen, der Schaltungszeiträume und der Zugriffszahlen,
e) der nach den einzelnen Kostenfaktoren aufgeschlüsselten
Gestehungskosten und des erzielten Gewinns,
wobei die Aufstellung mit den Daten der Rechnungslegung in einer mittels EDV auswertbaren, elektronischen Form zu übermitteln ist, und wobei den Beklagten nach ihrer Wahl vorbehalten bleibt, die Namen und Anschriften der nichtgewerblichen Abnehmer und der Angebotsempfänger statt der Klägerin einem von der Klägerin zu bezeichnenden, ihr gegenüber zur Verschwiegenheit verpflichteten, in der Bundesrepublik Deutschland ansässigen, vereidigten Wirtschaftsprüfer mitzuteilen, sofern die Beklagten dessen Kosten tragen und ihn ermächtigen und verpflichten, der Klägerin auf konkrete Anfrage mitzuteilen, ob eine bestimmte Lieferung oder ein bestimmter Abnehmer oder Angebotsempfänger in der Aufstellung enthalten ist,
4.
die vorstehend zu Ziffer I.1. a) bezeichneten, seit dem 29.10.2018 in Verkehr gebrachten Erzeugnisse gegenüber den gewerblichen Abnehmer schriftlich unter Hinweis auf den gerichtlich (Urteil des Landgerichts München I vom 5. Februar 2026) festgestellten patentverletzenden Zustand der Sache und mit der verbindlichen Zusage zurückzurufen, etwaige Entgelte zu erstatten sowie notwendige Verpackungs- und Transportkosten sowie die mit der Rückgabe verbundenen Zoll- und Lagerkosten zu übernehmen und die Erzeugnisse wieder an sich zu nehmen, wobei der Klägerin ein Muster der Rückrufschreiben sowie eine Liste der Adressaten mit Namen und postalischer Anschrift oder – nach Wahl der Beklagten – eine Kopie sämtlicher Rückrufschreiben zu überlassen ist;
5.
die unter I.1. a) bezeichneten, seit dem 29.10.2018 in Verkehr gebrachten Erzeugnisse endgültig aus den Vertriebswegen zu entfernen, indem die Beklagten diese Gegenstände wieder an sich nehmen, erforderlichenfalls deren Herausgabe mit ihr zustehenden Herausgabeansprüchen erzwingen oder nach Wahl der Klägerin die Vernichtung dieser Gegenstände beim jeweiligen Besitzer auf Kosten der Beklagten veranlassen;
6. 
die in der Bundesrepublik Deutschland im unmittelbaren oder mittelba- ren Besitz bzw. Eigentum der Beklagten befindlichen Erzeugnisse ge- mäß Ziffer I.1. a) zu vernichten, oder an einen von der Klägerin zu be- auftragenden Gerichtsvollzieher zum Zwecke der Vernichtung auf Kos- ten der Beklagten herauszugeben.
II. Es wird festgestellt, dass die Beklagten verpflichtet sind, der Klägerin allen Schaden zu ersetzen, der ihr durch die zu Ziffer I.1. bezeichneten, seit dem 29.10.2018 begangenen Handlungen entstanden ist und noch entstehen wird.
III. Die Beklagten tragen die Kosten des Rechtsstreits mit Ausnahme der Kosten der Nebenintervention; Letztere tragen die Nebenintervenienten selbst.
IV. Das Urteil ist in Ziffer I.1. gegen Sicherheitsleistung in Höhe von 7.500.000,00 Euro, in Ziffer I.2 und I.3 gemeinsam gegen Sicherheitsleistung in Höhe von 50.000,00 €, in Ziffer I.4, I.5 und I.6 gemeinsam gegen Sicher- heitsleistung in Höhe von 10.000.000,00 Euro sowie in Ziffer III. in Höhe von 110 Prozent des jeweils zu vollstreckenden Betrags vorläufig vollstreckbar.

Tatbestand

1
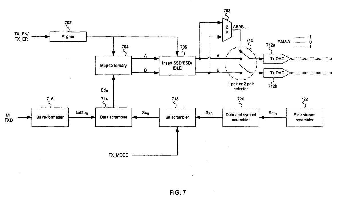
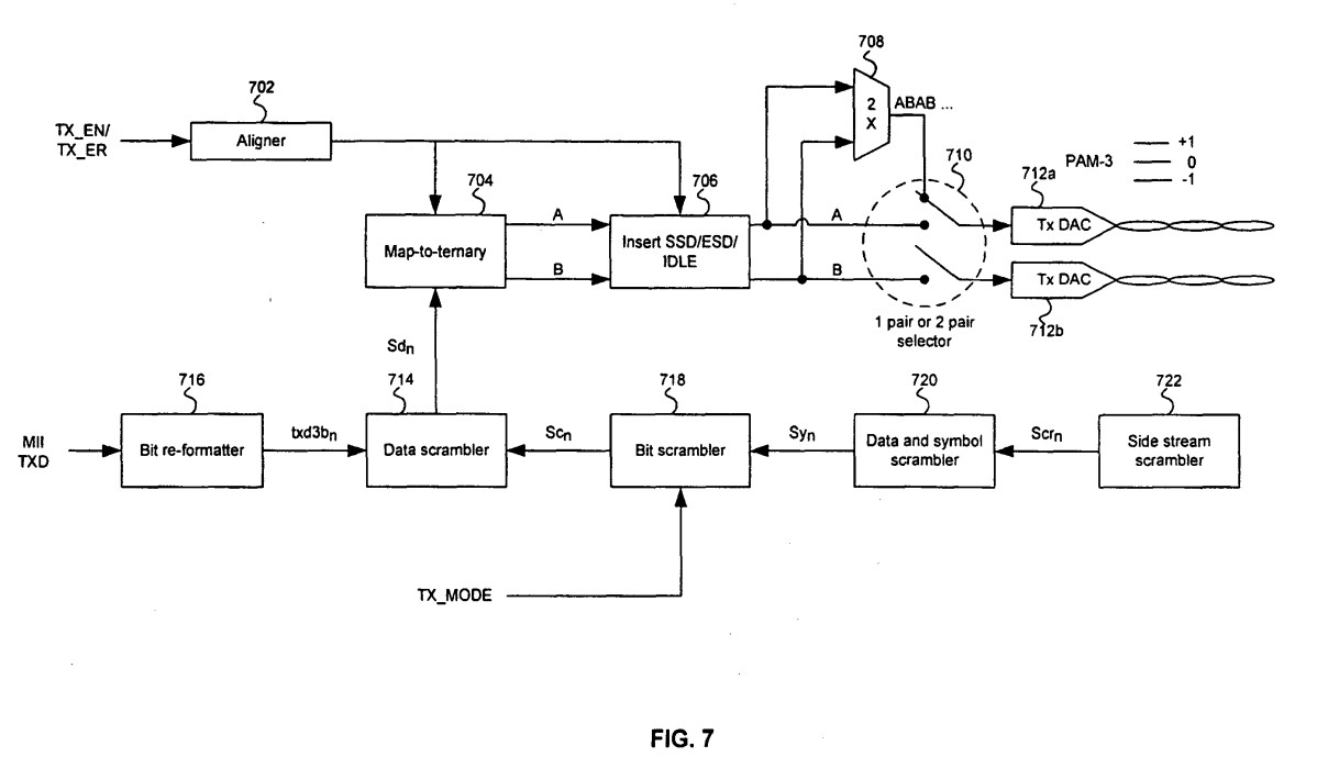
Die Klägerin nimmt die Beklagten wegen behaupteter Verletzung des Europäischen Patents 1 903 733 B1 in Anspruch, welches ein System sowie ein Verfahren zur drahtgebundenen Datenübertragung entsprechend der Ethernet-Spezifikation mit verlängerter Reichweite betrifft. Der Begriff „Ethernet“ verweist auf den vom Institute of Electrical and Electronics Engineers (IEEE) verwalteten Standard 802.3 inklusive Weiterentwicklungen.
2
Die Klägerin ist Inhaberin des am 31. Mai 2007 unter Inanspruchnahme der Priorität der USamerikanischen Patentanmeldungen US 826348 P (vom 20. September 2006) sowie US 686852 (vom 15. März 2007) angemeldeten Europäischen Patents 1 903 733 B1 (Anlage CBH 09, nachfolgend: Klagepatent). Die Anmeldung wurde am 26. März 2008 und der Erteilungshinweis am 6. Januar 2016 veröffentlicht. Mit Schriftsatz vom 31. August 2025 (Anlage B& B KE 10) hat die Beklagte zu 2) Nichtigkeitsklage vor dem Bundespatentgericht eingelegt (Az. 5 Ni 35/25 (EP)). Der Hinweisbeschluss gemäß § 83 Abs. 1 PatG liegt noch nicht vor. Zudem hat eine Tochtergesellschaft der Beklagten zu 2) mit Schriftsatz vom 6. Oktober 2025 eine Nichtigkeitsklage vor dem Einheitlichen Patentgericht, Zentralkammer Paris, eingelegt (Az. UPC CFI 1039/2025).
3
Die hier maßgeblichen Ansprüche 11 und 1 lauten in der Verfahrenssprache wie folgt:
„Anspruch 11:
„A system for wired communication, the system comprising:
a local PHY adapted to converte [sic] Ethernet media independent interface, MII, data from a 4-bit packet stream to a 3-bit packet stream; a scrambler adapted to scrambling said 3-bit packet stream; said local PHY adapted to map of [sic] said 3-bit packet stream of MII data to one or more ternary bits streams for communication to a remote PHY over one or more twistedpair wires comprising a configuration to, during an IDLE state:
map 3-bit binary IDLE patterns of the scrambled 3-bit packet stream with a least significant bit of zero to a nonzero ternary value of said one or more ternary bits streams;
map 3-bit binary IDLE patterns of the scrambled 3-bit packet stream with a nonzero least significant bit to a zero ternary value of said one or more ternary bits streams scramble said 3-bit packet stream; ”
Anspruch 1
„A method for wired communication, the method comprising:
converting Ethernet media independent interface, MII, data in a local PHY from a 4-bit packet stream to a 3-bit packet stream; scrambling (1210) said 3-bit packet stream; mapping (1212) said scrambled 3-bit packet stream of MII data to one or more ternary bits streams for communication to a remote PHY over one or more twistedpair wires comprising during an IDLE state:
mapping 3-bit binary IDLE patterns of the scrambled 3-bit packet stream with a least significant bit of zero to a nonzero ternary value of said one or more ternary bits streams; mapping 3-bit binary IDLE patterns of the scrambled 3-bit packet stream with a nonzero least significant bit to a zero ternary value of said one or more ternary bits streams.“
4
Die Wortfolge „scramble said 3-bit packet stream” am Ende der englischen Fassung von Anspruch 11 wird weder in der deutschen noch in der französischen Fassung entsprechend wiedergegeben.
5
Die Klägerin ist eine in ... ansässige Tochtergesellschaft des ... , welches die erste Ethernet-Spezifikation für die Automobilindustrie, bekannt als BroadR-Reach, entwickelt hat.
6
Die Beklagte zu 2) ist ein ... Automobilhersteller. Die Beklagte zu 1) ist die in Deutschland ansässige Tochtergesellschaft der Beklagten zu 2), die für den Vertrieb von ... Produkten und Dienstleistungen in Deutschland zuständig ist. Die Beklagte zu 3) ist eine ebenfalls in Deutschland ansässige Tochtergesellschaft der Beklagten zu 1), die in den Verkauf von ... Modellen in Deutschland involviert ist.
7
Die Klägerin belegt den Verletzungsangriff anhand des von der Beklagtenpartei in Deutschland vertriebenen Modells ...(im Folgenden: „angegriffene Ausführungsform 1“), da es mit einer „Navigation Radio Unit“ ausgestattet ist, die einen Chip des in ... ansässigen Herstellers ... besitzt, der nach Auffassung der Klägerin Anspruch 11 des Klagepatents verletzt bzw. bei dessen Nutzung Anspruch 1 des Klagepatents verletzt wird. Die „Navigation Radio Unit“ wird von der Nebenintervenientin zu 1) zugeliefert.
8
Zudem belegt die Klägerin den Verletzungsangriff anhand des von der Beklagtenpartei in Deutschland vertriebenen Modells ... (im Folgenden: „angegriffene Ausführungsform 2“), da es mit einer Telematikeinheit ausgestattet ist, die einen Chip des in den ... ansässigen Herstellers ... besitzt, der nach Auffassung der Klägerin ebenfalls Anspruch 11 des Klagepatents verletzt bzw. bei dessen Nutzung Anspruch 1 des Klagepatents verletzt wird. Die Telematikeinheit wird von der Nebenintervenientin zu 2) zugeliefert.
9
Zwischen den Parteien ist unstreitig, dass die angesprochenen Chips in der Navigations- bzw. Telematikeinheit der angegriffenen Ausführungsformen jeweils den vom IEEE verwalteten Standard „802.3bw“, auch genannt „100BASE-T1“, (Anlage CBH 15) für eine Ethernet-Datenkommunikation zumindest in einem Ausmaß umsetzen, dass die Chips als „standardkonform“ bezeichnet werden können.
10
Die Parteien verhandelten bislang erfolglos über eine Lizenzierung des Standards. Dabei sind die Verhandlungen so weit fortgeschritten, dass hinsichtlich des Umfangs der Lizenz Einvernehmen besteht. Streit besteht lediglich über die Höhe, wobei die Verhandlungsführerin der Beklagtenseite ein höhenmäßiges Angebot abgegeben hat.
11
Die Klägerin trägt vor, die angegriffenen Ausführungsformen verletzten Anspruch 11 des Klagepatents unmittelbar und wortsinngemäß sowie Anspruch 1 des Klagepatents mittelbar und wortsinngemäß, weil der 100BASE-T1-Standard die Lehre des Klagepatents verwirkliche und weil die in den angegriffenen Ausführungsformen verbauten Chips den Standard auch insoweit implementierten.
12
Der kartellrechtliche Zwangslizenzeinwand der Beklagten verfange nicht; die Klägerin habe den Beklagten FRANDgemäße Angebote gemacht, die Beklagten seien aber nicht lizenzwillig.
13
Die Entgegenhaltungen der Beklagten seien nicht geeignet, den Bestand des Klagepatents in Zweifel zu ziehen, so dass eine Aussetzung des Rechtsstreits in Bezug auf die anhängige Nichtigkeitsklage ausscheide.
14
Die Klägerin beantragt zuletzt,
I. Die Beklagten werden verurteilt,
1. es bei Meidung eines für jeden Fall der Zuwiderhandlung fälligen Ordnungsgeldes bis zu 250.000 Euro, ersatzweise Ordnungshaft bis zu 6 Monaten oder Ordnungshaft bis zu 6 Monaten, im Wiederholungsfalle Ordnungshaft bis zu 2 Jahren, wobei die Ordnungshaft an den Vorständen und Geschäftsführern der Beklagten zu vollstrecken ist, zu
unterlassen
a) Systeme für drahtgebundene Kommunikation,
in der Bundesrepublik Deutschland anzubieten, in Verkehr zu bringen oder zu gebrauchen oder zu den genannten Zwecken einzuführen oder zu besitzen,
aufweisend:
eine lokale PHY [physische Schnittstelle], die ausgelegt ist zum Umwandeln von Media Independent Interface, MII, Ethernet-Daten von einem 4-Bit-Paketstrom in einen 3-Bit-Paketstrom;
einen Scrambler, der ausgelegt ist zum Scrambeln des 3-Bit-Paketstroms;
wobei die lokale PHY, die ausgelegt ist zum Abbilden des 3-BitPaketstroms von MII-Daten auf einen oder mehrere ternäre Bitströme zur Kommunikation an eine ferne PHY über eine oder mehrere verdrillte Leitungen eine Konfiguration hat zum, während eines IDLE-Zustands:
Abbilden binärer 3-Bit IDLE-Muster des gescrambelten 3-Bit-Paketstroms mit einem niedrigstwertigen Bit von Null auf einen ternären nicht-Null Wert des einen oder der mehreren ternären Bitströme;
Abbilden binärer 3-Bit IDLE-Muster des gescrambelten 3-Bit-Paketstroms mit einem niedrigstwertigen Bit von nicht-Null auf einen ternären Null-Wert des einen oder der mehreren ternären Bitströme,
(EP 1 903 733 B1, Anspruch 11, unmittelbare Verletzung);
insbesondere, wenn der eine oder die mehreren ternären Bitströme einen ersten ternären Bitstrom und einen zweiten ternären Bitstrom aufweisen,
(EP 1 903 733 B1, Anspruch 12, unmittelbare Verletzung); weiter insbesondere, wenn die lokale PHY ausgelegt ist zum Kommunizieren an die ferne PHY unter Verwendung von PAM-3;
(EP 1 903 733 B1, Anspruch 13, unmittelbare Verletzung); weiter insbesondere, wenn, sofern eine einzige verdrillte Leitung verfügbar ist, die lokale PHY ausgelegt ist zum Multiplexen des einen oder der mehreren ternären Bitströme in einen einzigen Strom (EP 1 903 733 B1, Anspruch 15, unmittelbare Verletzung);
b) Systeme, geeignet, ein Verfahren für drahtgebundene Kommunikation durchzuführen, Abnehmern im Gebiet der Bundesrepublik Deutschland zur Benutzung in der Bundesrepublik Deutschland anzubieten und/oder an solche zu liefern, wobei das Verfahren umfasst:
Umwandeln von Media Independent Interface, MII, Ethernet-Daten in einer lokalen PHY [physischen Schnittstelle] von einem 4-BitPaketstrom in einen 3-Bit-Paketstrom;
Scrambeln des 3-Bit-Paketstroms;
Abbilden des gescrambelten 3-Bit-Paketstroms von MII-Daten auf einen oder mehrere ternäre Bitströme zur Kommunikation an eine ferne PHY über eine oder mehrere verdrillte Leitungen, das während eines IDLE [Leerlauf]-Zustands umfasst:
Abbilden binärer 3-Bit-IDLE-Muster des gescrambelten 3-Bit-Paketstroms mit einem niedrigstwertigen Bit von Null auf einen ternären nicht-Null Wert des einen oder der mehreren ternären Bitströme;
Abbilden binärer 3-Bit IDLE-Muster des gescrambelten 3-Bit-Paketstroms mit einem niedrigstwertigen Bit von nicht-Null auf einen ternären Null-Wert des einen oder der mehreren ternären Bitströme,
(EP 1 903 733 B1, Anspruch 1, mittelbare Verletzung); insbesondere, wenn der eine oder die mehreren ternären Bitströme einen ersten ternären Bitstrom und einen zweiten ternären Bitstrom aufweisen,
(EP 1 903 733 B1, Anspruch 2, mittelbare Verletzung); weiter insbesondere, wenn das Verfahren das Kommunizieren an die ferne PHY unter Verwendung von PAM-3 umfasst,
(EP 1 903 733 B1, Anspruch 3, mittelbare Verletzung); weiter insbesondere, wenn,
das Verfahren das Multiplexen des einen oder der mehreren ternären Bitströme in einen einzigen Strom umfasst, wenn eine einzige verdrillte Leitung verfügbar ist,
(EP 1 903 733 B1), Anspruch 5, mittelbare Verletzung); weiter insbesondere, wenn das Verfahren das Einfügen von Start Stream Delimiters, SSD, vor dem einen oder den mehreren ternären Bitströmen umfasst,
(EP 1 903 733 B1, Anspruch 6, mittelbare Verletzung), weiter insbesondere, wenn das Verfahren das Einfügen von End Stream Delimiters, ESD, nach dem einen oder den mehreren ternären Bitströmen umfasst,
(EP 1 903 733 B1, Anspruch 7, mittelbare Verletzung), ebenfalls insbesondere, wenn das Verfahren das Einfügen von Leerlaufsignalen nach dem eingefügten ESD umfasst (EP 1 903 733 B1, Anspruch 8, mittelbare Verletzung);
2. der Klägerin darüber Auskunft zu erteilen, in welchem Umfang die Beklagten die zu Ziff. I.1. bezeichneten Handlungen in der Bundesrepublik Deutschland seit dem 29.10.2018 begangen haben, und zwar unter Angabe
a) der Namen und Anschriften der Hersteller, Lieferanten und anderer Vorbesitzer,
b) der Namen und Anschriften der gewerblichen Abnehmer sowie der Verkaufsstellen, für die die Erzeugnisse bestimmt waren,
c) der Menge der ausgelieferten, erhaltenen oder bestellten und hergestellten Erzeugnisse sowie der Preise, die für die betreffenden Erzeugnisse bezahlt wurden,
wobei zum Nachweis der Angaben die entsprechenden Kaufbelege (Rechnungen, hilfsweise Lieferscheine) in Kopie vorzulegen sind, wobei geheimhaltungsbedürftige Details außerhalb der auskunftspflichtigen Daten geschwärzt werden dürfen,
wobei die Auskunft samt Kaufbelegen in einer mittels EDV auswertbaren, elektronischen Form zu übermitteln ist;
3. der Klägerin darüber Rechnung zu legen, in welchem Umfang die Beklagten die zu Ziff. I.1. bezeichneten Handlungen seit dem 29.10.2018 begangen haben, und zwar unter Angabe:
a) der Herstellungsmengen und -zeiten,
b) der einzelnen Lieferungen, aufgeschlüsselt nach Liefermengen, -zeiten, -preisen und Typenbezeichnungen sowie der Namen und Anschriften der Abnehmer c) der einzelnen Angebote, aufgeschlüsselt nach Angebotsmengen, -zeiten, -preisen und Typenbezeichnungen sowie der Namen und Anschriften der Angebotsempfänger,
d) der betriebenen Werbung, aufgeschlüsselt nach Werbeträgern, deren Auflagenhöhe, Verbreitungszeitraum und Verbreitungsgebiet sowie bei Internetwerbung der Internetadressen, der Schaltungszeiträume und der Zugriffszahlen
e) der nach den einzelnen Kostenfaktoren aufgeschlüsselten Gestehungskosten und des erzielten Gewinns,
wobei die Aufstellung mit den Daten der Rechnungslegung in einer mittels EDV auswertbaren, elektronischen Form zu übermitteln ist, und wobei den Beklagten nach ihrer Wahl vorbehalten bleibt, die Namen und Anschriften der nichtgewerblichen Abnehmer und der Angebotsempfänger statt der Klägerin einem von der Klägerin zu bezeichnenden, ihr gegenüber zur Verschwiegenheit verpflichteten, in der Bundesrepublik Deutschland ansässigen, vereidigten Wirtschaftsprüfer mitzuteilen, sofern die Beklagten dessen Kosten tragen und ihn ermächtigen und verpflichten, der Klägerin auf konkrete Anfrage mitzuteilen, ob eine bestimmte Lieferung oder ein bestimmter Abnehmer oder Angebotsempfänger in der Aufstellung enthalten ist,
4.
die vorstehend zu Ziffer I.1. a) bezeichneten, seit dem 29.10.2018 in Verkehr gebrachten Erzeugnisse gegenüber den gewerblichen Abnehmer schriftlich unter Hinweis auf den gerichtlich (Urteil des… vom…) festgestellten patentverletzenden Zustand der Sache und mit der verbindlichen Zusage zurückzurufen, etwaige Entgelte zu erstatten sowie notwendige Verpackungs- und Transportkosten sowie die mit der Rückgabe verbundenen Zoll- und Lagerkosten zu übernehmen und die Erzeugnisse wieder an sich zu nehmen, wobei der Klägerin ein Muster der Rückrufschreiben sowie eine Liste der Adressaten mit Namen und postalischer Anschrift oder – nach Wahl der Beklagten – eine Kopie sämtlicher Rückrufschreiben zu überlassen ist;
5.
die unter I.1. a) bezeichneten, seit dem 29.10.2018 in Verkehr gebrachten Erzeugnisse endgültig aus den Vertriebswegen zu entfernen, indem die Beklagten diese Gegenstände wieder an sich nehmen, erforderlichenfalls deren Herausgabe mit ihr zustehenden Herausgabeansprüchen erzwingen oder nach Wahl der Klägerin die Vernichtung dieser Gegenstände beim jeweiligen Besitzer auf Kosten der Beklagten veranlassen;
6.
die in der Bundesrepublik Deutschland im unmittelbaren oder mittelbaren Besitz bzw. Eigentum der Beklagten befindlichen Erzeugnisse gemäß Ziffer I.1. a) zu vernichten, oder an einen von der Klägerin zu beauftragenden Gerichtsvollzieher zum Zwecke der Vernichtung auf Kosten der Beklagten herauszugeben.
II. Es wird festgestellt, dass die Beklagten verpflichtet sind, der Klägerin allen Schaden zu ersetzen, der ihr durch die zu Ziffer I.1. bezeichneten, seit dem 29.10.2018 begangenen Handlungen entstanden ist und noch entstehen wird.
Die Beklagten beantragen,
I. die Klage abzuweisen,
II. hilfsweise: Die Klage wird ausgesetzt bis über die parallele Nichtigkeitsklage beim Bundespatentgericht, Az. 5 Ni 35/25, oder die parallele Nichtigkeitsklage beim Einheitlichen Patentgericht, Az. UPC CFI 1039/2025, entschieden wird;
III. weiter hilfsweise: Der Unterlassungsanspruch der Klägerin (einschließlich Rückruf, Entfernung aus den Vertriebswegen, Vernichtung) ist gegenüber den Beklagten ausgeschlossen, wobei die Beklagten an die Klägerin eine angemessene Entschädigung (FRAND-Lizenz) bis zum Ende der Laufzeit des Klagepatentes zu zahlen haben.
IV. äußerst hilfsweise: Das Urteil ist für die Klägerin vorläufig vollstreckbar gegen Sicherheitsleistung in Höhe von mindestens ... nebst Teilsicherheiten für Rückruf, Entfernung aus den Vertriebswegen und Vernichtung: ... und für Unterlassung: ... und bezüglich der Kosten gegen Sicherheitsleistung in Höhe von 110% der Kosten, wenn nicht die Beklagten zuvor Sicherheit zur Abwendung der Zwangsvollstreckung in einer vom Gericht zu bestimmenden Höhe, hilfsweise in Höhe von, ... leisten.
Die Klägerin tritt dem Aussetzungsantrag entgegen.
15
Die Beklagten tragen vor, die angegriffenen Ausführungsformen verwirklichten bei korrekter Auslegung der Ansprüche weder Merkmal 11.1 noch die aus den Merkmalen 11.3, 11.3.1 und 11.3.2 bestehende Merkmalsgruppe 11.3. Darüber hinaus gehen die Beklagten davon aus, dass sich die Klägerin am englischen Wortlaut von Anspruch 11 festhalten lassen müsse, so dass es auch noch ein Merkmal 11.3.3 in Form der Wortfolge „scramble said 3-bit packet stream“ am Ende des Anspruchs gebe. Die angegriffene Ausführungsform 2 verwirkliche darüber hinaus auch Merkmal 11.2 nicht.
16
Die Beklagten erheben den kartellrechtlichen Zwangslizenzeinwand, da die Klägerin ihnen kein FRANDgemäßes Lizenzangebot gemacht habe.
17
Das Klagepatent sei zudem nicht rechtsbeständig, da der geltend gemachte Patentanspruch durch den Stand der Technik neuheitsschädlich getroffen sei. Das hiesige Verletzungsverfahren sei gemäß § 148 ZPO im Hinblick auf das anhängige Nichtigkeitsverfahren auszusetzen.
18
Im Übrigen wird auf die Schriftsätze der Parteien und Nebenintervenienten nebst Anlagen sowie das Protokoll der mündlichen Verhandlung vom 5. Februar 2026 verwiesen.

Entscheidungsgründe

19
Die zulässige Klage ist begründet. Aus der zutreffenden Auslegung der strittigen Merkmale 11.1 sowie 11.3 in Kombination mit 11.3.1 und 11.3.2 des Klagepatents (A. I.) folgt, dass der 100-BASE-T1-Standard von der Lehre des Klagepatents hinsichtlich aller Merkmale Gebrauch macht; die angegriffenen Ausführungsformen implementieren diesen Standard auch im Umfang des Klagepatents (A. II., III.). Der kartellrechtliche Zwangslizenzeinwand greift nicht durch (A. IV). Daraus ergeben sich die tenorierten Rechtsfolgen (A. V.). Eine Aussetzung des Verfahrens gemäß § 148 ZPO im Hinblick auf das Nichtigkeitsverfahren war aufgrund der Entgegenhaltungen nicht angezeigt (B.). Entsprechend waren die Nebenfolgen festzusetzen (C.).
A.
20
I.  Das Klagepatent betrifft ein System sowie ein Verfahren für einen „Ethernetanschlusscode“ mit verlängerter Reichweite (Titel sowie Abs. [0002]). Der Begriff „Ethernet“ verweist auf den vom IEEE verwalteten Standard 802.3 inklusive von dessen Weiterentwicklungen, darunter 802.3bw bzw. 100-BASE-T1.
21
1.  Die Klagepatentschrift führt zum vorbekannten Stand der Technik aus, angesichts der steigenden Anzahl an Endgeräten, die an Datennetzwerke angeschlossen seien, sowie der erforderlichen höheren Datenraten gebe es ein wachsendes Bedürfnis für neue Übertragungstechniken, die höhere Übertragungsraten in der bestehenden Infrastruktur aus Kupferkabeln ermöglichten (Abs. [0003]). Beispielsweise definiere der 802.3-Standard des IEEE die physische Schnittstelle (PHY) und die MAC-Schnittstelle für Ethernet-Verbindungen in der Form von 100 Meter langen „twisted pair“-Kupferkabeln (Kabeln mit verdrillten Adern) für Übertragungsraten von 10 Mbps, 100 Mbps, 1 Gbps und 10 Gbps. Mit jeder Steigerung der Übertragungsrate um das Zehnfache werde „ausgeklügeltere Signalverarbeitung“ erforderlich, um den 100-Meter-Standard zu halten. Eine Verlängerung über die 100 Meter hinaus benötige Glasfaser oder die Verwendung bestimmter Schalter ([Abs. [0003]). Andere Überlegungen gingen in Richtung eines Standards für eine 10 Gbps-Übertragung über „twisted pair“-Kabel. Um aber uneingeschränkte, beidseitige Übertragung bei dieser Rate zu erreichen, benötige es aufwendige digitale Signalverarbeitungstechniken, um u.a. frequenzabhängige Signalabschwächung oder Signalreflexionen zu verhindern (Abs. [0004]).
22
Wenn man die Reichweite von standardbasierten physischen Schnittstellen mit minimalen Änderungen betreffend die PHY-Infrastruktur steigere (bei Beibehaltung einer Übertragungsrate von 1 oder 10 Gbps), könnte dies jenen neue Einsatzmöglichkeiten eröffnen, zudem könnten neue physische Schnittstellen verwendet werden (Abs. [0005]).
23
Die Veröffentlichung „Kapitel 5: Digitale Übertragung im Basisband“ der Zürcher Hochschule Winterthur verweise auf die Nutzung ternärer Bitströme (siehe zu diesem Begriff sogleich) zur Verringerung der erforderlichen Bandbreite (Abs. [0005]).
24
2. Das Klagepatent stellt sich vor diesem Hintergrund die Aufgabe, einen „Ethernetanschlusscode“ mit erweiterter Reichweite bereitzustellen (Abs. [0007]).
25
3. Als Lösung stellt das Klagepatent die vorliegend geltend gemachten Ansprüche 11 und 1 vor, die sich wie folgt gliedern lassen:
26
Anspruch 11
11. System für drahtgebundene Kommunikation, wobei das System aufweist:
11.1 eine lokale PHY [physische Schnittstelle], die ausgelegt ist zum Umwandeln von Media Independent Interface, MII, Ethernet-Daten von einem 4-Bit-Paketstrom in einen 3-Bit-Paketstrom;
11.2 einen Scrambler, der ausgelegt ist zum Scrambeln des 3-Bit-Paketstroms;
11.3 wobei die lokale PHY, die ausgelegt ist zum Abbilden des 3-Bit-Paketstroms von MII-Daten auf einen oder mehrere ternäre Bitströme zur Kommunikation an eine ferne PHY über eine oder mehrere verdrillte Leitungen eine Konfiguration hat zum, während eines IDLEZustands:
11.3.1 Abbilden binärer 3-Bit IDLE-Muster des gescrambelten 3-Bit-Paketstroms mit einem niedrigstwertigen Bit von Null auf einen ternären nicht-Null Wert des einen oder der mehreren ternären Bitströme;
11.3.2 Abbilden binärer 3-Bit IDLE-Muster des gescrambelten 3-Bit-Paketstroms mit einem niedrigstwertigen Bit von nichtNull auf einen ternären Null-Wert des einen oder der mehreren ternären Bitströme.
27
Der Aufbau von Anspruch 1 entspricht demjenigen von Anspruch 11, so dass die obige Merkmalsgliederung insoweit übernommen werden kann.
28
Die Kammer geht davon aus, dass die Wortfolge „scramble said 3-bit packet stream“ am Ende der englischen Fassung von Anspruch 11 einem redaktionellen Versehen entspricht. So haben es auch die Beklagten noch in der Klageerwiderung gesehen („formelle ‚Ungenauigkeit‘“). Zwar ist die englische Fassung, in der sich die Wortfolge allein wiederfindet, die maßgebliche Fassung (Art. 70 Abs. 1 EPÜ). Allerdings ist Anspruch 11 erkennbar Anspruch 1 nachgebildet, in welchem sich die zitierte Wortfolge auch in der englischen Fassung nicht findet. Auch in der Beschreibung findet sich keine Passage, wonach der bereits gescrambelte 3-BitPaketstrom (siehe Merkmale 11.3, 11.3.1 und 11.3.2) noch einmal gescrambelt werden soll. Es wäre auch (jedenfalls ohne entsprechende Erläuterung) technisch nicht nachvollziehbar, weshalb der bereits gescrambelte 3-Bit-Paketstrom noch einmal gescrambelt werden soll, ohne dass im Anspruch von einem zwischenzeitlichen Descrambeln die Rede ist.
29
4.  Im Hinblick auf die zwischen den Parteien geführte Diskussion zur Auslegung des streitigen Merkmals 11.1 sowie der streitigen Merkmalsgruppe 11.3 sind die folgenden Ausführungen veranlasst. Die Kammer geht davon aus, dass es sich bei dem Fachmann um einen Ingenieur mit Hochschulabschluss in der Nachrichten- oder Kommunikationstechnik handelt, der über eine mehrjährige Berufserfahrung mit der Entwicklung und Standardisierung von Verfahren und Systemen für die drahtgebundene Kommunikation verfügt, namentlich mit dem Ethernet-Standard.
30
a. Das Klagepatent betrifft einen Satz an Regeln für die Übertragung von Daten in einem drahtgebundenen System. Dieser ist abgestimmt für den Einsatz in Autos. Das Klagepatent nimmt hierauf insoweit Bezug, als es an verschiedenen Stellen auf den 802.3-Standard verweist, der speziell für die Bedingungen im Automobilbereich (Erschütterungen, Temperaturunterschiede, kurze Wege, Bedeutung der Gewichtsersparnis) entwickelt wurde. Ein solches System 100 wird in Fig. 1 des Klagepatents dargestellt:
31
Die zwei Computersysteme 106a und 106b (am linken bzw. rechten Rand) kommunizieren – unter jeweiliger Zwischenschaltung der „MAC controller“ 108a und 108b sowie der „Ethernet transceiver“ 110a und 110b – über ein „twisted pair cable“ 112 miteinander. Der „Ethernet transceiver“ enthält die physische Schnittstelle „PHY“ im Sinne des Klagepatents. Hierüber sendet bzw. empfängt das Computersystem die Signale an das andere bzw. von dem anderen Computersystem.
Zwischen dem Computersystem und der physischen Schnittstelle befindet sich jeweils noch der „MAC controller“, der die Daten für das Computersystem bzw. für die Versendung aufbereitet (siehe Abs. [0054]).
32
Fig. 2 des Klagepatents enthält noch eine genauere Darstellung der Einbettung der PHY in das System:
33
Die Schnittstelle zwischen dem „MAC controller“ und dem „Ethernet transceiver“, die in Fig. 1 mit den Ziffern 114a und 114b und in Fig. 2 mit der Ziffer 208 gekennzeichnet ist, wird im Klagepatent nicht näher bezeichnet. Die Parteien streiten sich aber darüber, ob aus der Fassung von Merkmal 11.1 das Erfordernis einer bestimmten Schnittstelle folgt. In Fig. 2 wird deutlich, dass die Schnittstelle von der PHY zu trennen ist.
34
Die Merkmale des Klagepatents betreffen die Umwandlung von „Media Independent Interface, MII, Ethernet-Daten“ („Ethernet media independent interface, MII, data“) von einem 4-Bit-Paketstrom in einen 3-Bit-Paketstrom. Dies erfolgt, da ein 3-Bit-Paketstrom mit Blick auf die folgenden Vorgänge leichter handhabbar ist. Es folgt das Scrambeln des gebildeten 3-Bit-Paketstroms und das anschließende Abbilden des 3-Bit-Paketstroms auf sogenannte ternäre Bitströme. Mit diesem Begriff bezeichnet man eine Folge digitaler Signale, die drei verschiedene Zustände annehmen können (z.B. „−1“, „0“ und „+1“) (Merkmale 11.1 bis 11.3). Ein ternäres Signal kann dem Zweck dienen, Bandbreite zu sparen (siehe Abs. [0005]). Dabei streiten sich die Parteien darüber, ob aus dem Begriff „Media Independent Interface, MII, Ethernet-Daten“ auf eine bestimmte Schnittstelle zwischen der PHY und dem „MAC controller“ zu schließen ist. Zudem sollen während eines IDLE-Zustands „binäre 3-Bit IDLE-Muster des gescrambelten 3-Bit-Paketstroms“ nach bestimmten Vorgaben ebenfalls auf mindestens einen ternären Bitstrom abgebildet werden (Merkmale 11.3.1 und 11.3.2). Der Begriff des IDLE-Zustands wird in der deutschen Fassung des Klagepatents in Klammern mit „Leerlauf“ übersetzt. Die IDLE-Muster dienen der Synchronisierung des Scramblers mit dem Descrambler des Empfängers (siehe Abs. [0088]). Insoweit streiten sich die Parteien darüber, ob die IDLE-Muster Teil des in den Merkmalen 11.1 bis 11.3 erwähnten 4- bzw. 3-Bit-Paketstroms sind oder ob diese Muster sich in einem eigenen Bit-Paketstrom befinden.
35
b. Näherer Erläuterung bedarf zunächst das zwischen den Parteien streitige Merkmal 11.1.
36
Dieses Merkmal beansprucht „eine lokale PHY [physische Schnittstelle], die ausgelegt ist zum Umwandeln von Media Independent Interface, MII, Ethernet-Daten von einem 4-Bit-Paketstrom in einen 3-Bit-Paketstrom“.
37
(1) Die Beklagten vertreten die Auffassung, dass der Begriff „Media Independent Interface, MII, Ethernet-Daten“ die Art der zu verwendenden Daten auf solche beschränke, die über eine MII-Schnittstelle von der MAC-Schicht an die PHY weitergegeben werden. Der Fachmann kenne die Definition der „Media Independent Interface“ (MII) aus dem Standard IEEE 802.3u-1995, wie er vom Standard IEEE 802.3bw weitergeführt worden sei. Die „MII-Daten“ seien in Bezug auf diese Schnittstelle (im Folgenden: MII-Schnittstelle im engeren Sinne) definiert. Zum Prioritätszeitpunkt des Klagepatents seien (unstreitig) auch die Schnittstellen RGMII und SGMII bekannt gewesen, die das Klagepatent aber bewusst nicht in Bezug nehme. Soweit der PHY demnach Daten aus einer RGMII- oder SGMII-Schnittstelle zur Verfügung gestellt würden, seien dies keine Daten im Sinne von Merkmal 11.1 (RGMII steht für „Reduced Gigabit Media Independent Interface“, SGMII für „Serial Gigabit Media Independent Interface“).
38
Durch die Bezugnahme auf den Standard, wie sie durch den Begriff „Ethernet Media Independent Interface“ (in der englischen Fassung) hergestellt werde, wisse der Fachmann auch, dass die vier Bits des 4-Bit-Paketstroms parallel übertragen würden. Auch hierdurch würden Daten, die der PHY von einer SGMII-Schnittstelle übertragen werden, ausgeschlossen, weil jene Schnittstelle die Bits seriell übertrage, d.h. einzeln nacheinander.
39
(2) Die Kammer geht davon aus, dass der Begriff „Media Independent Interface, MII, Ethernet-Daten“ Daten in Bezug nimmt, die der PHY über eine Schnittstelle vom Typ „MII“ zur Verfügung gestellt werden. Dieser Typ schließt jedenfalls die Schnittstellen RGMII und SGMII mit ein. Nicht erforderlich ist demgegenüber, dass die Daten von einer MII-Schnittstelle im engeren Sinne, also so wie sie im Standard IEEE 802.3u-1995 definiert wurde, bereitgestellt werden.
40
aa. (i) Die „media independent interface“ (MII) dient dem Zweck, dass man eine Vielzahl unterschiedlicher physischer Schnittstellen an ein Computersystem anschließen kann, ohne die MAC-Komponente austauschen zu müssen (siehe Anlage B& B KE 2c). Diesen Zweck teilt sie mit den Schnittstellen RGMII und SGMII. Dementsprechend ergibt sich die Verwandtschaft der Schnittstellen RGMII und SGMII auch daraus, dass in den nachfolgend abgebildeten Datenblättern der Chips von ... (betreffend die angegriffene Ausführungsform 1; siehe Anlage CBH 14) sowie von ... (betreffend die angegriffene Ausführungsform 2; siehe Anlage BB-KE 8) die Schnittstellen RGMII und SGMII gleichrangig neben der Schnittstelle MII (sowie der Schnittstelle RMII) genannt sind; andere Schnittstellen werden dort hingegen nicht genannt.
 
 
41
Das zeigt, dass – entsprechend dem gleichen Namensbestandteil MII – prinzipiell eine Austauschbarkeit besteht, die mit Schnittstellen, welche das „MII“ nicht im Namen tragen, offenbar nicht besteht. Da die Schnittstellen RGMII und SGMII unstreitig bereits zum Prioritätszeitpunkt des Klagepatents bekannt waren, ist auf diesen Zeitpunkt bezogen nichts anderes anzunehmen. Dass das Klagepatent nicht die generische Bezeichnung „xMII“ verwendet, ist vor diesem Hintergrund unschädlich. Hieraus folgt, dass der Fachmann die Bezugnahme auf „MII“ in Merkmal 11.1 nicht eng im Sinne einer Bezugnahme auf die MII-Schnittstelle im engeren Sinne, sondern im Sinne einer Bezugnahme auf eine Schnittstelle vom Typ „MII“ versteht (vorbehaltlich der Vorgabe der Umwandlung eines 4-Bit-Paketstroms in einen 3-Bit-Paketstrom, siehe dazu sogleich unter bb.).
42
Das gilt umso mehr als die geltend gemachten Ansprüche des Klagepatents sich nicht direkt auf die Schnittstelle zwischen der PHY und der MAC-Komponente richten. Das von Anspruch 1 beanspruchte Verfahren (und entsprechend die von Anspruch 11 beanspruchte Vorrichtung) beginnt mit der Umwandlung der „Media Independent Interface, MII, Ethernet-Daten“ in der von der Schnittstelle getrennten PHY von einem 4-Bit-Paketstrom in einen 3-Bit-Paketstrom.
43
(ii) Zudem heißt es in der Beschreibung zu Fig. 2, die von der PHY verwendeten Kommunikationsmodi könnten u.a. den Standard IEEE 802.3 einschließen, seien darauf aber nicht beschränkt (Abs. [0057]). Auch soweit man annimmt, dass es bei den „Kommunikationsmodi“ um die Kommunikation zwischen der PHY und der MAC-Komponente über die Schnittstelle geht und dass diese Modi einen Rückschluss auf die Schnittstelle selbst zulassen, wird diese Kommunikation folglich nicht auf den Standard IEEE 802.3 beschränkt.
44
Soweit die Beklagten darauf verweisen, die Abs. [0085], [0086] und [0091] gäben Signale wieder (z.B. MII TXD, MII RXD, TX_EN, TX_ER), die zwar bei einer MIISchnittstelle im engeren Sinne, bei einer RGMII-Schnittstelle aber nicht existierten, genügt es festzuhalten, dass die zitierten Absätze ein Ausführungsbeispiel beschreiben. Aus diesem Grund können darin erwähnte Signale den Anspruch nicht beschränken.
45
bb. Eine Bezugnahme auf die MII-Schnittstelle im engeren Sinne könnte folglich allenfalls daraus folgen, dass Merkmal 11.1 fordert, dass die „Media Independent Interface, MII, Ethernet-Daten“ der PHY in Form eines 4-Bit-Paketstroms bereitgestellt werden. Das würde erfordern, dass andere MII-Schnittstellen (namentlich die Schnittstellen RGMII und SGMII) nicht in der Lage sind, einen solchen 4-Bit-Paketstrom bereitzustellen. In diesem Sinne führt der von den Beklagten beauftragte Gutachter Professor ... aus, die im Standard IEEE 802.3- 2000 eingeführte Datenstruktur für die MII-Schnittstelle im engeren Sinne stelle „die einzige normativ definierte MAC-PHY-Schnittstelle dar, bei der die Daten in fest getakteten 4-Bit-Verarbeitungseinheiten vorliegen“ (siehe Anlage BB-KE 17, S. 2). Deshalb verstehe der Fachmann den Begriff „Media Independent Interface, MII, Ethernet-Daten“ als Bezugnahme auf Daten, die von einer MII-Schnittstelle im engeren Sinne bereitgestellt werden.
46
Damit wird aber nicht gesagt, dass eine RGMII- oder SGMII-Schnittstelle der PHY die Daten nicht als 4-Bit-Paketstrom bereitstellen könne.
47
(i) Die Klägerin hat nachvollziehbar unter Vorlage der RGMII-Spezifikation (Anlage CBH 27) ausgeführt, dass die RGMII-Schnittstelle ebenso wie die MIISchnittstelle im engeren Sinne vier (parallele) Sende- und Empfangsleitungen aufweise (TD0 bis TD3 bzw. RD0 bis RD3):
48
Für eine Übertragung von 100 Mbps (also 100 Millionen Bits pro Sekunde) werde die Frequenz auf 25 MHz (also auf das Senden eines elektronischen Signals 25 Millionen Mal pro Sekunde) eingestellt:
49
Folglich erreiche man die Datenrate von 100 Mbps bei einer Frequenz von 25 MHz mit einer Verarbeitung von vier Bits pro Takt (4bits x 25MHz = 100 Mbps).
50
Demgegenüber haben sich die Beklagten insoweit nur auf die Aussage von Professor ... berufen, wonach die RGMII-Schnittstelle aufgrund einer eigenständigen Definition und abweichender Datenstrukturen „nicht vom Anspruch erfasst“ sei (siehe Anlage BB-KE 17, S. 5). Dies stellt kein substantiiertes Bestreiten dar, womit die zitierten Aussagen der Klägerin als zugestanden gelten, § 138 Abs. 3 ZPO.
51
(ii) Betreffend die SGMII-Schnittstelle hat die Klägerin ebenso nachvollziehbar unter Vorlage der SGMII-Spezifikation (Anlage CBH 28) ausgeführt, diese würde aus den „traditionellen“ 8-Bit-Datenpaketen der GMII einen seriellen Datenstrom erstellen und übertragen. Es gehe bei der SGMII nur darum, dass die Übertragung zwischen MAC und PHY über einzelne, serielle Leitungen stattfinde. Davor und danach arbeiteten PHY und MAC „weiterhin (wie bei der GMII) mit 8-Bit-Paketen – also zwei 4-bit-Paketen“. Bei einer auch hier gegebenen Taktfrequenz von 25 MHz würden auch bei der SGMII-Schnittstelle vier Bits pro Takt für eine Datenübertragung von 100 Mbps verarbeitet.
52
Konkret kann man folgender Grafik und der dazugehörigen Erläuterung (siehe Anlage CBH 28, S. 5) entnehmen, dass auch bei der SGMII-Schnittstelle bei einer Übertragungsrate von 100 Mbps und einer Frequenz von 25 MHz ein 4-Bit-Paketstrom anliegt. Dieser wird nur anschließend in der Komponente „PHY Transmit Rate Adaptation“ bzw. „PHY Receive Rate Adaptation“ auf einen 8-Bit-Paketstrom angepasst (Hervorhebung durch die Klägerin):
53
Man kann dem rot umrandeten Bereich am rechten Rand der Grafik entnehmen, dass die Signale der PHY über die SGMII-Schnittstelle mit einer Übertragungsrate von 100 Mbps und einer Frequenz von 25 MHz bereitgestellt werden können (in der Grafik wird die Bezeichnung „GMII Signals from 10/100/1000 PHY“ benutzt, hierbei handelt es sich aber um einen Oberbegriff, wie auch dem der Grafik vorangestellten Satz entnommen werden kann, der auf die SGMII-Schnittstelle Bezug nimmt). Im Anschluss findet dann im Kasten „PHY Receiver Rate Adaptation“ die Anpassung auf einen 8-Bit-Paketstrom statt. So wird es auch im Text unterhalb der Grafik erläutert. Wie oben bereits bei der Diskussion der RGMII-Schnittstelle festgestellt, bedeutet eine Übertragungsrate von 100 Mbps aber bei einer Frequenz von 25 MHz einen 4-Bit-Paketstrom.
54
Hierauf haben die Beklagten nicht substantiiert erwidert. Im Gutachten von Professor ... findet sich auch in Bezug auf die SGMII-Schnittstelle nur die Aussage, aufgrund einer eigenständigen Definition und abweichender Datenstrukturen sei sie „nicht vom Anspruch erfasst“ (siehe Anlage BB-KE 17, S. 5). In der Duplik selbst haben die Beklagten ohne jegliche Bezugnahme auf Anlage CBH 28 erklärt, die SGMII-Schnittstelle verarbeite „auch 8-Bit-Pakete (Oktette), die aus den deserialisierten 10-Bit-Segmenten des seriellen Bitstroms decodiert werden“ (Duplik, Rn 43). Ein solches Oktett stelle keinen 4-Bit-Datenstrom dar. Die 8-Bit-Pakete würden auch nicht aus zwei 4-Bit-Paketen zusammengesetzt. Damit sind die Beklagten dem klägerischen Vortrag aber nicht konkret und substantiiert entgegengetreten. Denn entscheidend für die Auslegung ist, dass die SGMII-Schnittstelle nach diesem Vortrag, wie aufgezeigt, der PHY zunächst einen 4-Bit-Paketstrom bereitstellen kann.
55
c. Auch die Merkmalsgruppe 11.3 ist zwischen den Parteien streitig, konkret das Verhältnis der Merkmale 11.3.1 und 11.3.2 einerseits zum Merkmal 11.3 andererseits.
56
(1) Die Beklagten vertreten die Auffassung, der in den Merkmalen 11.3.1 und 11.3.2 erwähnte 3-Bit-Paketstrom sei derselbe wie der in den Merkmalen 11.1, 11.2 und 11.3 erwähnte 3-Bit-Paketstrom. Die in den Merkmalen 11.3.1 und 11.3.2 erwähnten IDLE-Muster müssten folglich Teil des 3-Bit-Paketstroms sein, der gemäß Merkmal 11.1 aus der Umwandlung des 4-Bit-Paketstroms von „Media Independent Interface, MII, Ethernet-Daten“ stamme. Das bedeute, dass entweder im 4-Bit-Paketstrom bereits IDLE-Muster enthalten seien oder dass diese durch das Scrambeln des in den 3-Bit-Paketstrom umgewandelten 4-Bit-Paketstroms entstünden. Die Beklagten stützen sich für diese Auffassung maßgeblich auf den Wortlaut und die Struktur der Ansprüche.
57
Die Klägerin geht demgegenüber davon aus, dass es sich bei dem in den Merkmalen 11.3.1 und 11.3.2 erwähnten 3-Bit-Paketstrom, der die IDLE-Muster enthält, um einen separaten 3-Bit-Paketstrom handelt.
58
(2) Die Kammer schließt sich der Auffassung der Klägerin an. Entgegen der Auffassung der Beklagten ist der Wortlaut der Ansprüche nicht eindeutig. Die deshalb zur Auslegung heranzuziehende Beschreibung und Zeichnungen des Klagepatents sprechen für die Auslegung der Klägerin.
59
aa. Auf Basis der deutschen Fassung der Ansprüche 11 und 1 ist nur in Merkmal 11.1 von der Umwandlung „von einem 4-Bit-Paketstrom in einen 3-Bit-Paketstrom“ die Rede. In den nachfolgenden Merkmalen 11.2, 11.3, 11.3.1 und 11.3.2 wird von „des (gescrambelten) 3-Bit-Paketstroms“ gesprochen, scheinbar stets bezugnehmend auf den durch Merkmal 11.1 eingeführten 3-Bit-Paketstrom.
60
Auf Basis der englischen Fassung ist hingegen in den Merkmalen 11.2 und 11.3 die Rede vom „said (scrambled) 3-bit packet stream“, während die Merkmale 11.3.1 und 11.3.2 die Formulierung „the scrambled 3-bit packet stream“ verwenden. Die französische Fassung verwendet eine entsprechende sprachliche Differenzierung („ledit“ gegenüber „le“). Ob diese Differenzierung – wie die Beklagten meinen – darauf beruht, dass die Merkmale 11.1 bis 11.3 auf der USamerikanischen Prioritätsanmeldung basieren und daher die dort übliche Formulierung „said“ verwenden, während die erst im Erteilungsverfahren vor dem Europäischen Patentamt hinzugekommenen Merkmale 11.3.1 und 11.3.2 eine europäische Terminologie verwendeten, kann hier nicht geklärt werden. Die sprachliche Differenzierung ist jedenfalls vorhanden, und zwar in der englischen wie in der französischen Fassung. Sie lässt es als möglich erscheinen, dass „the“ eine andere Bedeutung hat als „said“, mithin dass trotz des bestimmten Artikels auf einen zweiten 3-Bit-Paketstrom Bezug genommen wird.
61
bb. Betreffend die Struktur der Ansprüche ist zu konstatieren, dass jene sich zwischen Anspruch 1 und Anspruch 11 unterscheidet. Gemäß dem als Verfahren ausgestalteten Anspruch 1 ist das von den Merkmalen 11.3.1 und 11.3.2 beanspruchte „Abbilden binärer 3-Bit IDLE-Muster des gescrambelten 3-Bit-Paketstroms“ umfasst von dem von Merkmal 11.3 beanspruchten „Abbilden (1212) des gescrambelten 3-Bit-Paketstroms von MII-Daten“ (entsprechend in der englischen und der französischen Fassung). Hierauf stützen sich die Beklagten für ihre Auffassung.
62
Gemäß Anspruch 11 hingegen hat die von Merkmal 11.3 beanspruchte „lokale PHY, die ausgelegt ist zum Abbilden des 3-Bit-Paketstroms von MII-Daten […] eine Konfiguration […] zum, während eines IDLE-Zustands: Abbilden binärer 3-Bit IDLE-Muster des gescrambelten 3-Bit-Paketstroms“ gemäß den Merkmalen 11.3.1 und 11.3.2 (wiederum entsprechend in der englischen und der französischen Fassung). Hier ist das Abbilden gemäß den Merkmalen 11.3.1 und 11.3.2 folglich nicht Teil des Abbildens gemäß Merkmal 11.3, sondern steht gleichrangig neben jenem. Dies entkräftet das Argument der Beklagten.
63
Es gibt allerdings weder vorgetragene noch sonst ersichtliche Anhaltspunkte dafür, dass die beiden Ansprüche – jenseits immanenter Differenzierungen, die aus der Ausgestaltung als Verfahrens- bzw. Vorrichtungsanspruch folgen – unterschiedlich ausgelegt werden sollten.
64
cc. Es ist für den Fachmann fernliegend anzunehmen, dass die binären 3-Bit IDLE-Muster bereits Teil des 4-Bit-Paketstroms von MII-Daten waren und dann gemeinsam mit jenen gescrambelt oder alternativ beim Scrambling des 4-Bit-Paketstroms entstanden sind. Denn das Abbilden der binären 3-Bit IDLE-Muster muss während eines IDLE-Zustands stattfinden. Es ist aber unklar, wie die zeitliche Koinzidenz zwischen IDLE-Zustand und Abbilden der binären 3-Bit IDLE-Muster sichergestellt werden soll, wenn Letztere Teil des Nutzdatenstroms sind. Mit anderen Worten: Der Fachmann wird nicht annehmen, dass während eines IDLEZustands Nutzdaten übertragen werden, zwischen denen sich auch IDLE-Muster befinden. Vielmehr spricht das im Standard beschriebene und dem Fachmann bekannte Prozedere für zwei getrennte Datenströme. Denn danach entscheidet die „PMA PHY Control“, mithin eine Komponente der PHY, ob die PHY im „normalen Modus“ arbeitet und Datenübertragung ermöglicht oder aber ob sie „spezielle Codegruppen sendet, die den IDLE-Modus kennzeichnen“ (siehe Anlage CBH 15, Abschnitt 96.4.4).
65
Vor diesem Hintergrund spielt es keine entscheidende Rolle, dass die Nebenintervenientin zu 1) dargelegt hat, man könne prinzipiell auch „Daten (Nuller“) aus einem Nutzdatenstrom scrambeln.
66
dd. Auch aus der Beschreibung und den Zeichnungen ergibt sich das Verständnis, dass die von den Merkmalen 11.3.1 und 11.3.2 beanspruchten IDLEMuster einem eigenen gescrambelten 3-Bit-Paketstrom entstammen.
67
(i) Die Beschreibung verwendet durchgehend das Szenario von IDLE-Mustern, die zwischen abgeschlossene Blöcke von MII-Daten gesetzt werden. So heißt es schon im ersten Absatz, der sich der detaillierten Beschreibung der Erfindung widmet (Abs. [0045]):
„Startstream delimiters (SSD) may be inserted before the ternary bits streams and endstream delimiters may be inserted after the ternary bits streams. Idle signals may be inserted after the ESDs [endstream delimiters] and before the start of the next frame of MII data.“
68
Diese Formulierung von MII-Datenblöcken („frame of MII data“), die unterbrochen werden von Leerlaufsignalen („idle signals“) wird in den Abs. [0046] und [0051] wiederholt. In Fig. 10 wird die Signalabfolge bildlich wie folgt wiedergegeben (Hervorhebung durch die Klägerin):
69
In der dazugehörigen Beschreibung (Abs. [0096]) heißt es, dass Ziffer 1002 („end of packet“) einem „endstream delimiter (ESD)“ entsprechen könne. Es folgten dann „idle codes transmitted between consecutive data frames”, wiederum gefolgt vom „start of packet“, gekennzeichnet durch Ziffer 1006, welches einem „startstream delimiter (SSD)“ entsprechen könne. Wenn die Nebenintervenientin zu 1) einwendet, aus Fig. 10 ergebe sich kein anderer Ursprung der IDLE-Muster als der MII-Daten, ist hierauf zu entgegnen, dass Fig. 10 ausweislich Abs. [0096] die ternären Bitströme, mithin das Endprodukt, zeigt, so dass kein Anlass besteht, in dieser Zeichnung auf den Ursprung der IDLE-Muster einzugehen.
70
Dementsprechend ist auch das Flussdiagramm, das in Fig. 12 wiedergegeben wird, gestaltet. Auch dort werden die MII-Daten und deren Scrambling (Schritte 1206 bis 1210) klar getrennt von den IDLE-Mustern (Schritt 1218):
71
(ii) Zudem gibt die Beschreibung an anderer Stelle an, wo der gescrambelte 3-Bit-Paketstrom mit IDLE-Mustern herkommen kann. So heißt es in Abs. [0088] in der Beschreibung von Fig. 7: „During an IDLE state, 3-bit binary IDLE patterns may be generated by the side stream scrambler 722.“
72
Hieraus wird deutlich, dass die IDLE-Muster einen anderen Ursprung nehmen (nämlich ganz rechts unten im „Side stream scrambler“ 722) als die MII-Daten, die links unten in den „Bit reformatter“ 716 gegeben werden. Die IDLE-Muster können mithin nach diesem Ausführungsbeispiel nicht Teil des nach Merkmal 11.1 durch Umwandlung eines 4-Bit-Paketstroms von MII-Daten erlangten 3-Bit-Paketstroms sein; denn dieser 3-Bit-Paketstrom verlässt den „Bit reformatter“ 716, ohne dass die aus dem „Side stream scrambler“ 722 stammenden IDLE-Muster Kontakt mit dem „Bit reformatter“ hätten. Zudem werden die IDLE-Muster bereits im „Side stream scrambler“ 722 gescrambelt, nicht erst im „Data scrambler“ 714. Der „Data scrambler“ 714 scrambelt mithin im „Normalbetrieb“ die vom „Bit reformatter“ stammenden MII-Daten und leitet diese dann weiter an die „Map-toternary“-Einheit 704. Im IDLE-Zustand leitet er demgegenüber die vom „Side stream scrambler“ 722 stammenden IDLE-Muster an die „Map-toternary“-Einheit 704 weiter. Im Kasten 706 „Insert SSD/ESD/IDLE“ werden dann die gescrambelten und auf ternäre Bitströme abgebildete IDLE-Muster dem von der PHY an die ferne PHY gesendeten „Informationsstrom“ hinzugefügt (siehe Abs. [0091]). Damit spricht auch Kasten 706 für die Auffassung der Klägerin, denn andernfalls müssten die IDLEMuster ja nicht erst in diesem späten Stadium dem „Informationsstrom“ hinzugefügt werden.
73
Dem steht nicht entgegen, dass der „Data scrambler“ 714 ausweislich Abs. [0085] in die Lage versetzt werden kann, aus MII-Daten einerseits und den vom „Bit scrambler“ 718 stammenden „stream of scrambler bits values“ andererseits einen „stream of data scrambler values“ zu erzeugen. Denn das ändert nichts daran, dass die Ströme von MII-Daten einerseits und den „scrambler bits values“ andererseits (die auch nach dem Verständnis der Klägerin auch IDLE-Muster darstellen können) zwei unterschiedliche Ströme sind, die vom „Data scrambler“ 714 in Abhängigkeit vom „Normalbetrieb“ einerseits und dem IDLE-Zustand andererseits im Sinne des im vorigen Absatz geschilderten Ablaufs „sortiert“ werden können. Auch in dem Fall sind die IDLE-Muster, entgegen der Auffassung der Beklagten, nicht in dem Sinne in den MII-Daten enthalten, dass sie aus jenen „extrahiert“ werden könnten.
74
Die Beklagten können auch nicht mit dem Argument durchdringen, Fig. 7 zeige ein Ausführungsbeispiel, das nicht mehr von den (im Erteilungsverfahren durch die Aufnahme der Merkmale 11.3.1 und 11.3.2 eingeschränkten) Ansprüchen umfasst sei. Denn die hier zitierte Beschreibung von Fig. 7 in Abs. [0088], gefolgt von dem Text der in den Anspruch aufgenommenen Merkmale 11.3.1 und 11.3.2, war in der ursprünglichen Anmeldung in Abs. [0068] enthalten (siehe Replik, Rn 100). Mithin sind die Merkmale unter Bezugnahme auf diesen Teil der Beschreibung auszulegen.
II.
75
Unter Berücksichtigung der zuvor dargestellten Auslegung der zwischen den Parteien streitigen Merkmale ist eine unmittelbare wortsinngemäße Verwirklichung von Anspruch 11 des Klagepatents durch den 100BASE-T-1-Standard zu bejahen. Da die angegriffenen Ausführungsformen 1 und 2 den Standard jedenfalls in dem Maße implementieren, in dem er durch das Klagepatent abgedeckt ist, verletzen sie Anspruch 11 unmittelbar und wortsinngemäß.
76
1.  Die angegriffenen Ausführungsformen 1 und 2 enthalten jeweils im Sinne von Merkmal 11 ein System für drahtgebundene Kommunikation.
77
Dieses System besteht jedenfalls aus den verwendeten Chips im Navigationssystem des bzw. in der Telematikeinheit des ... bzw. in  der Telematikeinheit des ...
78
2.  Merkmal 11.1 ist ebenfalls verwirklicht. Die Chips in den angegriffenen Ausführungsformen 1 und 2 weisen jeweils eine lokale PHY [physische Schnittstelle] auf, die ausgelegt ist zum Umwandeln von Media Independent Interface, MII, EthernetDaten von einem 4-Bit-Paketstrom in einen 3-Bit-Paketstrom.
79
a. Im 100BASE-T1-Standard ist die Einbettung der physischen Schnittstelle PHY in das System wiedergegeben (siehe Anlage CBH 15, Figure 96-1):
80
Die PHY besteht danach maßgeblich aus dem Physical Coding Sublayer PCS und dem Physical Medium Attachment PMA. Zur MAC-Komponente (in obiger Zeichnung über der PHY eingezeichnet) erfolgt die Kommunikation über eine Media Independent Interface MII. Entgegen der Auffassung der Beklagten bedeutet die Angabe „Physical Instantiation of MII is optional“ nicht, dass diese Schnittstelle optional sei, sondern nur, dass diese nicht notwendigerweise separat physisch ausgebildet sein muss (im Gegensatz zu einer Kommunikation von PHY und MACKomponente innerhalb eines Chips).
81
Der Aufbau der physischen Schnittstelle PHY selbst wird in der nachfolgenden Zeichnung wiedergegeben (siehe Anlage CBH 15, Figure 96-2; Hervorhebungen durch die Klägerin):
82
In obiger Zeichnung wird ein 4-Bit-Paketstrom von der MII-Schnittstelle an die PCS gesendet („TXD<3:0>“) bzw. wird von der PCS an die MII-Schnittstelle gesendet („RXD<3:0>“). Die Angabe „<3:0>“ steht für vier Bits (3, 2, 1, 0).
83
Die Umwandlung des 4-Bit-Paketstroms in einen 3-Bit-Paketstrom in der PCS wird in Abschnitt 96.3.3.1 des Standards und Figure 96-8 des Standards wiedergegeben (Hervorhebung durch die Klägerin):
84
b. Ob Merkmal 11.1 durch den Standard vorgegeben (so die Klägerin) oder hier nur im Sinne einer beispielhaften Ausführungsform wiedergegeben ist, solange nur am Ende dem Standard entsprechende ternäre Bitströme ausgegeben werden (so die Beklagten), kann hier offenbleiben. Denn jedenfalls verwirklichen die angegriffenen Ausführungsformen 1 und 2 Merkmal 11.1. Das spricht allerdings auch dafür, dass das Merkmal durch den Standard vorgegeben ist.
85
(1) In Bezug auf die angegriffene Ausführungsform 1, die den ... 88Q1110 mit einer RGMII-Schnittstelle aufweist, hat die Klägerin die Merkmalsverwirklichung dadurch dargelegt, dass sie auf die oben wiedergegebenen Zeichnungen und Erläuterungen des Standards verwiesen hat. Zusätzlich hat sie auf nachfolgendes Diagramm aus der Produktbeschreibung des Chips verwiesen, aus der sich die Austauschbarkeit der Schnittstellen und eine Bezugnahme auf den Standard ergibt (siehe Anlage CBH 14, S. 1):
 
86
Dem sind die Beklagten nur insoweit entgegengetreten, als sie erklärt haben, der Chip verwende die „besondere Form der RGMII-Datenübertragung (nicht MII-Daten)“. Dies stellt kein substantiiertes Bestreiten dar, so dass das klägerische Vorbringen als zugestanden gilt, § 138 Abs. 3 ZPO.
87
(2) In Bezug auf die angegriffene Ausführungsform 2, die den ... mit einer SGMII-Schnittstelle aufweist, hat die Klägerin die Merkmalsverwirklichung durch Bezugnahme auf die Produktbeschreibung des Chips dargelegt, konkret durch den Verweis darauf, dass der Chip ausweislich der Produktbeschreibung eine Datenübertragungsrate von 100 Mbps bei einer Frequenz von 25 MHz hat; das bedeutet, dass 4 Bits pro Takt verarbeitet werden (siehe bereits oben Rn 48 f.).
88
aa. Bereits auf der ersten Seite der Produktbeschreibung (Anlage BB-KE 8) zeigt das „vereinfachte Schema“ die Parameter „100 Mbps“ und „25 MHz“:
 
89
Kapitel 8 der Produktbeschreibung (Anlage BB-KE 8, S. 23) enthält die „Detailed Description“ des Chips. In Abschnitt 8.1 („Overview“, S. 23) wird der Chip als „IEEE 802.3bw compliant“ ohne jegliche Einschränkungen bezeichnet; er sei „interoperable with both BroadR-Reach PHYs and 100BASE-T1 PHYs“. Im folgenden Absatz heißt es, der Chip sei „specifically designed to operate at 100-Mbps speed“. Dies wird in Unterabschnitt 8.4.13.4 „Serial Gigabit Media Independent Interface“ (S. 40) durch die Aussage weiter konkretisiert, dass der Chip nur „100-Mbps speed“ unterstütze. Auf der folgenden Seite arbeitet die PHY in Figure 27 „SGMII Connections“ mit einem „25-MHz Crystal or CMOSlevel Oscillator“, also bei einer Frequenz von 25 MHz. Im Unterabschnitt 8.3.2 (als Teil des Abschnitts 8.3 „Feature Description“) wird ausgeführt (S. 26): „IEEE 802.3bw uses 4B3B encoding (3B4B decoding), reducing a 4-bit data path operating at 25 MHz down to a 3-bit data path operating at 33.334 MHz.” Im zweiten Absatz des Abschnitts 8.1 heißt es wiederum (S. 23), dass der Chip die ternären Symbole bei einer Frequenz von 66,667 MHz übertrage.
90
bb. (i) In der Summe zeigen diese Ausführungen, dass der Chip – entsprechend dem Vortrag der Klägerin und explizit auch im Zusammenhang mit der SGMII-Schnittstelle – im Ausgangspunkt eine Datenübertragungsrate von 100 Mbps bei einer Frequenz von 25 MHz aufweist, also einen 4-Bit-Paketstrom. Nach Umwandlung in einen 3-Bit-Paketstrom wird die Frequenz konsequenterweise auf 33,334 MHz erhöht, um die Datenübertragungsrate stabil zu halten. Der ternäre Wert bilde 1 ½ Bit ab, so dass die Frequenz weiter auf 66,667 MHz erhöht werden müsse. Folglich stellt das Zitat aus Unterabschnitt 8.3.2 keine abstrakte Bezugnahme auf den Standard dar, sondern erklärt in Kombination mit der Aussage, der Chip sei „IEEE 802.3bw compliant“, auch die Funktionsweise des Chips.
91
(ii) Entgegen der Auffassung der Beklagtenpartei ergibt sich aus dem in Abschnitt 8.2 abgedruckten „Functional Block Diagram“ (S. 24), welches hier ausschnittsweise wiedergegeben wird, nichts anderes:
92
Dort wird zwar gezeigt, dass die Daten in der „SGMII Option“ – anders als in der „MII / RGMII Option“ – nicht als 4-Bit-Paketstrom („TX_D[3:0]“) angezeigt werden. Bei dieser Anzeige handelt es sich aber um die Anzeige des Bitstroms, wie er von der MAC-Komponente in die SGMII-Schnittstelle hineinkommt bzw. aus der SGMII-Schnittstelle an die MAC-Komponente gegeben wird. Für die Weiterleitung des Bitstroms von der MII-, RMII-, RGMII- oder SGMII-Schnittstelle an die PHY, konkret deren Komponente PCS, wird links oben im Diagramm einheitlich die abstrakte Angabe „TX Data“ verwendet; zugleich werden die Komponenten PCS und PMA, an welche der Bitstrom dann geleitet wird, jeweils mit der Angabe „100BASET1“ gekennzeichnet. Danach stellt das Diagramm jedenfalls keinen Widerspruch zu den schriftlichen Schilderungen dar.
93
(iii) Der Chip muss folglich den durch die SGMII-Schnittstelle ursprünglich gebildeten 8-Bit-Paketstrom (siehe oben Rn 51) halbieren. Denn täte er es nicht, müsste die Frequenz unstreitig bei 12,5 MHz liegen, damit die einzig unterstützte Datenübertragungsrate von 100 Mbps erreicht wird. Diese Frequenz wird aber in der Produktbeschreibung des Chips an keiner Stelle erwähnt. Entsprechendes gilt für die anderen Aspekte des Vortrags der Beklagten aus der Duplik betreffend die Funktionsweise des Chips, wonach der 8-Bit-Paketstrom partitioniert werde in einen 6-Bit-Paketstrom und einen für die nächsten Arbeitsschritte „aufgesparten“ 2-Bit-Paketstrom, wobei der 6-Bit-Paketstrom dann gescrambelt und auf vier ternäre Symbole abgebildet werde, ohne dass es im Verlaufe dieses Vorgangs einen 4- oder 3-Bit-Paketstrom gebe. Dieser gesamte Vortrag der Beklagten fand ohne jegliche Bezugnahme auf die Produktbeschreibung des Chips statt.
94
Es kommt hinzu, dass der Vertreter der Nebenintervenientin zu 2) in der mündlichen Verhandlung gesagt hat, die von ihm geschilderte Funktionsweise des Chips funktioniere deshalb genauso wie der Standard, da die Bit-Reihenfolge beim Chip dieselbe sei wie nach dem Standard, und da 6 Bits „ein Vielfaches“ von 3 Bits seien (wozu angemerkt sei, dass auch 8 Bits ein Vielfaches von 4 Bits sind).
95
cc. Bei dieser Sachlage stellt der Vortrag der Beklagten kein substantiiertes Bestreiten der Merkmalsverwirklichung dar. Folglich musste auch dem hierfür angetretenen Zeugenbeweis nicht nachgegangen werden (siehe Zöller/Greger, ZPO, 36. Aufl., Vorbemerkungen zu § 284 Rn 8).
96
3. Der 802.3bw-Standard verwirklicht auch Merkmal 11.2.
97
a. Das Scrambeln des 3-Bit-Paketstroms ergibt sich aus den nochmals abgebildeten entsprechenden Abschnitten des Standards (Hervorhebung durch die Klägerin):
98
b. Für die angegriffene Ausführungsform 1 wird dies auch von den Beklagten nicht bestritten.
99
Hinsichtlich der angegriffenen Ausführungsform 2 tragen die Beklagten hingegen vor, das Merkmal sei nicht verwirklicht, weil im Chip von ... kein 3-Bit-Paketstrom gescrambelt werde, sondern sechs Bits. Ausgehend von den zu Merkmal 11.1 gemachten Feststellungen liegt aber in der Sache ein 3-Bit-Paketstrom vor. Dieser wird dann auch – was für sich genommen nicht bestritten ist – gescrambelt.
100
4. Weiterhin verwirklicht der Standard auch die Merkmalsgruppe 11.3. Die lokale PHY, die ausgelegt ist zum Abbilden des 3-Bit-Paketstroms von MII-Daten auf einen oder mehrere ternäre Bitströme zur Kommunikation an eine ferne PHY über eine oder mehrere verdrillte Leitungen, hat eine Konfiguration zum, während eines IDLE-Zustands, Abbilden binärer 3-Bit IDLE-Muster des gescrambelten 3-BitPaketstroms gemäß den Vorgaben, wie sie in den Merkmalen 11.3.1 und 11.3.2 enthalten sind.
101
a. Das Abbilden des 3-Bit-Paketstroms konkret auf zwei ternäre Bitströme ergibt sich aus den nochmals abgebildeten entsprechenden Abschnitten des Standards (Hervorhebung durch die Klägerin):
102
In der Folge werden diese ternären Bitströme gemäß dem Standard auch an eine ferne PHY über eine oder mehrere verdrillte Leitungen („twistedpair cable“) kommuniziert (Anlage CBH 15, Hervorhebung durch die Klägerin):
103
Nach dem Standard inkorporiert die PHY auch einen IDLE-Zustand (siehe Anlage CHB 15, Hervorhebung durch die Klägerin):
104
Der Standard gibt weiter an, wie die binären 3-Bit IDLE-Muster des gescrambelten 3-Bit-Paketstroms mit einem niedrigstwertigen Bit von Null auf einen ternären nicht-Null Wert des einen oder der mehreren ternären Bitströme (Merkmal 11.3.1) bzw. mit einem niedrigstwertigen Bit von nicht-Null auf einen ternären Null-Wert des einen oder der mehreren ternären Bitströme (Merkmal 11.3.2) abgebildet werden sollen.
105
Im Modus „SEND_I“, welcher das Senden von IDLE-Mustern signalisiert (siehe Anlage CBH 15, Hervorhebung durch die Klägerin), sollen die Muster entsprechend Tabelle 96-1 abgebildet werden. Das ergibt sich aus der Überschrift des nachfolgend abgebildeten Abschnitts 96.3.3.3.6 („Generation of (TAn, TBn) when tx_mode = SEND_I“), wobei „TAn, TBn“ für die beiden ternäre Ströme stehen.
106
Der in den Merkmalen 11.3.1 und 11.3.2 genannte „niedrigstwerte Bit“ ist dabei stets der an letzter Stelle des 3-Bit-Pakets stehende. Die Klägerin hat Tabelle 96-1 wie folgt beschriftet. Daraus wird die Merkmalsverwirklichung deutlich:
107
b. Für die angegriffene Ausführungsform 1 ist die Verwirklichung des Merkmals auf Basis der gefundenen Auslegung betreffend das Verhältnis von Merkmal 11.3 zu den Merkmalen 11.3.1 und 11.3.2 unstreitig. Die Beklagten bestreiten die Verwirklichung insoweit nämlich nur unter Verweis darauf, dass ihrer Meinung nach der in den Merkmalen 11.3.1 und 11.3.2 erwähnte „gescrambelte 3-Bit-Paketstrom“ derselbe sein müsse wie in den Merkmalen 11.1, 11.2 und 11.3.
108
Betreffend die angegriffene Ausführungsform 2 berufen sich die Beklagten darüber hinaus auch darauf, dass jene keinen 3-Bit-Paketstrom von MII-Daten, wie von Merkmal 11.3 gefordert, aufweise, sondern nur eine 6-Bit-Gruppe. Ausgehend von den zu Merkmal 11.1 getroffenen Feststellungen wird damit in der Sache ein 3-BitPaketstrom auf ternäre Symbole abgebildet. Jenseits dieser beiden Aspekte ist die Verwirklichung der Merkmale 11.3.1 und 11.3.2 auch für die angegriffene Ausführungsform 2 unbestritten.
III.
109
Der kartellrechtliche Zwangslizenzeinwand der Beklagtenpartei greift nicht durch.
110
Das Angebot der Klagepartei entspricht den Anforderungen an ein faires, vernünftiges und nichtdiskriminierendes Angebot (FRAND). Die Klagepartei hat durch die Vorlage von mehreren Lizenzverträgen, die sie mit Mitbewerbern der Beklagten geschlossen hat, dargelegt, dass ihr Angebot in einem zulässigen Bereich liegt.
111
Selbst wenn diejenigen Verträge als maßgebliche Vergleichslizenzverträge betrachtet werden, die von der Klagepartei mit wesentlich größeren Volumenherstellern geschlossen worden sind, liegt das maßgebliche Angebot der Klagepartei (nämlich das letzte Angebot vor dem Schluss der mündlichen Verhandlung) innerhalb des Bereichs, der als FRAND anzusehen ist (FRAND-Korridor).
112
Trotz des Vorliegens von ... aktuellen Vergleichslizenzverträgen (wobei in ... Fällen auch der betreffende Vorgängervertrag vorgelegt wurde) meint die Beklagtenpartei, dass diese Verträge für sie nicht vergleichbar seien. Diese Ansicht begründet sie damit, dass sie weniger profitabel sei als die Konkurrenten und ihre Fahrzeuge weder in den Vereinigten Staaten von Amerika noch in der Volksrepublik China verkauft werden. Dort seien ca. 80% der Patente des klägerischen Patentportfolios in Kraft und dieser Teil des Portfolios habe für die Beklagtenpartei keine Bedeutung. Deshalb sei es aus Sicht der Beklagtenpartei zwingend erforderlich, dass sie einen entsprechenden Rabatt eingeräumt bekommen müsse.
113
Nach dieser Vorstellung der Beklagtenpartei ist es so, dass für den Fall, dass zwei vergleichbare Fahrzeuge in einem Gewerbegebiet in der Bundesrepublik Deutschland auf zwei benachbarten Grundstücken von Händlern unterschiedlicher Marken angeboten werden, auf das Fahrzeug der Beklagtenpartei eine um 80% niedrigere Lizenzlast im Vergleich zum Konkurrenzfahrzeug entfalle. Dies solle so sein, weil die Beklagtenpartei keine Pkws in die USA und in die Volksrepublik China liefere.
114
Diese Argumentation der Beklagten ist nicht überzeugend, sondern Ausdruck ihrer Unwilligkeit, eine Lizenz zu marktüblichen Konditionen zu nehmen.
1. Grundsätze
115
Das Klagepatent ist für die Durchführung des 100BASE-T1 (IEEE 802.3bw-2015) Standards für Fast-Ethernet essenziell. Deshalb ist der Kartellrechtseinwand zu prüfen.
116
Die Kammer hat die Grundlagen der Behandlung des Kartellrechtseinwands in SEP-Verfahren in einem Hinweisbeschluss vom 14. Juli 2025 (7 O 64/25 und 7 O 2750/25) und in den Entscheidungen 7 O 5007/25 (ASUS I) und 7 O 4102/25 (ASUS II) dargelegt und konkretisiert. Auf diese Entscheidungen und den dort dargelegten Prüfungsmaßstab wird Bezug genommen.
117
Soweit der Bundesgerichtshof in der Entscheidung KZR 10/25 (Urteil vom 27. Januar 2026) in Rn. 89 als Obiter Dictum ausführt:
Solange noch offen ist, ob und zu welchen Konditionen ein Lizenzvertrag zustande kommt, kann zwar vom Benutzer nicht gefordert werden, dass er Zahlungen an den Patentinhaber erbringt. Sachlich angemessen ist es jedoch, dass er mit Rücksicht darauf, dass er die geschützte technische Lehre bereits benutzt, seine Lizenzbereitschaft im oben erläuterten Sinn durch die Bereitstellung einer Sicherheit zu erkennen gibt, die die Realisierbarkeit der Ansprüche des Patentinhabers aus dem abzuschließenden Lizenzvertrag gewährleistet. Zugleich wird damit sichergestellt, dass der Patentinhaber nicht das Risiko einer während der Verhandlungen eintretenden Zahlungsunfähigkeit des Benutzers trägt.
118
steht dies der Rechtsprechung der Kammer zumindest im vorliegenden Fall nicht entgegen. Denn vorliegend hat die Beklagtenpartei durch das Angebot eines Mindestbetrages deutlich gemacht, dass bei normalem Verlauf der Dinge ein Lizenzvertrag zustande kommen wird. Auch die Inhalte sind bereits festgelegt und es wird allein über den zu zahlenden Betrag gestritten (wie in den allermeisten Fällen, die vor der Kammer verhandelt worden sind). Nicht unbeachtet bleiben darf zudem, dass der Umfang der vorliegenden Lizenz bereits Ergebnis einer von der Beklagtenpartei getroffenen Auswahl ist. Sie hat sich bewusst für eine umfassende Lizenz – und nicht nur für eine auf den vorliegend relevanten Standard bezogene Lizenz – entschieden. Insofern ist auch die zu zahlende Mindestsumme Bestandteil des zwischen den Parteien bestehenden Konsenses.
119
Die Möglichkeit, dass ein Lizenzvertrag nicht zustande kommen könnte, muss im Lichte dessen als theoretisch bezeichnet werden, als im vorliegenden Fall mögliche Schadensersatzansprüche aus mehreren hundert in der Bundesrepublik Deutschland validierten Patenten der Klagepartei im Raum stehen.
120
Nicht zuletzt entspricht die Zahlung eines unstreitigen Teils auch dem im internationalen Umfeld üblichen Vorgehen, wie sich aus Interim Licence-Entscheidungen aus dem Vereinigten Königreich ergibt.
a. Verhalten beider Parteien
121
Die ersten beiden Prüfungsschritte (Verletzungshinweis und Erklärung der Lizenzwilligkeit) sind von den Parteien erfüllt worden, denn die Klagepartei hat vor der Klageerhebung einen Verletzungshinweis gegeben und die Beklagte hat ihre grundsätzliche Lizenzwilligkeit zum Ausdruck gebracht.
122
Es obliegt der Inhaberin eines Patentportfolios zu bestimmen, was für eine Lizenzierung sie anbietet. Es ist grundsätzlich möglich, Standards zu kombinieren oder eine regionale Aufteilung vorzunehmen. Die Grenze ist eine missbräuchliche Kombination verschiedener Standards oder die Kombination von standardessenziellen Patenten mit nichtstandardessenziellen Patenten. Wenn ein Patentinhaber mehrere Lizenzmodelle zur Wahl anbietet, reicht es aus, wenn mindestens ein Angebot nicht missbräuchlich ist. Vorliegend hat die Klagepartei mehrere Lizenzmodelle angeboten (unter anderem eine reine Lizenz am 100BASE-T1-Standard). Dem Begehren der Beklagtenpartei folgend haben sich die Parteien auf den Abschluss einer umfassenden Lizenz am gesamten Portfolio der Klagepartei, welches nach Angaben der Klagepartei 19.000 Patente umfasst, geeinigt und verfolgen im Verhandlungsweg auch nur noch den Abschluss eines solchen Lizenzvertrages. Zwischen den Parteien besteht Einigkeit, dass der zukünftige Lizenzvertrag so ausgestaltet sein soll, dass es eine Lump Sum-Zahlung für die Vergangenheit und eine Running Royalty-Vereinbarung für die Zukunft geben soll.
123
Die Beklagtenpartei hat auf Grundlage ihres letzten Angebots einen Betrag von ... an die Klagepartei gezahlt und eine zusätzliche Sicherheit in Form einer Bankbürgschaft in Höhe von ... (Anlagen B& B 43, 47 und 48) gestellt.
b. Überprüfung des Angebots der Klagepartei
124
Durch die Zahlung des von der Beklagten zuletzt angebotenen Betrages und das Leisten der Sicherheit hat die Beklagtenpartei die Voraussetzungen für die Überprüfung des klägerischen Angebots geschaffen.
125
Die Klagepartei hat zum Schluss den Abschluss eines Lizenzvertrages angeboten, der eine Zahlung für die Vergangenheit in Höhe von ... umfasst und einen Stückpreis für die Zukunft in Höhe von ... . Weil Gegenstand der Überprüfung lediglich das letzte Angebot der Klagepartei ist, wird hier auf die Darstellung der vorherigen Angebote verzichtet.
126
Hinsichtlich der Überprüfung dieses Angebots sind die Grundsätze der Kammerrechtsprechung zu konkretisieren:
127
Bei der Beurteilung der Lizenzwilligkeit der Beklagtenpartei ist zwischen der äußeren und der inneren Lizenzwilligkeit zu unterscheiden.
128
Die äußere Lizenzwilligkeit ist dann gegeben, wenn kein offensichtlicher Holdout vorliegt. Dies ist in der Regel dann der Fall, wenn die Beklagtenpartei einen unstreitigen Betrag bezahlt und (entsprechend den Ausführungen der Kammer in den benannten Entscheidungen) eine Sicherheit hinterlegt hat. Erst wenn dies der Fall ist, hat die Kammer das Angebot der Klagepartei inhaltlich dahingehend zu überprüfen, ob es innerhalb des zulässigen FRAND-Rahmens liegt. Wenn das Angebot innerhalb eines zulässigen Rahmens ist und nicht angenommen wird, fehlt es der Beklagtenpartei an der inneren Lizenzwilligkeit.
129
Die vorliegende Entscheidung gibt Gelegenheit, die Voraussetzungen und das Vorgehen bei einer Überprüfung eines klägerischen Angebots darzustellen.
(1) Wenn ist ein Lizenzvertrag ein für einen Vergleich geeigneter Lizenzvertrag?
130
Die Klagepartei hat im vorliegenden Verfahren eine Vielzahl von Lizenzverträgen vorgelegt. Nach Ansicht der Kammer handelt es sich dabei um geeignete Vergleichslizenzverträge, um zu bestimmen, welche Lizenzrate gegenüber der Beklagtenpartei FRAND ist.
131
Als Kriterien für die Beurteilung, ob ein Lizenzvertrag für einen Vergleich geeignet ist, sind zumindest das lizenzierte Patentportfolio, der Umfang der Lizenz (also die wirtschaftliche Größe des Lizenznehmers) und die Vergleichbarkeit der lizenzierten Produkte heranzuziehen.
(2) Grundsätze der Bestimmung der FRAND-Rate beim Vorliegen von vergleichbaren Lizenzverträgen
132
Wie genau der FRAND-Bereich zu bestimmen ist, wenn Vergleichslizenzverträge vorgelegt worden sind, hat die Kammer im Hinweisbeschluss vom 14. Juli 2025 (7 O 64/25 und 7 O 2750/25) in Grundzügen dargelegt. Wie dort ausgeführt worden ist, umfasst der zulässige Bereich das Dreifache des niedrigsten Wertes bzw. es ist eine Abweichung von 50% nach unten und nach oben von einem mittleren Wert möglich.
133
Dies wird an folgendem Zahlenbeispiel (das keinen Bezug zum vorliegenden Verfahren hat) erläutert:
134
Wenn ein Mittelwert bei 5 liegt, dann ist der FRAND-Bereich zwischen 2,5 und 7,5. Das bedeutet, dass es zulässig sein kein, dass eine sehr günstige Lizenz bei 2,5 liegt und eine sehr teure Lizenz bei 7,5. Allerdings muss es für eine solche Unterscheidung gute Gründe geben (weil sonst eine Diskriminierung vorliegen würde). Typische Gründe für eine Differenzierung sind der Umfang der Lizenz (Stückzahl/ Dauer) und das Verhalten der Beklagtenpartei. Denn eine Partei, die schnell eine Lizenz schließt, verursacht weniger Aufwand bei der Klagepartei und dies kann bei der Bestimmung des Lizenzpreises berücksichtigt werden.
135
Besonderes Augenmerk ist auf die Bestimmung des Mittelwertes zu legen. Wie bereits im Hinweisbeschluss vom 14. Juli 2025 dargelegt, beruht diese Betrachtung auf einer wertenden Entscheidung. Im Zweifel wird die zum Vergleich herangezogene Stückrate als Mittelwert anzusetzen sein. Eine andere Betrachtung kann beispielsweise bei einem Vorliegen von weiteren Verträgen veranlasst sein. Dies wird anhand des vorangegangenen Beispiels konkretisiert:
136
Ein grundsätzlich vergleichbarer Lizenzvertrag weist eine Rate von 5 aus. Es liegen aber weitere Verträge vor, die für einen Vergleich weniger geeignet sind, beispielsweise, weil sich die Größe der Unternehmen oder die Produkte unterscheiden. Dort ist aber für Produkte mit einer gewissen Ähnlichkeit eine Rate von 6 vorgesehen.
137
In einer solchen Konstellation gibt es Anhaltspunkte, dass der Wert 5 günstig ist und deshalb keinen Mittelwert darstellt. Die konkrete Berechnung würde dann so aussehen, dass die Rate innerhalb des Korridors von 1 bis 3 nicht bei 2 (dem Mittelwert) liegt, sondern bei 1,8 anzusetzen sein könnte. Bezogen auf die Konstellation mit den Werten 5 und 6 würde der Korridor dann zwischen 2,78 und 8,33 liegen.
138
Dieser Rahmen wird weiter eingeengt, wenn konkrete Vergleichslizenzverträge vorliegen. Denn dann greift der Gesichtspunkt, dass ein Lizenzgeber nicht diskriminieren darf. Konkret bedeutet dies in Zahlen:
139
Wenn bei dem ersten Beispiel ein Lizenzvertrag mit einem Wettbewerber (ähnliche Größe/ ähnliche Produkte) vorliegen würde, der bei 4,5 liegt, dann würde der grundsätzlich bestehende Bereich eingeengt werden (solange sich die lizenzsuchenden Parteien ähnlich verhalten; dazu weiter unten). Insofern hat die Kammer im Hinweisbeschluss vom 14. Juli 2025 bereits ausgeführt, dass dann lediglich eine Erhöhung von 15% möglich wäre. Der FRAND-Bereich würde also bei 5,175 (115% von 4,5) enden.
2. Anwendung dieser Grundsätze auf den vorliegenden Fall
a. Das lizenzierte Portfolio:
140
Wie ausgeführt wurde, verhandeln die Parteien zum Schluss lediglich über eine umfassende Lizenz am klägerischen Portfolio, welches nach Angaben der Klägerin 19.000 Patente umfasst. Diese Entscheidung der Parteien führt dazu, dass die besten Lizenzverträge für einen Vergleich die Verträge sind, die auch das gesamte Portfolio umfassen. Tatsächlich ist es auch so, dass alle vorgelegten Lizenzverträge mit anderen Automobilherstellern das gesamte Patentportfolio umfasst haben.
141
Insofern ist eine hohe Vergleichbarkeit hinsichtlich aller Verträge gegeben.
b. Die Struktur der Parteien der weiteren Lizenzverträge und der Produkte:
142
Die Klägerin hat u.a. Lizenzverträge mit den folgenden Herstellern von Automobilen vorgelegt:
...
143
Die Klagepartei hat zwei Lizenzverträge mit der ... vorgelegt. Der Lizenzvertrag aus dem Jahr 2020 (Anlage CBH 29) sieht eine Einmalzahlung in Höhe von ... vor. Dabei soll auf jedes Fahrzeug der Oberklasse ein Betrag von ... für weitere Fahrzeuge ... und für gewerbliche Fahrzeuge und Fahrzeuge der Marke ... ein Betrag von ... entfallen.
144
Der Lizenzvertrag aus dem Jahr 2024 (Anlage CBH 30) sieht eine Gebühr von ... pro Fahrzeug vor.
...
145
Der Vertrag aus dem Jahr 2024 (CBH 24) sieht eine Vergütung von ... für jedes Fahrzeug vor. Dabei handelt es sich vorrangig um gewerblich genutzte Fahrzeuge.
...
146
Der Vertrag aus dem Jahr 2024 sieht eine Stücklizenz von ... vor. Zugleich werden aber weitere Geschäftsbeziehungen geregelt (CBH 26).
...
147
Der Vertrag aus dem Jahr 2020 sah eine Einmalzahlung von ... für einen Zeitraum von ... vor.
...
148
Es wurden zwei Lizenzverträge mit der ... vorgelegt. In dem zeitlich früheren Vertrag aus dem Jahr 2018 (Anlage CBH 22) war eine Unterscheidung nach der Fahrzeugkategorie vorgesehen. Für Economy-Fahrzeuge wurde ein Stückpreis von ... für ein Standard-Fahrzeug wurde ein Stückpreis von ... und für ein Luxusfahrzeug wurde ein Stückpreis von ... vereinbart.
149
In dem Vertrag von 2023 (CBH 23) findet sich eine Unterscheidung nach der Fahrzeugkategorie nicht mehr. Vielmehr findet sich eine Staffelung in Bezug auf die Fahrzeugmenge, die sich aus der nachfolgenden Tabelle entnehmen lässt:
...
150
Der Vertrag aus dem Jahr 2024 (CBH 25) sieht eine Stücklizenz von ... vor.
Zusammenfassung der zum Vergleich gestellten Lizenzverträge
151
Die Klagepartei hat die wesentlichen Angaben und auch die Stückzahlen der einzelnen Hersteller in der nachfolgenden Tabelle zusammengefasst:
...
c. Berücksichtigung des von der Beklagtenpartei vorgelegten Gutachtens
152
Das von der Beklagtenpartei vorgelegte Gutachten (B& B 35) setzt sich mit den Lizenzverträgen mit der ... auseinander. Es kommt zu dem Ergebnis, dass sich diese Verträge auf folgende Stücklizenzen herunterrechnen lassen:
...
153
(1) Nach Ansicht der Kammer ist die Berechnung hinsichtlich des Unternehmens ... bereits deshalb nicht zutreffend, weil die Sachverständige auf Weisung der Beklagtenvertreter einen past release von ... Jahren berücksichtigt hat, der so nicht in dem geschlossenen Vertrag enthalten ist. Tatsächlich dürfte die entpackte Stücklizenz dieses Vertrags etwa den doppelten Betrag ausmachen.
154
Hinsichtlich de ... ist die Sachverständige von Prognosezahlen aus dem Jahr 2022 ausgegangen, die zumindest für die vergangenen Jahre deutlich über den tatsächlichen Zahlen lagen. Weil der Lizenzvertrag ein stufenweises Abfallen der Lizenzraten vorsieht, führt dies dazu, dass ein Mehr an günstigen Lizenzen den Durchschnittspreis mindert.
155
(2) Die Sachverständige hat auf die von ihr ermittelten Stückraten zudem weitere Abschläge vorgenommen. Zum einen stützt sie einen Abschlag auf eine behauptete schlechtere Rentabilität (bezogen auf Earning Before Interests and Taxes (EBIT)) der Beklagtenpartei im Gegensatz zu den Parteien der Vergleichslizenzverträge und zum anderen bemängelt sie, dass die Klagepartei keinen „PatentLandscape-Report“ vorgelegt habe, denn aus einem solchen würde sich ergeben, dass die Beklagten keine Geschäftstätigkeit auf dem USamerikanischen Markt hätten. Insgesamt seien nur 16% der Patentfamilien der Klagepartei in dem geografischen Gebiet validiert, in dem die Beklagten tätig seien. Damit würde ein Großteil der Patente im Gesamtportfolio der Klägerin im Falle einer Lizenzierung des Gesamtportfolios nicht genutzt werden und sei für die Ermittlung einer angemessenen FRAND-Lizenz nicht relevant.
156
Diese beiden Gesichtspunkte rechtfertigen die von der Beklagtenpartei gezogenen Rückschlüsse nicht.
157
aa. Hinsichtlich der unterschiedlichen Rentabilität ist bereits deshalb kein Abschlag auf einen angemessenen Lizenzbetrag gerechtfertigt, weil es nicht im Verantwortungsbereich eines Erfinders oder Patentinhabers liegt, ob ein Lizenzsuchender seine Geschäfte effizient oder weniger effizient organisiert. Dies gilt insbesondere in der vorliegenden Konstellation, wo aus kartellrechtlichen Gesichtspunkten ein Zwang zur Lizenzierung besteht. In einer solchen Situation ist ein Patentinhaber nämlich auch gegenüber schlecht wirtschaftenden Unternehmen nicht in der Lage eine Lizenzierung zu verweigern, obwohl möglicherweise bereits die Tatsache, dass eine Benutzung der Technologie durch das wenig effiziente Unternehmen erfolgt, dem Ansehen der Technologie als solcher schaden kann. Vor diesem Hintergrund ist eine Reduzierung gegenüber einem weniger rentablen Lizenznehmer nicht gerechtfertigt.
158
bb. Dass ein Abschlag auf den Lizenzsatz gerechtfertigt sein soll, weil die Beklagtenpartei nicht auf den Märkten in den USA und der Volksrepublik China tätig ist, überzeugt die Kammer nicht.
159
Zuerst hat die Sachverständige bereits nicht berücksichtigt, dass bestimmte Komponenten der Fahrzeuge der Beklagtenpartei aus den USA und aus der Volksrepublik China stammen. Das gilt beispielsweise für die Chips, in denen das patentverletzende System ausgeführt wird. Damit liegen Teile der Wertschöpfungskette auch außerhalb des eigentlichen Vertriebsgebiets der Beklagtenpartei.
160
Weiter beruht die ganze Argumentation der Beklagtenpartei auf einem falschen Verständnis von Lizenzzahlungen. Es wird der Entwicklungsaufwand und die Innovationskraft der Patentinhaber abgegolten. Dabei bestimmt sich der konkrete Beitrag unter anderem an der Zahl der Patentanmeldungen und erteilten Patente (diese Überlegung liegt der Top-Down-Analyse zu Grunde). Diese Zahl ist immer relativ zu der Gesamtzahl an vorhandenen Patenten.
161
Es ist deshalb im Ansatz irreführend, wenn die Beklagtenpartei die Ansicht vertritt, dass ein Lizenzbetrag, der für ein weltweit tätiges Unternehmen gilt, auf 16% zu kürzen ist, weil die Beklagtenpartei nur in Europa tätig ist. Dabei bleibt unberücksichtigt, dass bei einer (unzulässigen) alleinigen Betrachtung der Patente in Europa auch die Gesamtzahl der Patente geringer ist. Im Ergebnis beruht die Berechnung der Beklagten darauf, dass sie bei ihrer Kürzung den Zähler verringert, den Nenner aber gleich lässt. Dies widerspricht nicht nur grundlegenden Rechenregeln, sondern auch einem redlichen Vorgehen bei der Bestimmung von Vergleichslizenzbeträgen.
162
Im Ergebnis ist das von der Beklagtenpartei vorgelegte Gutachten deshalb nicht geeignet zu belegen, dass die Lizenzraten aus den von der Klagepartei vorgelegten Verträgen auf Grund der Unternehmens- und Vertriebsstruktur der Beklagtenpartei zu reduzieren sind.
d. Bewertung der vorgelegten Lizenzverträge hinsichtlich ihrer Vergleichbarkeit
163
Nach Ansicht der Kammer sind die Verträge mit ... bei der vergleichenden Betrachtung zurückzustellen, weil die Klagepartei Lizenzverträge vorgelegt hat, die deutlich besser vergleichbar sind.
164
In dem Vertrag mit ... sind weitere Gegenleistungen geregelt, die einen eigenen Wert haben können, was einer einfachen Vergleichbarkeit entgegenstehen könnte. Der Vertrag mit ... betrifft überwiegend gewerbliche Fahrzeuge, so dass auch insofern von einer geringeren Vergleichbarkeit auszugehen ist. Allerdings kann aus diesem Vertrag die Stückrate für die gewerblich genutzten Fahrzeuge (die wahrscheinlich eine einfachere technische Ausstattung haben) als Referenzwert zur Überprüfung des gefundenen Ergebnisses verwendet werden.
165
Hinsichtlich der Größe der Lizenznehmer ist die Beklagtenpartei am ehesten mit den Unternehmen ... vergleichbar. Nach den Angaben der Parteien hat die Beklagtenpartei im Jahr 2024 ... Fahrzeuge verkauft, ...
166
Allerdings dürften die Produkte der Beklagtenpartei nicht vollständig mit den Produkten von ... vergleichbar sein. Dabei kann dahingestellt sein, ob die genaue Ausgestaltung der Fahrzeuge eine tatsächliche Auswirkung auf den Lizenzpreis pro Einheit hat. Dagegen könnte sprechen, dass eine Unterscheidung zwischen einfachen Fahrzeugen und Premiumfahrzeugen in den früheren Verträgen mit der ... vorhanden war, sich aber eine solche Unterscheidung in den Nachfolgerverträgen nicht mehr findet.
167
Zugunsten der Beklagtenpartei werden die von der Stücklizenzrate niedrigeren Verträge mit der ... betrachtet, obwohl diese Hersteller deutlich höhere Stückzahlen verkaufen.
168
Dabei ist zu berücksichtigen, dass auch diese Volumenhersteller eine etwas andere Struktur haben als die Beklagtenpartei. Dies zeigt sich anhand der im Gutachten der Beklagtenpartei enthaltenen durchschnittlichen Verkaufspreise. Diese liegen wie folgt:
...
169
Insofern ist davon auszugehen, dass der Vertrag mit ... der am besten geeignete Vertrag für einen Vergleich ist.
e. Berechnung der konkreten FRAND-Bereiche
170
Wenn man den in dem mit ... geschlossenen Vertrag festgelegten Stückpreis von ... als Mittelwert ansetzt, würde der zulässige FRAND-Korridor unter Berücksichtigung der oben dargelegten Grundsätze zwischen ... liegen. Die Kammer geht dabei davon aus, dass diese Annahme die Beklagtenpartei sehr begünstigt, denn ... hat wesentlich höhere Stückzahlen und der durchschnittliche Verkaufspreis ist nur geringfügig höher (und im Ergebnis der gleichen Produktkategorie, nämlich Fahrzeuge ... .
171
Der so gefundene FRAND-Bereich wird auch durch den Vertrag mit  ... aus dem Jahr 2023 bestätigt. Die Kammer geht dabei davon aus, dass der Preis ... den Mittelwert darstellt, so dass sich ein FRAND-Korridor von ... ergibt.
172
Selbst wenn man den Durchschnittswert betrachtet, den die Parteien bei dem Vertrag mit ... ermittelt haben, kommt die Kammer bei zutreffender Bestimmung des richtigen Ansatzfaktors in Bezug auf den Mittelwert zu ähnlichen Ergebnissen. Insofern hat die Klagepartei die Staffelungen so aufgeschlüsselt, dass ein Durchschnittswert von ... vorliegt. Die Beklagtenpartei hat einen Wert von ... errechnet.
173
Die Kammer geht davon aus, dass es sich bei diesen Werten um sehr günstige Raten handelt. Dies ergibt sich aus dem großen Volumen des Lizenzvertrages und aus einer Gesamtschau mit den anderen Verträgen. Dabei wurde insbesondere berücksichtigt, dass in dem ersten Vertrag mit der ... die Modellgruppe ... berücksichtigt worden ist und in dem Vertrag mit ... Gewerbefahrzeuge ebenfalls mit ... berechnet worden sind. Dabei verkennt die Kammer nicht, dass in dem ersten ... Fahrzeuge der Gruppe Economy mit ... bemessen worden sind, weil die Kategorie „Standard“ bei ... .
174
Davon ausgehend geht die Kammer davon aus, dass die von den Parteien errechneten Mittelwerte (...) in dem Rahmen von 1 bis 3 bei ungefähr 1,7 (Klägerin) bzw. 1,5 (Beklagte) liegen. Daraus ergeben sich folgende FRAND-Spannbreiten:
...
175
Auf Grund des so gefundenen Ergebnisses bleibt festzuhalten, dass das Angebot der Klagepartei nach jeder Berechnung innerhalb des FRAND-Rahmens liegt, wenn auch im oberen Bereich.
f. Nicht-Diskriminierung durch das Angebot der Klagepartei
176
In welchem Umfang ein Patentinhaber an den oberen Rand des FRAND-Bereichs gehen kann, hängt vom Verhandlungsverhalten der Beklagtenpartei ab. Solange ein Lizenzsuchender deutlich untersetzte Angebote unterbreitet, besteht für den Lizenzgeber keine Verpflichtung, den obersten Rand des Rahmens zu verlassen. Denn es ist zu diesem Zeitpunkt noch nicht absehbar, wie lange sich die Lizenzverhandlungen noch hinziehen werden und in welchem Umfang dadurch nicht erstattbare Kosten bei der Klagepartei entstehen können, die Einfluss auf die Lizenzrate haben können.
g. Der Beklagtenpartei fehlt es an der inneren Lizenzwilligkeit
177
Dadurch, dass die Beklagtenpartei einen unstreitigen Betrag an die Klagepartei gezahlt hat und zudem eine Sicherheit leistete, hat sie nach außen nachvollziehbar belegt, dass sie keinen offensichtlichen Holdout betreibt. Da sie unter Bezugnahme auf ein inhaltlich nicht überzeugendes Gutachten einer von ihr ausgewählten Sachverständigen auf einer untersetzten Rate beharrt, hat sie aber zum Ausdruck gebracht, dass es ihr an einer inneren Lizenzwilligkeit fehlt. Das Angebot der Klagepartei ist vor dem Hintergrund dieses Verhaltens als FRAND zu bewerten.
3. Einwand des Zulieferers
178
Vorliegend hat die Nebenintervenientin zu 1) einen eigenen Kartellrechtseinwand erhoben. Sie hat so argumentiert, dass sie in ihren zugelieferten Produkten zum einen die Chips von ... und zum anderen von ... verbaut. ... habe aber eine Lizenz der Klagepartei an dem Standard 100BASE-T1 auf Grund eines Lizenzvertrages aus dem Jahr 2010 oder 2011, so dass insofern die patentrechtliche Erschöpfung vorliegen würde. Nach Ansicht der Nebenintervenientin zu 1) habe die weitere Chiplieferantin aus Gründen der Gleichbehandlung einen Anspruch, dass sie ebenfalls einen entsprechenden Lizenzvertrag bekomme.
179
In einem Patentverletzungsverfahren kann lediglich die Beklagtenpartei den Kartellrechtseinwand erheben. Die Beklagtenpartei hat den Einwand der Nebenintervenientin unterstützt, ihn aber nicht als eigenen Einwand geltend gemacht. Damit war dieser Einwand nicht entscheidungserheblich.“
180
IV.  Die Beklagten bieten die angegriffenen Ausführungsformen in der Bundesrepublik Deutschland an, vertreiben sie und machen damit widerrechtlich von der Lehre des Klagepatents im Sinne von § 9 S. 2 Nr. 1 PatG Gebrauch.
181
1. Der Klägerin stehen mithin Ansprüche auf Unterlassung, Auskunftserteilung und Rechnungslegung sowie Feststellung der Schadenersatzpflicht dem Grunde nach aus §§ 139 Abs. 1 und 2, 140b PatG, 242, 259 BGB zu.
182
Eine Unverhältnismäßigkeit (§ 139 Abs. 1 Satz 3 PatG), die nicht von Amts wegen geprüft wird (siehe Kammer, GRUR-RS 2022, 13480 Rn. 75 – Sprachsignalcodierer II; siehe auch Regierungsentwurf zum Entwurf eines Zweiten Gesetzes zur Vereinfachung und Modernisierung des Patentrechts, BT-Drucks. 19/25821, S. 53), haben die Beklagten insoweit nicht geltend gemacht.
183
2. Zudem stehen der Klägerin auch die Ansprüche auf Rückruf und Vernichtung gemäß § 140a Abs. 1, Abs. 3 PatG zu. Sie sind insbesondere entgegen der Auffassung der Beklagten nicht gemäß § 140a Abs. 4 PatG wegen Unverhältnismäßigkeit ausgeschlossen.
184
a. Die Beklagten berufen sich darauf, dass sich die festgestellte Rechtsverletzung „ausschließlich auf eine untergeordnete Funktionalität (des Chips) innerhalb eines technisch komplexen Gesamtprodukts (Navigation Radio Unit/Telematikeinheit) [beziehe], die ihrerseits in einem noch komplexeren Produkt (Kraftfahrzeug) verbaut ist“. Die Verletzung betreffe „nicht den Hauptbetrieb oder die wesentlichen Funktionen der Fahrzeuge“. Auch sei zu beachten, „dass eine Umgehungslösung technisch und wirtschaftlich nicht realisierbar“ sei. Die „bestehenden Datenübertragungswege [könnten] nicht einfach geändert werden, dazu wären bauliche Veränderungen in den elektronischen Einheiten erforderlich, die ihrerseits einem Rückruf gleichkämen“. Der Austausch „wäre derart kostenintensiv, dass eine Vernichtung der Fahrzeuge wirtschaftlich vorzugswürdig wäre“. In einem ähnlichen Fall (im Auto verbaute patentverletzende Scheinwerfer) habe das LG Düsseldorf eine Unverhältnismäßigkeit des Rückrufanspruchs bejaht (GRUR-RS 2022, 57352 – Signalgebungsvorrichtung).
185
Auch stehe die Klägerin „in keiner Wettbewerbsbeziehung mit den Beklagten auf dem Markt für Kraftfahrzeuge“, so dass sich das Interesse der Klägerin „größtenteils auf eine finanzielle Entschädigung“ beschränke.
186
b. Die Frage der Unverhältnismäßigkeit der Vernichtung, des Rückrufs oder der Entfernung aus den Vertriebswegen ist gemäß § 140a Abs. 4 PatG unter umfassender Berücksichtigung aller Umstände des Einzelfalls, auch unter Berücksichtigung der berechtigten Interessen Dritter, zu beantworten. Durch die Betonung „im Einzelfall“ hat der Gesetzgeber deutlich gemacht, dass die Unverhältnismäßigkeit die Ausnahme ist (siehe auch BT-Drucks. 19/25821, S. 53: „nur in besonders gelagerten Ausnahmefällen“).
187
Bei der erforderlichen Würdigung aller Umstände des Einzelfalls kann unter anderem eine Rolle spielen, ob der Patentinhaber selbst Produkte herstellt oder vertreibt, die von der technischen Lehre des Patents Gebrauch machen und mit den angegriffenen Produkten in Wettbewerb stehen, oder ob es ihm primär um die Monetarisierung seiner Rechte geht. Allerdings ist allein der Umstand, dass der Verletzte das Patent nicht selbst durch eine eigene oder lizenzierte Produktion nutzt, nicht geeignet, einen Ausschluss des Unterlassungsanspruchs zu rechtfertigen. Zu berücksichtigen sein kann ferner, ob die Ansprüche auf Rückruf und Vernichtung den Verletzer aufgrund besonderer Umstände in einem besonders hohen Maße treffen und benachteiligen. Dies kann etwa dann in Betracht kommen, wenn die Lehre des Patents nur ein untergeordnetes, nicht funktionswesentliches Bauteil eines komplexen Gesamtprodukts betrifft und eine Umgestaltung unter Verzicht auf die Nutzung dieser Lehre mit einem hohen Aufwand verbunden ist. Darüber hinaus können subjektive Elemente zu berücksichtigen sein, etwa Art und Umfang des Verschuldens. In diesem Zusammenhang kann auch die Frage Bedeutung gewinnen, ob sich der Verletzer hinreichend um eine Lizenzvereinbarung bemüht hat (siehe BGH, Urteil vom 27.01.2026, KZR 10/25, Rn. 100, unter Bezugnahme auf BT-Drucks. 19/25821).
188
Zu der Konstellation der komplexen Produkte hat sich der BGH in der Entscheidung „Wärmetauscher“ (X ZR 114/13, GRUR 2016, 1031 Rn. 40 ff.), die auch in der Regierungsbegründung zur Kodifizierung des Verhältnismäßigkeitsgrundsatzes umfassend zitiert wird, ausführlich geäußert. Dies geschah zwar im Kontext der Diskussion einer Aufbrauchfrist gegen den Unterlassungsanspruch des Patentinhabers, aber die Erwägungen des BGH können auch im hiesigen Kontext des Anspruchs auf Rückruf und Vernichtung herangezogen werden.
189
Demnach kommt eine Einschränkung des Unterlassungsanspruchs aus Verhältnismäßigkeitserwägungen nach dem BGH nur in Betracht, „wenn der unterlassungspflichtigen Partei bei sofortiger Wirkung des Untersagungsgebots unverhältnismäßige Nachteile entstünden und die befristete Fortsetzung des angegriffenen Verhaltens für den Verletzten keine unzumutbaren Beeinträchtigungen mit sich bringt“; dies kann nur „unter engen Voraussetzungen“ angenommen werden. Denn es ist „notwendige Folge des patentrechtlichen Unterlassungsanspruchs, dass der Verletzer die patentverletzende Produktion oder den patentverletzenden Vertrieb einstellen muss und das betroffene Produkt erst dann wieder auf den Markt bringen kann, wenn er sich entweder die dafür benötigten Rechte vom Patentinhaber verschafft oder das Produkt so abgewandelt hat, dass es das Schutzrecht nicht mehr verletzt, was gegebenenfalls erheblichen Zeit- und Kostenaufwand erfordern kann“ (BGH, X ZR 114/13, GRUR 2016, 1031 Rn. 40 ff. – Wärmetauscher).
190
c. Danach liegt vorliegend keine Unverhältnismäßigkeit vor.
191
(1) Zwar handelt es sich bei den Verletzungsgegenständen jeweils um ein einzelnes Element (Chip) eines in einen komplexen Liefergegenstand (Auto) eingefügten Bauteils (Navigation and Radio Unit bzw. Telecommunication Unit, im Folgenden: Elektronikeinheiten). In einer solchen Konstellation hat es der BGH im Fall „Wärmetauscher“ als einen prinzipiell gegen das Erfordernis einer Aufbrauchfrist sprechenden Aspekt angesehen, dass es sich beim dortigen Verletzungsgegenstand nicht um ein „funktionswesentliches Bauteil“, sondern um ein „Sonderausstattungsmerkmal [handelt], das die generelle Einsatzfähigkeit und Nutzbarkeit des Fahrzeugs und des Fahrzeugsitzes unberührt lässt“ (BGH, GRUR 2016, 1031 Rn. 52 – Wärmetauscher). Dort ging es um eine im Fahrzeugsitz angebrachte „gesonderte, vom Fahrzeug-Heizungs- und -Lüftungssystem getrennte Zusatzheizung“ für die Offenfahrt von Cabrios.
192
Der hiesige Fall ist insoweit anders gelagert. Bei der mit den Chips ermöglichten Ethernet-Kommunikation handelt es sich nicht lediglich um ein „Sonderausstattungsmerkmal“ im vorgenannten Sinn. Vielmehr ist eine schnelle, sichere und kabelgebundene Ethernet-Verbindung für den Betrieb selbst einfacher Fahrzeuge essenziell. Daraus ergibt sich aber auch bereits unmittelbar ein anderer gegen eine Aufbrauchfrist sprechender Aspekt, denn die im Fall „Wärmetauscher“ streitgegenständliche Zusatzheizung konnte aufgrund ihrer Ausgestaltung getrennt vom „Fahrzeug-Heizungs- und -Lüftungssystem“ unschwer vom Händler bzw. Hersteller deaktiviert werden. Das gilt im hiesigen Fall nicht. Damit steigt aber das Gewicht der Patentverletzung, da sie bei jedem Betrieb des Autos erneut stattfindet. In die Abwägung einzustellen ist weiterhin, dass die Klagepartei über mehrere standardessenzielle Patente verfügt, so dass bei einer wertenden Betrachtung auch weitere Patente der Klagepartei beim Betrieb der angegriffenen Ausführungsformen verletzt werden.
193
(2) Zudem hat der BGH die Möglichkeit einer angemessenen Lizenzierung in dem Sinne für relevant erachtet, dass eine solche Möglichkeit gegen die Unverhältnismäßigkeit spricht (aaO, Rn 52, zudem nunmehr auch im Urteil vom 27.01.2026, KZR 10/25, Rn. 100). Im vorliegenden Fall hat die Klägerin den Beklagten – wie festgestellt – ein FRANDgemäßes Lizenzangebot gemacht, während die Beklagten monatelang ohne nennenswerte Veränderung ihrer Position ein nach unten aus dem FRAND-Rahmen herausfallendes Angebot verteidigt haben. Das unterscheidet den hiesigen Fall von dem von den Beklagten zitierten Fall des LG Düsseldorf, aber auch von der „Wärmetauscher“-Entscheidung, da dort anders als hier kein gerichtlich auf seine Angemessenheit geprüftes Lizenzangebot in Rede stand.
194
Die Beklagten können aber nicht eine FRANDgemäße Lizenz ablehnen, um sich dann in Bezug auf die jeden Tag stattfindende millionenfache Patentverletzung auf die Unverhältnismäßigkeit der Beendigung dieses patentverletzenden Zustands zu berufen.
B.
195
Für eine Aussetzung der Verhandlung besteht keine Veranlassung, § 148 ZPO.
196
I. Nach ständiger Rechtsprechung der Kammern des Landgerichts München I (vgl. GRUR-RS 2023, 26656 Rn. 93; GRUR-RS 2019, 31034 Rn. 66; GRUR-RS 2019, 31037 Rn. 63; BeckRS 2018, 41093 Rn. 147) stellen ein Einspruch oder die Erhebung einer Nichtigkeitsklage als solche noch keinen Grund dar, den Verletzungsrechtsstreit auszusetzen, weil dies faktisch darauf hinauslaufen würde, dem Angriff auf das Klagepatent eine den Patentschutz hemmende Wirkung beizumessen. Das ist dem Gesetz jedoch fremd. Die Interessen der Parteien sind vielmehr gegeneinander abzuwägen, wobei grundsätzlich dem Interesse des Patentinhabers an der Durchsetzung seines erteilten Patents Vorrang gebührt. Die Aussetzung kommt deshalb nur dann in Betracht, wenn mit überwiegender Wahrscheinlichkeit ein Widerruf oder eine Vernichtung des Klagepatents zu erwarten ist.
197
Aufgrund des Vortrags der Beklagten kann nicht mit einer überwiegenden Wahrscheinlichkeit von einer Nichtigkeitserklärung des Klagepatents ausgegangen werden.
198
II.  Keine der Entgegenhaltungen der Beklagten steht dem Bestand des Klagepatents entgegen. Daher übt die Kammer das ihr eingeräumte Ermessen dahingehend aus, das Verfahren nicht auszusetzen.
199
1. Eine unzulässige Erweiterung kann nicht mit der für eine Aussetzung erforderlichen Wahrscheinlichkeit angenommen werden.
200
a. Eine gemäß § 38 PatG unzulässige Erweiterung liegt vor, wenn Schutz für eine technische Lehre beantragt wird, die nicht in der beantragten Breite und mit allen ihren Merkmalen in ihrem Zusammenwirken in den Unterlagen vom Anmeldetag offenbart wurde. Für die Beurteilung der hierauf zu untersuchenden Ursprungsoffenbarung gelten die Prinzipien der Neuheitsprüfung. Daher muss der Fachmann die im Anspruch bezeichnete technische Lehre den Ursprungsunterlagen „unmittelbar und eindeutig“ als mögliche Ausführungsform der Erfindung entnehmen können (BGH, X ZR 137/15, BeckRS 2017, 123747 Rn. 18; X ZR 107/12, GRUR 2014, 542 Rn. 21 f. – Kommunikationskanal).
201
b. Basierend auf diesem Maßstab liegt keine unzulässige Erweiterung vor.
202
(1) Die Beklagten gehen von einer unzulässigen Erweiterung zunächst deshalb aus, weil das Verständnis der Beklagten der Merkmalsgruppe 11.3 – konkret „dass im 4-Bit-Paketstrom bereits IDLE-Muster enthalten sind oder dass diese durch das Scrambeln des in den 3-Bit-Paketstrom umgewandelten 4-Bit-Paketstrom entstehen“ – aus der ursprünglichen Patentanmeldung nicht hervorgehe. Darüber hinaus werde in der ursprünglichen Anmeldung überhaupt nicht offenbart, wo die IDLE-Muster herkämen.
203
Dem kann nicht gefolgt werden. Dabei ist der nachfolgenden Diskussion die Auslegung der Merkmalsgruppe 11.3 zugrunde zu legen, wonach die IDLE-Muster in einem vom MII-Bitstrom getrennten 3-Bit-Paketstrom enthalten sind. Dieses Verständnis ist der ursprünglichen Anmeldung „unmittelbar und eindeutig“ zu entnehmen. So war die hier nochmals abgebildete Fig. 7 bereits in der ursprünglichen Anmeldung enthalten:
204
Dazu wurde in Abs. [0068] der ursprünglichen Anmeldung auch offenbart, dass die IDLE-Muster im „Side Stream scrambler“ 722 erzeugt werden können (Hervorhebung durch die Klägerin). Im Anschluss können sie dann in dem von den Beklagten angeführten Kasten 706 in den „Informationsstrom“ eingefügt werden (siehe Abs. [0071] der ursprünglichen Anmeldung, Hervorhebung durch die Beklagten).
205
(2) Des Weiteren gehen die Beklagten von einer unzulässigen Erweiterung aus, weil die Merkmale 11.3.1 und 11.3.2 eine „beliebige“ Anzahl ternärer Bitströme zuließen, während das im soeben zitierten Abs. [0068] der ursprünglichen Anmeldung erwähnte Ausführungsbeispiel sich nur auf zwei ternäre Bitströme beziehe. Zwei Bitströme seien aber technisch zwingend notwendig, da mit einem einzelnen ternären Bitstrom nur drei Zustände (hier: -1, 0, 1) abgebildet werden könnten, was zu wenig für ein 3-Bit-Paket mit insgesamt acht Zuständen sei.
206
Auch dem ist nicht zu folgen. Den Beklagten ist zwar zuzugestehen, dass Fig. 7 entgegen der Auffassung der Klägerin keine Abbildung des 3-Bit-Paketstroms aus IDLE-Mustern auf nur einen ternären Bitstrom zeigt; denn die Abbildung findet vor dem „Multiplexer“ 708 statt, der aus zwei ternären Bitströmen A und B einen einzigen Bitstrom ABAB erzeugen kann. Die Ansprüche des Klagepatents erwähnen aber unbestritten auch schon in der ursprünglichen Anmeldung stets „einen oder mehrere ternäre Bitströme“. Das erfolgte dort zwar mit Blick auf den 3-Bit-Paketstrom von MII-Daten, doch insoweit stellt sich die Frage der technischen Notwendigkeit von zwei ternären Bitströmen in gleicher Weise wie bei dem 3-Bit-Paketstrom aus IDLE-Mustern. Der Fachmann erkennt unmittelbar und eindeutig, dass die Anzahl ternärer Bitströme, auf welche der 3-Bit-Paketstrom aus IDLE-Mustern abgebildet wurde, gleich sein muss der Anzahl ternärer Bitströme, auf welche der 3-Bit-Paketstrom aus MII-Daten abgebildet wurde.
207
(3) Zuletzt gehen die Beklagten von einer unzulässigen Erweiterung deshalb aus, weil die in den Merkmalen 11.3.1 und 11.3.2 enthaltene Abbildungsvorschrift für den 3-Bit-Paketstrom aus IDLE-Mustern in der ursprünglichen Anmeldung nicht entsprechend den Merkmalen offenbart sei. So sei beispielsweise nicht ursprünglich offenbart gewesen, dass zwei ternäre Bit-Ströme einen ternären Null-Wert haben, wenn das niedrigstwertige Bit des IDLE-Musters einen Wert von nicht-Null hat, was durch das Merkmal 11.3.2 aber nunmehr umfasst sei. Das sehe man an der in Abs. [0090] der ursprünglichen Anmeldung abgebildeten Tabelle 2 (Hervorhebung durch die Beklagten):
208
Auch insoweit liegt keine unzulässige Erweiterung vor. Denn in Abs. [0070] der ursprünglichen Anmeldung wird klargestellt, dass die in Tabelle 2 angegebenen Werte für die ternären Bitströme A und B nur ein Ausführungsbeispiel darstellten, in welchem die Werte „0, 0“, „1, 1“ und „-1, -1“ im IDLE-Zustand nicht benutzt werden müssten (Hervorhebung durch die Klägerin):
209
Aus der Gesamtschau der Abs. [0068] und [0070] sowie Tabelle 2 erkennt der Fachmann unmittelbar und eindeutig, dass namentlich die Werte „0, 0“ für die ternären Bitströme ebenfalls möglich sind.
210
2.  Es kann auch nicht mit der für eine Aussetzung erforderlichen Wahrscheinlichkeit angenommen werden, dass die Erfindung in der Patentschrift nicht ausführbar offenbart ist.
211
a. Gemäß § 34 Abs. 4 PatG ist die Erfindung so deutlich und vollständig zu offenbaren, dass ein Fachmann sie ausführen kann. Die Ausführbarkeit der mit der Anmeldung offenbarten Erfindung ist dann gegeben, wenn der Durchschnittsfachmann auf Grund der in der Anmeldung enthaltenen Informationen in der Lage ist, unter Inanspruchnahme des von ihm zu erwartenden Informations- und Wissensstandes und des allgemeinen Fachwissens und mit Hilfe der vom Anmelder aufgezeigten Ausführungswege die Lehre zum technischen Handeln, die in den Anmeldungsunterlagen beschrieben und beansprucht ist, zuverlässig, wiederholbar und ohne Umwege in die Praxis umzusetzen, ohne dabei einen unzumutbaren Aufwand treiben und eine unangemessene Zahl anfänglicher Fehlschläge hinnehmen zu müssen (BGH, X ZR 15/19, GRUR-RS 2020, 42976 Rn. 44 – L-Aminosäureproduktion; BGH, X ZR 58/17, BeckRS 2019, 8809 Rn. 41 – Dampftrockner; BGH, Xa ZR 126/07, GRUR 2010, 916, 918 – Klammernahtgerät).
212
b. Basierend auf diesem Maßstab ist die Lehre des Klagepatents ausführbar offenbart.
213
(1) Die Beklagten rügen zunächst die mangelnde Ausführbarkeit, weil dem Klagepatent nicht zu entnehmen sei, wie die von Merkmal 11.1 abgedeckte Umwandlung des 4-Bit-Paketstroms in einen 3-Bit-Paketstrom konkret erfolgen soll, namentlich ob ein Informationsverlust in Kauf genommen oder ob dies vermieden werden soll.
214
Dem kann nicht gefolgt werden. Der Fachmann erkennt gemäß dem oben wiedergegebenen Maßstab, dass der 4-Bit-Paketstrom ohne Informationsverlust dergestalt in einen 3-Bit-Paketstrom umgewandelt wird, dass Vierergruppen zu Dreiergruppen umsortiert werden. Das schildern die Beklagten in der Klageerwiderung im Kontext des Einwands der fehlenden erfinderischen Tätigkeit selbst wie folgt:
215
(2) Weiter gehen die Beklagten von einer mangelnden Ausführbarkeit deshalb aus, weil Merkmal 11.3 auch das Abbilden des 3-Bit-Paketstroms auf nur einen ternären Bitstrom erfasse, was aber „unweigerlich“ einen Informationsverlust zur Folge hätte, da ein ternärer Bitstrom nur drei Zustände (-1, 0, 1) kenne, während ein binärer 3-Bit-Paketstrom acht Zustände (2x2x2) darstellen könne. Es müssten daher zwingend zwei ternäre Bitströme vorliegen, die insgesamt neun Zustände (3x3) darstellen könnten.
216
Auch aus diesem Vortrag folgt nicht eine mangelnde Ausführbarkeit. Denn wie die Klägerin unwidersprochen und plausibel dargelegt hat, kann der 3-Bit-Paketstrom auch auf „zwei ternäre Bits bzw. ein ternäres 2-Bit Symbol“ abgebildet werden, nicht nur auf ein ternäres Bit. Die Merkmale 11.3.1 und 11.3.2 lassen das zu. Zwei ternäre Bits können aber neun Werte abbilden (32).
217
3.  Auch das Fehlen erfinderischer Tätigkeit kann nicht mit der für eine Aussetzung erforderlichen Wahrscheinlichkeit angenommen werden.
218
a. Der Gegenstand einer Erfindung beruht dann nicht auf erfinderischer Tätigkeit bzw. ist dann naheliegend, wenn der Fachmann mit seinen durch seine Ausbildung und berufliche Erfahrung gewonnenen Kenntnissen und Fähigkeiten in der Lage war, die erfindungsgemäße Lösung des technischen Problems aus dem Vorhandenen zu entwickeln. Darüber hinaus bedarf es regelmäßig zusätzlicher, über die Erkennbarkeit des technischen Problems hinausgehender Anstöße, Hinweise, Anregungen oder sonstiger Anlässe dafür, die Lösung des technischen Problems gerade auf dem Weg der Erfindung zu suchen (BGH, X ZR 56/16, BeckRS 2018, 13279 Rn. 49 f. – Patentfähigkeit eines Tongebers für Einparkhilfesysteme von Fahrzeugen; BGH, X ZR 65/05, GRUR 2010, 407 Rn. 17 – Einteilige Öse; BGH, Xa ZR 92/05, BeckRS 2009, 12874, Rn. 20 – Betrieb einer Sicherheitseinrichtung). Regelmäßig ist dafür erforderlich, dass entweder im Stand der Technik schon ein Hinweis auf die Lösung vorhanden war oder dass die Lösung als ein generelles, für eine Vielzahl von Anwendungsfällen in Betracht zu ziehendes Mittel ihrer Art nach zum allgemeinen Fachwissen der angesprochenen Fachperson gehört (BGH, X ZR 139/10, GRUR 2014, 647 Rn. 26 – Farbversorgungssystem).
219
b. Unter Berücksichtigung dieser Grundsätze beruht der Gegenstand der Ansprüche 1 und 11 des Klagepatents auf erfinderischer Tätigkeit.
220
(1) Die Beklagten nehmen als Ausgangspunkt des Einwands fehlender erfinderischer Tätigkeit den Artikel „Kapitel 5: Digitale Übertragung im Basisband“ der Zürcher Hochschule Winterthur (Anlage B& B KE 12/PP5, im Folgenden: PP5). Dieser Artikel wird auf dem Deckblatt des Klagepatents sowie in Abs. [0005] als Stand der Technik referiert.
221
Die PP5 verfolgt das Ziel der Leitungscodierung, bei der durch gezielte Verformung des Signalspektrums das zu übertragende digitale Datensignal an den Kanal angepasst werden soll. Dabei seien verschiedene Gesichtspunkte zu beachten (u.a. die Kompaktheit des Signalspektrums). Die PP5 stellt vor diesem Hintergrund verschiedene „Codes“ vor und bewertet sie anhand der genannten Gesichtspunkte. Einer dieser Codes sind gemäß Abschnitt 5.3.9 die ternären und quaternären Codes.
222
Im Erteilungsverfahren für das Klagepatent wurde die erfinderische Tätigkeit auf Basis der Merkmale 11.1, 11.2 und 11.3 zunächst verneint, wie nachfolgendem Auszug aus dem Recherchenbericht zu entnehmen ist, auf den sich die Beklagten berufen (D1 entspricht der PP5):
223
Die Beklagten tragen weiter vor, der Fachmann werde dann durch folgende Textstelle auf S. 7 der PP5 dazu veranlasst, für die Merkmale 11.3.1 und 11.3.2 die PP6 zu konsultieren, um „eine alternative Abbildungsvorschrift für das 3B/2T Codierungsschema im IDLE-Zustand zu berücksichtigen“ (Hervorhebung durch die Beklagten):
224
Bei der PP6 (Anlage B& B KE 13) handelt es sich um die deutsche Übersetzung der europäischen Patentschrift 0 731 586 B1, die sich auf ein „Verfahren und Codierer zum Codieren von Daten“ bezieht.
225
(2) Auf Basis dieses Vortrags kann die erfinderische Tätigkeit nicht verneint werden.
226
aa. Dabei kann dahingestellt werden, ob Merkmal 11.3 durch die PP5 nahegelegt ist. Das ergibt sich jedenfalls nicht aus dem zitierten Ausschnitt des Recherchenberichts, weil sich darin keine Ausführungen zum IDLE-Zustand finden (dieser war damals wohl noch nicht Teil des Anspruchs).
227
bb. Denn jedenfalls hatte der Fachmann keinen Anlass, die PP6 heranzuziehen, um zu den Merkmalen 11.3.1 und 11.3.2 zu gelangen.
228
Die von den Merkmalen 11.3.1 und 11.3.2 abgedeckten IDLE-Muster dienen der Synchronisierung des Scramblers mit dem Descrambler des Empfängers (siehe Abs. [0088] des Klagepatents). Die Beklagten setzen die Synchronisierung gleich mit dem „ständigen Vorhandensein von Taktinformation“, über welches die PP5 sagt, dass der 3B2T-Code dieses nicht garantieren könne (siehe den zitierten Abschnitt aus der PP5, oben Rn 223). Die PP5 schlägt dann aber unmittelbar an dieser Stelle als Abhilfe ein Scrambling vor (siehe oben Rn 223).
229
Selbst wenn der Fachmann trotz dieses Lösungsvorschlags als Alternative eine Synchronisierung mittels IDLE-Mustern herangezogen hätte (sei es aufgrund der diesbezüglichen Ausführungen in Abschnitt 5.3.11 der PP5, sei es aufgrund seines allgemeinen Fachwissens), hätte er keinen Anlass gehabt, die PP6 heranzuziehen. Diese beschäftigt sich allgemein mit einem „Verfahren zum Codieren von binären Daten zur Kommunikation […], bei dem aufeinanderfolgende binäre Ziffern mit einem ersten oder einem zweiten binären Wert als einer von drei Signalpegeln codiert werden“ (S. 3 Zeile 30-34 der PP6). Zu diesem Zweck offenbart sie die Umwandlung eines 5-Bit-Stroms in einen 6-Bit-Strom, um jenen dann auf sechs ternäre Werte abzubilden. Dazu wird Fig. 1 der PP6 abgebildet:
230
Damit weist die PP6 aber keinerlei Bezug zu einem IDLE-Zustand auf, was Anlass für den Fachmann sein könnte, um dort zu recherchieren, wie die IDLE-Muster auf ternäre Symbole abgebildet werden könnten.
231
Selbst wenn der Fachmann die PP6 aber konsultierte, um daraus Erkenntnisse für die Abbildung von IDLE-Mustern auf ternäre Symbole zu ziehen, würde er dadurch nicht zu den Merkmalen 11.3.1 und 11.3.2 gelangen. Denn die Abbildung jedes einzelnen Bits einer 6-Bit-Gruppe auf ein ternäres Symbol unterscheidet sich von der Lösung des Klagepatents, wonach nicht jedes Bit des 3-Bit-Paketstroms, sondern nur das niedrigstwertige Bit des 3-Bit-Paketstroms – in Vertretung des Pakets – auf ein ternäres Symbol abgebildet wird.
232
cc. Wieso der Fachmann die Entgegenhaltungen PP8 und PP11 (dabei handelt es sich ausweislich der Nichtigkeitsklage, Anlage B& B KE 10, um eine japanische bzw. USamerikanische Patentschrift) hätte heranziehen sollen, aus denen sich laut Vortrag der Beklagten die Abbildevorschrift der Merkmale 11.3.1 und 11.3.2 ergeben, ist nicht vorgetragen.
C.
233
I.  Die Kostenentscheidung folgt aus § 91 ZPO.
234
II.  Die Entscheidung über die vorläufige Vollstreckbarkeit hat ihre Grundlage in § 709 ZPO. Bei der Höhe der Sicherheitsleistung war zu berücksichtigen, dass die Sicherheitsleistung dazu dient, das Risiko abzudecken, dass entweder die Beurteilung der Verletzung in einer höheren Instanz anders ausfällt oder das Klagepatent im Nichtigkeitsverfahren vernichtet wird. In beiden Fällen müsste die Klägerin Schadensersatz für die durch die Vollstreckung entstehenden Folgen leisten. Die Höhe der Sicherheit ist deshalb grundsätzlich so zu bemessen, dass die Schäden, die die Beklagten durch die Vollstreckung eines später aufgehobenen Urteils erleiden können, abgedeckt sind (§ 717 Abs. 2 ZPO).
235
Im vorliegenden Fall bemisst sich die Sicherheitsleistung nicht an dem drohenden Umsatzausfall der Beklagten, sondern an den Kosten, die den Beklagten entstehen können, weil sie gegebenenfalls von der Klagepartei aus mehreren Patenten in Anspruch genommen werden müssen, bis letztlich ein Klagepatent gefunden ist, welches rechtskräftig als verletzt und rechtsbeständig angesehen wird. Für die Herleitung dieses Ansatzes wird auf das Urteil der Kammer vom 30.10.2025 (7 O 1297/25, GRUR-RS 2025, 31966) verwiesen. Die Klägerin ist Inhaberin mehrerer hundert Patente, die allein in Deutschland validiert sind.
236
1.  Diesen zusätzlichen Aufwand hat die Kammer hinsichtlich des Unterlassungsanspruchs mit 7.500.000,00 EUR angesetzt. Auf Grund der dogmatischen Herleitung der Sicherheitsleistung spielt die kurze Restlaufzeit des Klagepatents keine Rolle. Ein weitergehendes Sicherungsbedürfnis der Beklagten ist insoweit nicht ersichtlich.
237
2.  Hinsichtlich der Auskunfts- und Rechnungslegungspflicht war eine Sicherheitsleistung von insgesamt 50.000,00 EUR ausreichend, aber auch erforderlich.
238
3.  Hinsichtlich der Ansprüche auf Rückruf, Vernichtung und Entfernung aus den Vertriebswegen hat die Kammer eine gemeinsame Sicherheitsleistung von 10.000.000,00 EUR angesetzt.
239
Erneut ist insoweit zu betonen, dass dieser Betrag nicht die Kosten abdecken soll, die den Beklagten aufgrund dieser Ansprüche der Klägerin entstehen, sondern die Kosten, die den Beklagten entstehen können, weil sie gegebenenfalls von der Klagepartei aus mehreren Patenten in Anspruch genommen werden müssen, bis letztlich ein Klagepatent gefunden ist, welches rechtskräftig als verletzt und rechtsbeständig angesehen wird.
240
Dabei steigen diese Kosten im Zweifel entsprechend der Höhe der wirtschaftlichen Interessen, auf welche die Klägerin bei der Durchsetzung ihrer Patente stößt. Mit anderen Worten: Die wirtschaftliche Bedeutung, welche die Ansprüche auf Rückruf, Vernichtung und Entfernung aus den Vertriebswegen für die Beklagten haben, führt im Zweifel auf ihrer Seite zu höheren Kosten. Insofern können hier Kosten gegenüber Dritten entstehen. Gleichzeitig ist es in hohem Maße wahrscheinlich, dass die Klägerin angesichts der Vielzahl ihr zustehender Patente, der im Raum stehenden hohen Schadensersatzforderungen und der Aussicht auf Lizenzgebühren gegebenenfalls aus mehreren Patenten gegen die Beklagten vorgeht und auf diese Weise die benannten erhöhten Kosten vermehrt.
241
Vor diesem Hintergrund erscheint eine gegenüber der Sicherheitsleistung für den Unterlassungsanspruch weitere Sicherheitsleistung von 10.000.000,00 EUR angemessen, aber auch ausreichend.