Inhalt

LG München I, Endurteil v. 22.01.2026 – 7 O 4102/25
Titel:

Leistung einer Sicherheit als Umstand zur Beurteilung der Lizenzwilligkeit

Normenketten:
PatG § 9 S. 2 Nr. 1, § 139 Abs. 1, 2, § 140a Abs. 3, § 140b
BGB § 242, § 259
ZPO § 148
Leitsätze:
1. Bei der Beurteilung der Lizenzwilligkeit kommt der Leistung einer Teilzahlung durch den Lizenzsuchenden eine besondere Bedeutung zu. Diese Teilzahlungspflicht gilt in einer Situation, in der zwischen den Parteien unstreitig ist, dass der Lizenzsuchende eine Zahlung zu leisten hat und allein die Höhe streitig ist. Dann ist jedenfalls der zwischen den Parteien unstreitige Betrag an den Patentinhaber zu zahlen, und zwar so, dass er dauerhaft beim Patentinhaber verbleibt (Fortführung von LG München I, GRUR-RS 2026, 791 – Wi-fi-6-fähige Geräte). (Rn. 116) (redaktioneller Leitsatz)
2. Neben die Verpflichtung zur Zahlung eines unstreitigen Teilbetrages kann eine Verpflichtung zum Leisten einer Sicherheit treten. Wann dies der Fall ist, bestimmt sich nach dem Einzelfall und ist abhängig von der Höhe der Differenz der beiden Angebote in absoluten Zahlen und Prozenten (Fortführung von LG München I, GRUR-RS 2026, 791 – Wi-fi-6-fähige Geräte). (Rn. 116) (redaktioneller Leitsatz)
3. Eine ergänzende Sicherheit ist dann erforderlich, wenn das Angebot der Beklagtenpartei weniger als 60 % der Forderung der Klagepartei beträgt und die Differenz mehr als 10 Mio. US$ ausmacht. In einem solchen Fall hat die Beklagtenpartei eine Sicherheit zu leisten, die – soweit es um eine Lump-Sum-Lizenz geht – auf den Betrag entfällt, der einem Lizenzjahr entspricht (Fortführung von LG München I, GRUR-RS 2026, 791 – Wi-fi-6-fähige Geräte). (Rn. 117) (redaktioneller Leitsatz)
4. Etwas anderes gilt allerdings, wenn eine Beklagtenpartei vor einem anderen Gericht in einer anderen Jurisdiktion eine Ratenfestsetzung erwirkt hat oder erwirken möchte. Dann hat die Partei, die eine Ratenfestsetzung beantragt hat, den von dem angerufenen Gericht festgesetzten Betrag in Ergänzung zu der Teilzahlung als Sicherheit zu leisten hat, und zwar unabhängig, ob die in der anderen Jurisdiktion beklagte Partei dem Vorschlag des dortigen Gerichts zugestimmt hat oder nicht (Fortführung von LG München I, GRUR-RS 2026, 791 – Wi-fi-6-fähige Geräte). (Rn. 118 und 119) (redaktioneller Leitsatz)
Schlagworte:
Patentverletzung, Standardessenzielle Patente, FRAND-Lizenzierung, Zwangslizenzeinwand, Videokodierungsstandard, Vergleichslizenzverträge, Merge-Liste
Fundstelle:
GRUR-RS 2026, 1112

Tenor

I. Die Beklagten werden verurteilt,    
1. es bei Meidung eines für jeden Fall der Zuwiderhandlung festzusetzen den Ordnungsgeldes bis zu 250.000,00 EUR - ersatzweise Ordnungshaft - oder einer Ordnungshaft bis zu sechs Monaten, im Falle wieder holter Zuwiderhandlung bis zu insgesamt zwei Jahren, wobei die Ordnungshaft hinsichtlich der Beklagten an ihren gesetzlichen Vertretern zu vollziehen ist, zu unterlassen,
zu unterlassen
Vorrichtungen, die Mittel zur Durchführung des folgenden Verfahrens umfassen:
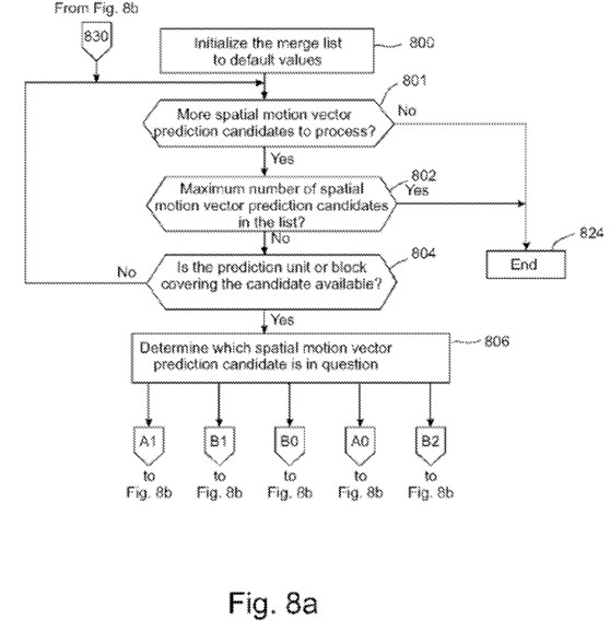
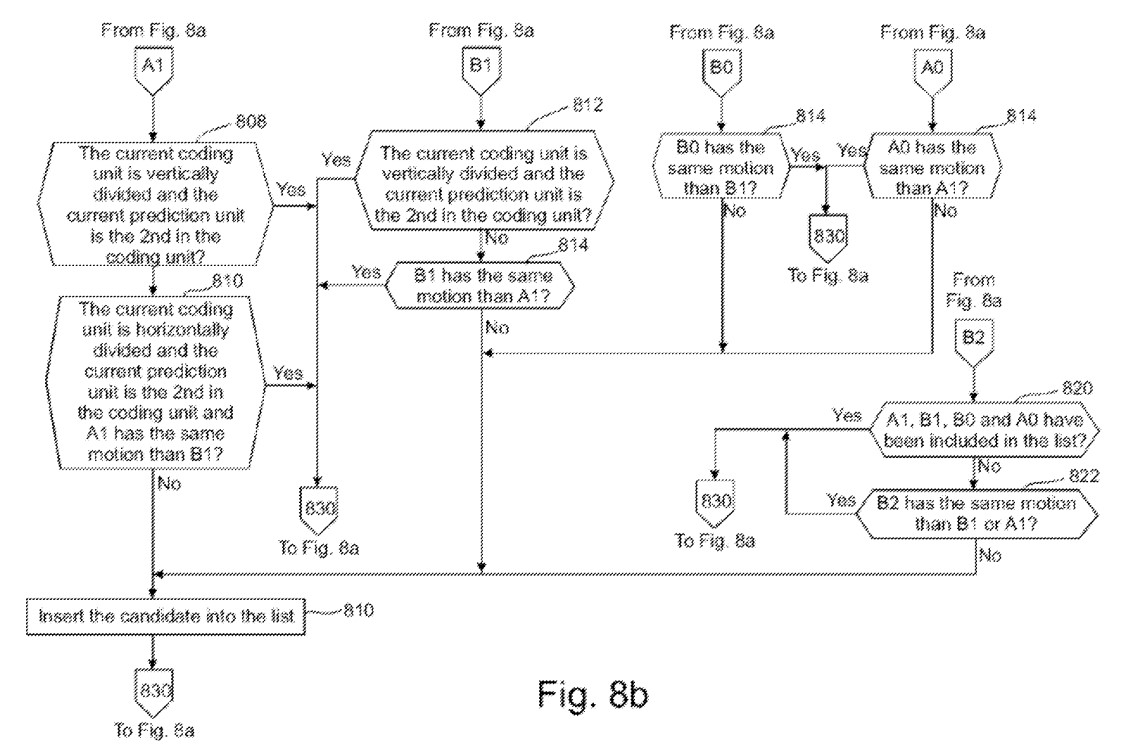
Empfangen eines kodierten Blocks von Pixeln, der eine Vorhersageein heit einschließt;
Bestimmen eines Satzes von räumlichen Bewegungsvektorvorher sagekandidaten, die sich unten links (901), links (902), oben links (905), oben (904) und oben rechts (903) von der Vorhersageeinheit befinden, für den kodierten Block (900) von Pixeln; wobei die räumlichen Bewe gungsvektorvorhersagekandidaten mit Bewegungsinformationen ver sehen sind, die mindestens einen Bewegungsvektor und einen Refe renzindex umfassen; Bestimmen eines Untersatzes von räumlichen Bewegungsvektorvorhersagekandidatenpaaren unter existierenden räumlichen Bewegungsvektorvorhersagekandidatenpaaren zum Ver gleich unter allen verfügbaren räumlichen Bewegungsvektorvorher sagekandidatenpaaren in dem Satz von räumlichen Bewegungsvektor vorhersagekandidaten; Auswählen eines räumlichen Bewegungsvek torvorhersagekandidaten aus dem Satz von räumlichen Bewegungs vektorvorhersagekandidaten als einen potenziellen räumlichen Bewe gungsvektorvorhersagekandidaten, der in eine Merge-Liste für die Vor hersageeinheit einzuschließen ist;
Überprüfen des Untersatzes von räumlichen Bewegungsvektorvorher sagekandidatenpaaren, um zu bestimmen, welcher andere räumlichen Bewegungsvektorvorhersagekandidat als der ausgewählte räumliche Bewegungsvektorvorhersagekandidat als zum selben räumlichen Be wegungsvektorvorhersagekandidatenpaar gehörend definiert ist;
Vergleichen von Bewegungsinformationen des ausgewählten räumlichen Bewegungsvektorvorhersagekandidaten mit 
Bewegungsinformationen des anderen räumlichen Bewegungsvektor vorhersagekandidaten;
wenn der Vergleich anzeigt, dass die Bewegungsvektorinformationen des anderen räumlichen Bewegungsvektorvorhersagekandidaten den Bewegungsvektorinformationen des ausgewählten räumlichen Bewegungsvektorvorhersagekandidaten entsprechen, Ausschließen des ausgewählten räumlichen Bewegungsvektorvorhersagekandidaten aus der Merge-Liste, wobei das Verfahren ferner das Auswählen eines Bewegungsvektorvorhersagekandidaten aus der Merge-Liste, um eine Bewegungsvektorvorhersage für den empfangenen kodierten Block von Pixeln zu repräsentieren, umfasst;
Bestimmen einer maximalen Anzahl von räumlichen Bewegungsvektorvorhersagekandidaten, die in die Merge-Liste einzuschließen sind;
Begrenzen der Anzahl von räumlichen Bewegungsvektorvorhersagekandidaten in der Merge-Liste auf kleiner oder gleich der maximalen Anzahl;
wenn die Anzahl von räumlichen Bewegungsvektorvorhersagekandidaten in der Merge-Liste kleiner [ist] als die maximale Anzahl, Überprüfen, ob eine Vorhersageeinheit, zu der der potenzielle räumlichen Bewegungsvektorvorhersagekandidat gehört, für die Bewegungsvorhersage verfügbar ist; wenn ja, Durchführen von mindestens einem von Folgendem:
wenn sich der potenzielle räumliche Bewegungsvektorvorhersagekandidat (902) links von der Vorhersageeinheit befindet, Ausschließen des potenziellen räumlichen Bewegungsvektorvorhersagekandidaten (902) aus der Merge-Liste, wenn eine der folgenden Bedingungen erfüllt ist:
- der empfangene kodierte Block von Pixeln ist vertikal in eine erste Vorhersageeinheit und eine zweite Vorhersageeinheit geteilt und die Vorhersageeinheit ist die zweite Vorhersageeinheit; 
- der empfangene kodierte Block von Pixeln ist horizontal in eine erste Vorhersageeinheit und eine zweite Vorhersageeinheit geteilt, und wenn die Vorhersageeinheit die zweite Vorhersageeinheit ist, und der potenzielle räumlichen Bewegungsvektorvorhersagekandidat (902) hat dieselben Bewegungsvektoren und dieselben Referenzindizes wie der räumliche Bewegungsvektorvorhersagekandidat (904) über der Vorhersageeinheit;
wenn sich der potenzielle räumliche Bewegungsvektorvorhersagekandidat (904) über der Vorhersageeinheit befindet, Ausschließen des potenziellen räumlichen Bewegungsvektorvorhersagekandidaten (904) aus der Merge-Liste, wenn eine der folgenden Bedingungen erfüllt ist:
- der empfangene kodierte Block von Pixeln ist horizontal in eine erste Vorhersageeinheit und eine zweite Vorhersageeinheit geteilt und die Vorhersageeinheit ist in Dekodierreihenfolge die zweite Vorhersageeinheit; 
- der potenzielle räumliche Bewegungsvektorvorhersagekandidat (904) hat dieselben Bewegungsvektoren und dieselben Referenzindizes wie der räumliche Bewegungsvektorvorhersagekandidat (902) links von der Vorhersageeinheit;
wenn sich der potenzielle räumliche Bewegungsvektorvorhersagekandidat (903) über der Vorhersageeinheit rechts vom räumlichen Bewegungsvektorvorhersagekandidaten (904) befindet, Ausschließen des potenziellen räumlichen Bewegungsvektorvorhersagekandidaten (903) aus der Merge-Liste, wenn der potenzielle räumliche Bewegungsvektorvorhersagekandidat dieselben Bewegungsvektoren und dieselben Referenzindizes hat wie der räumliche Bewegungsvektorvorhersagekandidat (904) über der Vorhersageeinheit;
wenn sich der potenzielle räumliche Bewegungsvektorvorhersagekandidat (901) links von der Vorhersageeinheit unter dem räumlichen Bewegungsvektorvorhersagekandidaten (902) befindet, Aus schließen des potenziellen räumlichen Bewegungsvektorvorhersagekandidaten (901) aus der Merge-Liste, wenn der potenzielle räumliche Bewegungsvektorvorhersagekandidat (901) dieselben Bewegungsvektoren und dieselben Referenzindizes hat wie der räumliche Bewegungsvektorvorhersagekandidat (902) links von der Vorhersageeinheit; 
wenn der potenzielle räumliche Bewegungsvektorvorhersagekandi dat (905) der Vorhersageeinheit an der Ecke oben links benachbart ist, Ausschließen des potenziellen räumlichen Bewegungsvektor vorhersagekandidaten (905) aus der Merge-Liste, wenn eine der fol genden Bedingungen erfüllt ist:
- alle anderen räumlichen Bewegungsvektorvorhersagekandidaten (901-904) wurden in die Merge-Liste eingeschlossen;   
- der potenzielle räumliche Bewegungsvektorvorhersagekandidat(905) hat dieselben Bewegungsvektoren und dieselben Referenzindizes wie der räumliche Bewegungsvektorvorhersagekandidat (904) über der Vorhersageeinheit;
- der potenzielle räumliche Bewegungsvektorvorhersagekandidat(905) hat dieselben Bewegungsvektoren und dieselben Referenzindizes wie der räumliche Bewegungsvektorvorhersagekandidat (902) links von der Vorhersageeinheit.
(unmittelbare Verletzung von Anspruch 10 in Verbindung mit Anspruch 6)
in der Bundesrepublik Deutschland anzubieten, in Verkehr zu bringen oder zu gebrauchen oder zu den genannten Zwecken einzuführen und/oder zu besitzen,
2. der Klägerin schriftlich und elektronisch darüber Auskunft zu erteilen, in welchem Umfang sie – die Beklagten – seit dem 7. Oktober 2020 die unter Ziffer 1. bezeichneten Handlungen begangen haben,
und zwar unter Angabe
a) der Namen und Anschriften der Hersteller, Lieferanten und anderer Vorbesitzer
b) der Namen und Anschriften der gewerblichen Abnehmer so wie der Verkaufsstellen, für die die Erzeugnisse bestimmt waren,
c) der Mengen der hergestellten, ausgelieferten, erhaltenen oder bestellten Erzeugnisse, sowie der Preise, die für die betreffen den Erzeugnisse bezahlt wurden;
wobei zum Nachweis der Angaben die entsprechenden Kaufbe lege (nämlich Rechnungen, hilfsweise Lieferscheine) in Kopie vorzulegen sind, wobei geheimhaltungsbedürftige Details außer halb der auskunftspflichtigen Daten geschwärzt werden dürfen;
3. der Klägerin in einer geordneten Aufstellung schriftlich darüber Rech nung zu legen, in welchem Umfang sie - die Beklagten - die unter Zif fer 1. bezeichneten Handlungen seit dem 7. November 2020 begangen haben, und zwar unter Angabe
a) der einzelnen Lieferungen, aufgeschlüsselt nach Liefermen gen, -zeiten, -preisen und Typenbezeichnungen sowie den Namen und Anschriften der Abnehmer,
b) der einzelnen Angebote, aufgeschlüsselt nach Angebotsmen gen, -zeiten, -preisen und Typenbezeichnung sowie den Na men und Anschriften der gewerblichen Angebotsempfänger,
c) der betriebenen Werbung, aufgeschlüsselt nach Werbeträ gern, deren Auflagenhöhe, Verbreitungszeitraum und Verbrei tungsgebiet,
d) der nach den einzelnen Kostenfaktoren aufgeschlüsselten Gestehungskosten und des erzielten Gewinns,
wobei den Beklagten vorbehalten bleibt, die Namen und Anschrif ten der nicht-gewerblichen Abnehmer und der Angebotsempfän ger statt der Klägerin einem von der Klägerin zu bezeichnenden, ihr gegenüber zur Verschwiegenheit verpflichteten, in der Bun desrepublik Deutschland ansässigen, vereidigten Wirtschaftsprü fer mitzuteilen, sofern die Beklagten dessen Kosten tragen und ihn ermächtigen und verpflichten, der Klägerin auf konkrete An frage mitzuteilen, ob ein bestimmter Abnehmer oder Angebots empfänger in der Aufstellung enthalten ist;
wobei die gesamten Rechnungslegungsdaten zusätzlich in einer mittels EDV auswertbaren elektronischen Form zu übermitteln sind;
4. nur die Beklagte zu 2): die in ihrem unmittelbaren oder mittelbaren Be sitz oder in ihrem Eigentum befindlichen, unter Ziffer 1. bezeichneten Erzeugnisse an einen von der Klägerin zu benennenden Gerichtsvoll zieher zum Zwecke der Vernichtung auf ihre – der Beklagten zu 2) – Kosten herauszugeben;
5. die unter Ziffer 1. bezeichneten, in Verkehr gebrachten Erzeugnisse ge genüber den gewerblichen Abnehmern unter Hinweis auf den gericht lich (Urteil des Landgerichts München I vom 22. Januar 2026) festge stellten patentverletzenden Zustand der Sache und mit der verbindli chen Zusage zurückzurufen, etwaige Entgelte zu erstatten sowie not wendige Verpackungs- und Transportkosten sowie mit der Rückgabe verbundene Zoll- und Lagerkosten zu übernehmen und die Erzeug nisse wieder an sich zu nehmen.
II. Es wird festgestellt, dass die Beklagten als Gesamtschuldner verpflichtet sind, der Klägerin alle Schäden zu ersetzen, die ihr durch die unter Ziffer I.1. be zeichneten, seit dem 7. November 2020 begangenen Handlungen der Beklag ten entstanden sind und noch entstehen werden. 
III. Die Beklagten tragen die Kosten des Rechtsstreits. 
IV. Das Urteil ist in Ziffer I.1. gegen Sicherheitsleistung in Höhe von 3,5 Millionen EUR, in Ziffern I.2 und I.3 insgesamt gegen Sicherheitsleistung in Höhe von 50.000,00 EUR, in Ziffern I.4 und I.5 insgesamt gegen Sicherheitsleistung in Höhe von 50.000,00 EUR sowie in Ziffer III. gegen Sicherheitsleistung in Höhe von 110 Prozent des jeweils zu vollstreckenden Betrags vorläufig voll streckbar.  

Tatbestand

1
Die Klägerin nimmt die Beklagten wegen behaupteter Verletzung des Europäischen Patents 2 774 375 B1 mit dem Titel „Videokodierungsverfahren und -vorrichtung“ in Anspruch.
2
Die Klägerin ist Inhaberin des am 2. November 2012 unter Inanspruchnahme der Priorität der USamerikanischen Patentanmeldung 201161555703 P vom 4. November 2011 angemeldeten Europäischen Patents 2 774 375 B1 (Anlage K1, nachfolgend: Klagepatent). Die Anmeldung wurde am 10. September 2014 und der Erteilungshinweis am 7. Oktober 2020 veröffentlicht. Mit Schriftsatz vom 11. Juni 2025 (Anlage B5) hat eine dritte Partei Nichtigkeitsklage vor dem Bundespatentgericht eingelegt (Az. 5 Ni 19/25 (EP)). Der Hinweisbeschluss gemäß § 83 Abs. 1 PatG liegt noch nicht vor.
3
Die hier maßgeblichen Ansprüche 6 und 10 lauten in der Verfahrenssprache wie folgt:
„Anspruch 6:
„A method comprising
receiving an encoded block of pixels including a prediction unit; determining for the encoded block (900) of pixels a set of spatial motion vector prediction candidates located belowleft (901), left (902), aboveleft (905), above (904) and aboveright (903) of the prediction unit; the spatial motion vector prediction candidates being provided with motion information comprising at least a motion vector and a reference index; determining a subset of spatial motion vector prediction candidate pairs among existing spatial motion vector prediction candidate pairs for comparison among all available spatial motion vector prediction candidate pairs in the set of spatial motion vector prediction candidates; selecting a spatial motion vector prediction candidate from the set of spatial motion vector prediction candidates as a potential spatial motion vector prediction candidate to be included in a merge list for the prediction unit; examining the subset of spatial motion vector prediction candidate pairs to determine which other spatial motion vector prediction candidate is defined to belong to the same spatial motion vector prediction candidate pair than the selected spatial motion vector prediction candidate;
comparing motion information of the selected spatial motion vector prediction candidate with motion information of the other spatial motion vector prediction candidate; if the comparison indicates that the motion vector information of the other spatial motion vector prediction candidate corresponds with the motion vector information of the selected spatial motion vector prediction candidate, excluding the selected spatial motion vector prediction candidate from the merge list wherein the method further comprises selecting one motion vector prediction candidate from the merge list to represent a motion vector prediction for the received encoded block of pixels; determining a maximum number of spatial motion vector prediction candidates to be included in a merge list; limiting the number of spatial motion vector prediction candidates in the merge list smaller or equal to the maximum number; if the number of spatial motion vector prediction candidates in the merge list smaller than the maximum number, examining whether a prediction unit to which the potential spatial motion vector prediction candidate belongs is available for motion prediction; if so, performing at least one of the following:
if the potential spatial motion vector prediction candidate (902) is located on the left side of the prediction unit, excluding the potential spatial motion vector prediction candidate (902) from the merge list if any of the following conditions are fulfilled:
- the received encoded block of pixels is vertically divided into a first prediction unit and a second prediction unit, and the prediction unit is the second prediction unit;
- the received encoded block of pixels is horizontally divided into a first prediction unit and a second prediction unit, and if the prediction unit is the second prediction unit, and the potential spatial motion vector prediction candidate (902) has the same motion vectors and the same reference indices than the spatial motion vector prediction candidate (904) above the prediction unit; if the potential spatial motion vector prediction candidate (904) is located above the prediction unit, excluding the potential spatial motion vector prediction candidate (904) from the merge list if any of the following conditions are fulfilled:
- the received encoded block of pixels is horizontally divided into a first prediction unit and a second prediction unit, and the prediction unit is the second prediction unit in decoding order;
- the potential spatial motion vector prediction candidate (904) has the same motion vectors and the same reference indices than the spatial motion vector prediction candidate (902) on the left side of the prediction unit; if the potential spatial motion vector prediction candidate (903) is located on the right side of the spatial motion vector prediction candidate (904) above the prediction unit, excluding the potential spatial motion vector prediction candidate (903) from the merge list if the potential spatial motion vector prediction candidate has the same motion vectors and the same reference indices than the spatial motion vector prediction candidate (904) above the prediction unit; if the potential spatial motion vector prediction candidate (901) is located below the spatial motion vector prediction candidate (902) on the left side of the prediction unit, excluding the potential spatial motion vector prediction candidate (901) from the merge list if the potential spatial motion vector prediction candidate (901) has the same motion vectors and the same reference indices than the spatial motion vector prediction candidate (902) on the left side of the prediction unit; if the potential spatial motion vector prediction candidate (905) is cornerwise aboveleft neighbouring the prediction unit, excluding the potential spatial motion vector prediction candidate (905) from the merge list if any of the following conditions are fulfilled:
- all the other spatial motion vector prediction candidates (901904) have been included in the merge list;
- the potential spatial motion vector prediction candidate (905) has the same motion vectors and the same reference indices than the spatial motion vector prediction candidate (904) above the prediction unit;
- the potential spatial motion vector prediction candidate (905) has the same motion vectors and the same reference indices than the spatial motion vector prediction candidate (902) on the left side of the prediction unit.”
Anspruch 10
„An apparatus comprising means for performing a method according to any one of claims 6 to 8.“
4
Die Klägerin ist Teil des finnischen Nokia-Konzerns, der Technologien namentlich im Bereich der Telekommunikation entwickelt. Sie ist verantwortlich für die Verwaltung und Lizenzierung von Nokias Patentportfolio.“
5
Die Beklagte zu 1) ist die in Taiwan ansässige Muttergesellschaft der ASUS-Unternehmensgruppe, einem der weltweit führenden Hersteller von Desktop-PCs und Laptops. Die in Deutschland ansässige Beklagte zu 2) ist eine Tochtergesellschaft der Beklagten zu 1) und unterstützt u.a. den Vertrieb von Laptops der Marke ASUS in Deutschland.
6
Die Klägerin greift die Endgeräte der Marke ASUS an, die Videodaten nach dem H.265/HEVC-Standard dekodieren können (im Folgenden: angegriffene Ausführungsformen), namentlich die Laptops der ROG-Serie oder TUF-Reihe, aber auch Smartphones mit dem Betriebssystem Android.
7
Zwischen den Parteien ist unstreitig, dass die angegriffenen Ausführungsformen den von der International Telecommunication Union (ITU) verwalteten Standard „H.265/HEVC“ (Anlage K12) umsetzen.
8
Die Parteien verhandelten bislang erfolglos über eine Lizenzierung des Standards.
9
Die Klägerin trägt vor, die angegriffenen Ausführungsformen verletzten Anspruch 10 des Klagepatents in Verbindung mit Anspruch 6 unmittelbar und wortsinngemäß, weil der H.265/HEVC-Standard die Lehre des Klagepatents verwirkliche.
10
Der kartellrechtliche Zwangslizenzeinwand der Beklagten verfange nicht; die Klägerin habe den Beklagten FRANDgemäße Angebote gemacht, die Beklagten seien aber nicht lizenzwillig.
11
Die Entgegenhaltungen der Beklagten seien nicht geeignet, den Bestand des Klagepatents in Zweifel zu ziehen, so dass eine Aussetzung des Rechtsstreits in Bezug auf die anhängige Nichtigkeitsklage ausscheide.
12
Die Klägerin beantragt zuletzt,
I. Die Beklagten werden verurteilt,
1. es bei Meidung eines für jeden Fall der Zuwiderhandlung festzusetzenden Ordnungsgeldes bis zu 250.000,00 EUR – ersatzweise Ordnungshaft – oder einer Ordnungshaft bis zu sechs Monaten, im Falle wiederholter Zuwiderhandlung bis zu insgesamt zwei Jahren, wobei die Ordnungshaft hinsichtlich der Beklagten an ihren gesetzlichen Vertretern zu vollziehen ist, zu unterlassen,
Vorrichtungen, die Mittel zur Durchführung des folgenden Verfahrens umfassen:
Empfangen eines kodierten Blocks von Pixeln, der eine Vorhersageeinheit einschließt;
Bestimmen eines Satzes von räumlichen Bewegungsvektorvorhersagekandidaten, die sich unten links (901), links (902), oben links (905), oben (904) und oben rechts (903) von der Vorhersageeinheit befinden, für den kodierten Block (900) von Pixeln; wobei die räumlichen Bewegungsvektorvorhersagekandidaten mit Bewegungsinformationen versehen sind, die mindestens einen Bewegungsvektor und einen Referenzindex umfassen; Bestimmen eines Untersatzes von räumlichen Bewegungsvektorvorhersagekandidatenpaaren unter existierenden räumlichen Bewegungsvektorvorhersagekandidatenpaaren zum Vergleich unter allen verfügbaren räumlichen Bewegungsvektorvorhersagekandidatenpaaren in dem Satz von räumlichen Bewegungsvektorvorhersagekandidaten; Auswählen eines räumlichen Bewegungsvektorvorhersagekandidaten aus dem Satz von räumlichen Bewegungsvektorvorhersagekandidaten als einen potenziellen räumlichen Bewegungsvektorvorhersagekandidaten, der in eine Merge-Liste für die Vorhersageeinheit einzuschließen ist;
Überprüfen des Untersatzes von räumlichen Bewegungsvektorvorhersagekandidatenpaaren, um zu bestimmen, welcher andere räumlichen Bewegungsvektorvorhersagekandidat als der ausgewählte räumliche Bewegungsvektorvorhersagekandidat als zum selben räumlichen Bewegungsvektorvorhersagekandidatenpaar gehörend definiert ist;
Vergleichen von Bewegungsinformationen des ausgewählten räumlichen Bewegungsvektorvorhersagekandidaten mit Bewegungsinformationen des anderen räumlichen Bewegungsvektorvorhersagekandidaten;
wenn der Vergleich anzeigt, dass die Bewegungsvektorinformationen des anderen räumlichen Bewegungsvektorvorhersagekandidaten den Bewegungsvektorinformationen des ausgewählten räumlichen Bewegungsvektorvorhersagekandidaten entsprechen, Ausschließen des ausgewählten räumlichen Bewegungsvektorvorhersagekandidaten aus der Merge-Liste, wobei das Verfahren ferner das Auswählen eines Bewegungsvektorvorhersagekandidaten aus der Merge-Liste, um eine Bewegungsvektorvorhersage für den empfangenen kodierten Block von Pixeln zu repräsentieren, umfasst;
Bestimmen einer maximalen Anzahl von räumlichen Bewegungsvektorvorhersagekandidaten, die in die Merge-Liste einzuschließen sind;
Begrenzen der Anzahl von räumlichen Bewegungsvektorvorhersagekandidaten in der Merge-Liste auf kleiner oder gleich der maximalen Anzahl;
wenn die Anzahl von räumlichen Bewegungsvektorvorhersagekandidaten in der Merge-Liste kleiner [ist] als die maximale Anzahl, Überprüfen, ob eine Vorhersageeinheit, zu der der potenzielle räumlichen Bewegungsvektorvorhersagekandidat gehört, für die Bewegungsvorhersage verfügbar ist; wenn ja, Durchführen von mindestens einem von Folgendem:
wenn sich der potenzielle räumliche Bewegungsvektorvorhersagekandidat (902) links von der Vorhersageeinheit befindet, Ausschließen des potenziellen räumlichen Bewegungsvektorvorhersagekandidaten (902) aus der Merge-Liste, wenn eine der folgenden Bedingungen erfüllt ist:
- der empfangene kodierte Block von Pixeln ist vertikal in eine erste Vorhersageeinheit und eine zweite Vorhersageeinheit geteilt und die Vorhersageeinheit ist die zweite Vorhersageeinheit;
- der empfangene kodierte Block von Pixeln ist horizontal in eine erste Vorhersageeinheit und eine zweite Vorhersageeinheit geteilt, und wenn die Vorhersageeinheit die zweite Vorhersageeinheit ist, und der potenzielle räumlichen Bewegungsvektorvorhersagekandidat (902) hat dieselben Bewegungsvektoren und dieselben Referenzindizes wie der räumliche Bewegungsvektorvorhersagekandidat (904) über der Vorhersageeinheit;
wenn sich der potenzielle räumliche Bewegungsvektorvorhersagekandidat (904) über der Vorhersageeinheit befindet, Ausschließen des potenziellen räumlichen Bewegungsvektorvorhersagekandidaten (904) aus der MergeListe, wenn eine der folgenden Bedingungen erfüllt ist:
- der empfangene kodierte Block von Pixeln ist horizontal in eine erste Vorhersageeinheit und eine zweite Vorhersageeinheit geteilt und die Vorhersageeinheit ist in Dekodierreihenfolge die zweite Vorhersageeinheit;
- der potenzielle räumliche Bewegungsvektorvorhersagekandidat (904) hat dieselben Bewegungsvektoren und dieselben Referenzindizes wie der räumliche Bewegungsvektorvorhersagekandidat (902) links von der Vorhersageeinheit;
wenn sich der potenzielle räumliche Bewegungsvektorvorhersagekandidat (903) über der Vorhersageeinheit rechts vom räumlichen Bewegungsvektorvorhersagekandidaten (904) befindet, Ausschließen des potenziellen räumlichen Bewegungsvektorvorhersagekandidaten (903) aus der MergeListe, wenn der potenzielle räumliche Bewegungsvektorvorhersagekandidat dieselben Bewegungsvektoren und dieselben Referenzindizes hat wie der räumliche Bewegungsvektorvorhersagekandidat (904) über der Vorhersageeinheit;
wenn sich der potenzielle räumliche Bewegungsvektorvorhersagekandidat (901) links von der Vorhersageeinheit unter dem räumlichen Bewegungsvektorvorhersagekandidaten (902) befindet, Ausschließen des potenziellen räumlichen Bewegungsvektorvorhersagekandidaten (901) aus der Merge-Liste, wenn der potenzielle räumliche Bewegungsvektorvorhersagekandidat (901) dieselben Bewegungsvektoren und dieselben Referenzindizes hat wie der räumliche Bewegungsvektorvorhersagekandidat (902) links von der Vorhersageeinheit;
wenn der potenzielle räumliche Bewegungsvektorvorhersagekandidat (905) der Vorhersageeinheit an der Ecke oben links benachbart ist, Ausschließen des potenziellen räumlichen Bewegungsvektorvorhersagekandidaten (905) aus der Merge-Liste, wenn eine der folgenden Bedingungen erfüllt ist:
- alle anderen räumlichen Bewegungsvektorvorhersagekandidaten (901-904) wurden in die Merge-Liste eingeschlossen;
- der potenzielle räumliche Bewegungsvektorvorhersagekandidat(905) hat dieselben Bewegungsvektoren und dieselben Referenzindizes wie der räumliche Bewegungsvektorvorhersagekandidat (904) über der Vorhersageeinheit;
- der potenzielle räumliche Bewegungsvektorvorhersagekandidat(905) hat dieselben Bewegungsvektoren und dieselben Referenzindizes wie der räumliche Bewegungsvektorvorhersagekandidat (902) links von der Vorhersageeinheit.
- unmittelbare Verletzung von Anspruch 10 in Verbindung mit Anspruch 6 – in der Bundesrepublik Deutschland anzubieten, in Verkehr zu bringen oder zu gebrauchen oder zu den genannten Zwecken einzuführen und/oder zu besitzen, insbesondere, wenn das Verfahren das Vergleichen von Bewegungsinformationen des potenziellen räumlichen Bewegungsvektorvorhersagekandidaten mit Bewegungsinformationen von höchstens einem anderen räumlichen Bewegungsvektorvorhersagekandidaten des Satzes von räumlichen Bewegungsvektorvorhersagekandidaten umfasst.
- unmittelbare Verletzung von Anspruch 10 in Verbindung mit Anspruch 7 – insbesondere, wenn das Verfahren nach Anspruch 6 oder 7 das Überprüfen, ob der empfangene kodierte Block von Pixeln in eine erste Vorhersageeinheit und eine zweite Vorhersageeinheit in Dekodierreihenfolge geteilt ist; und wenn ja, Ausschließen des potenziellen räumlichen Bewegungsvektorvorhersagekandidaten aus der Merge-Liste, wenn die Vorhersageeinheit die zweite Vorhersageeinheit ist, umfasst.
- unmittelbare Verletzung von Anspruch 10 in Verbindung mit Anspruch 8 – nämlich Endnutzergeräte der Beklagten, Geräte, die fähig sind, die HEVCTechnologie zu nutzen,
2. der Klägerin schriftlich und elektronisch darüber Auskunft zu erteilen, in welchem Umfang sie – die Beklagten – seit dem 7. Oktober 2020 die unter Ziffer 1. bezeichneten Handlungen begangen haben, und zwar unter Angabe a) der Namen und Anschriften der Hersteller, Lieferanten und anderer Vorbesitzer,
b) der Namen und Anschriften der gewerblichen Abnehmer sowie der Verkaufsstellen, für die die Erzeugnisse bestimmt waren c) der Mengen der hergestellten, ausgelieferten, erhaltenen oder bestellten Erzeugnisse, sowie der Preise, die für die betreffenden Erzeugnisse bezahlt wurden;
wobei zum Nachweis der Angaben die entsprechenden Kaufbelege (nämlich Rechnungen, hilfsweise Lieferscheine) in Kopie vorzulegen sind, wobei geheimhaltungsbedürftige Details außerhalb der auskunftspflichtigen Daten geschwärzt werden dürfen;
3. der Klägerin in einer geordneten Aufstellung schriftlich darüber Rechnung zu legen, in welchem Umfang sie – die Beklagten – die unter Ziffer 1. bezeichneten Handlungen seit dem 7. November 2020 begangen haben, und zwar unter Angabe a) der einzelnen Lieferungen, aufgeschlüsselt nach Liefermengen, -zeiten, -preisen und Typenbezeichnungen sowie den Namen und Anschriften der Abnehmer,
b) der einzelnen Angebote, aufgeschlüsselt nach Angebotsmengen, -zeiten, -preisen und Typenbezeichnung sowie den Namen und Anschriften der gewerblichen Angebotsempfänger,
c) der betriebenen Werbung, aufgeschlüsselt nach Werbeträgern, deren Auflagenhöhe, Verbreitungszeitraum und Verbreitungsgebiet,
d) der nach den einzelnen Kostenfaktoren aufgeschlüsselten Gestehungskosten und des erzielten Gewinns,
wobei den Beklagten vorbehalten bleibt, die Namen und Anschriften der nichtgewerblichen Abnehmer und der Angebotsempfänger statt der Klägerin einem von der Klägerin zu bezeichnenden, ihr gegenüber zur Verschwiegenheit verpflichteten, in der Bundesrepublik Deutschland ansässigen, vereidigten Wirtschaftsprüfer mitzuteilen, sofern die Beklagten dessen Kosten tragen und ihn ermächtigen und verpflichten, der Klägerin auf konkrete Anfrage mitzuteilen, ob ein bestimmter Abnehmer oder Angebotsempfänger in der Aufstellung enthalten ist;
wobei die gesamten Rechnungslegungsdaten zusätzlich in einer mittels EDV auswertbaren elektronischen Form zu übermitteln sind;
4. nur die Beklagte zu 2): die in ihrem unmittelbaren oder mittelbaren Besitz oder in ihrem Eigentum befindlichen, unter Ziffer 1. bezeichneten Erzeugnisse an einen von der Klägerin zu benennenden Gerichtsvollzieher zum Zwecke der Vernichtung auf ihre – der Beklagten zu 2) – Kosten herauszugeben;
5. die unter Ziffer 1. bezeichneten, in Verkehr gebrachten Erzeugnisse gegenüber den gewerblichen Abnehmern unter Hinweis auf den gerichtlich (Urteil des … vom …) festgestellten patentverletzenden Zustand der Sache und mit der verbindlichen Zusage zurückzurufen, etwaige Entgelte zu erstatten sowie notwendige Verpackungs- und Transportkosten sowie mit der Rückgabe verbundene Zoll- und Lagerkosten zu übernehmen und die Erzeugnisse wieder an sich zu nehmen
II. Es wird festgestellt, dass die Beklagten als Gesamtschuldner verpflichtet sind, der Klägerin alle Schäden zu ersetzen, die ihr durch die unter Ziffern 1. bezeichneten, seit dem 7. November 2020 begangenen Handlungen der Beklagten entstanden sind und noch entstehen werden.
Hilfsantrag 1:
Der Antrag zu Ziffer I. 1. gemäß obigem Hauptantrag erhält folgende Fassung; die restlichen Anträge bleiben unverändert:
I. Die Beklagten werden verurteilt,
1. es bei Meidung eines für jeden Fall der Zuwiderhandlung festzusetzenden Ordnungsgeldes bis zu 250.000,00 EUR – ersatzweise Ordnungshaft – oder einer Ordnungshaft bis zu sechs Monaten, im Falle wiederholter Zuwiderhandlung bis zu insgesamt zwei Jahren, wobei die Ordnungshaft hinsichtlich der Beklagten an ihren gesetzlichen Vertretern zu vollziehen ist, zu unterlassen,
Vorrichtungen, die Mittel zur Durchführung des folgenden Verfahrens umfassen:
Empfangen eines kodierten Blocks von Pixeln, der eine Vorhersageeinheit einschließt;
wobei der codierte Block von Pixeln durch eine Kodiereinheit dargestellt wird, wobei die Vorhersageeinheit die einzige Vorhersageeinheit in der Kodiereinheit ist;
Bestimmen eines Satzes von räumlichen Bewegungsvektorvorhersagekandidaten, die sich unten links (901), links (902), oben links (905), oben (904) und oben rechts (903) von der Vorhersageeinheit befinden, für den kodierten Block (900) von Pixeln; wobei die räumlichen Bewegungsvektorvorhersagekandidaten mit Bewegungsinformationen versehen sind, die mindestens einen Bewegungsvektor und einen Referenzindex umfassen; Bestimmen eines Untersatzes von räumlichen Bewegungsvektorvorhersagekandidatenpaaren unter existierenden räumlichen Bewegungsvektorvorhersagekandidatenpaaren zum Vergleich unter allen verfügbaren räumlichen Bewegungsvektorvorhersagekandidatenpaaren in dem Satz von räumlichen Bewegungsvektorvorhersagekandidaten;
Auswählen räumlicher Bewegungsvektorvorhersagekandidaten aus dem Satz von räumlichen Bewegungsvektorvorhersagekandidaten jeweils als einen potenziellen räumlichen Bewegungsvektorvorhersagekandidaten, der in eine Merge-Liste für die Vorhersageeinheit einzuschließen ist;
wenn sich der ausgewählte räumliche Bewegungsvektorvorhersagekandidat unten links (901), oben links (905), oben (904) oder oben rechts (903) von der der Vorhersageeinheit befindet:
Überprüfen des Untersatzes von räumlichen Bewegungsvektorvorhersagekandidatenpaaren, um zu bestimmen, welcher andere räumliche Bewegungsvektorvorhersagekandidat als der ausgewählte räumliche Bewegungsvektorvorhersagekandidat als zum selben räumlichen Bewegungsvektorvorhersagekandidatenpaar gehörend definiert ist;
Vergleichen von Bewegungsinformationen des ausgewählten räumlichen Bewegungsvektorvorhersagekandidaten mit Bewegungsinformationen des anderen räumlichen Bewegungsvektorvorhersagekandidaten; wenn der Vergleich anzeigt, dass die Bewegungsvektorinformationen des anderen räumlichen Bewegungsvektorvorhersagekandidaten den Bewegungsvektorinformationen des ausgewählten räumlichen Bewegungsvektorvorhersagekandidaten entsprechen, Ausschließen des ausgewählten räumlichen Bewegungsvektorvorhersagekandidaten aus der Merge-Liste wobei das Verfahren ferner umfasst: Auswählen eines Bewegungsvektorvorhersagekandidaten aus der Merge-Liste, um eine Bewegungsvektorvorhersage für den empfangenen kodierten Block von Pixeln zu repräsentieren;
Bestimmen einer maximalen Anzahl von räumlichen Bewegungsvektorvorhersagekandidaten, die in die Merge-Liste einzuschließen sind;
Begrenzen der Anzahl von räumlichen Bewegungsvektorvorhersagekandidaten in der Merge-Liste auf kleiner oder gleich der maximalen Anzahl; wenn die Anzahl von räumlichen Bewegungsvektorvorhersagekandidaten in der Merge-Liste kleiner als die maximale Anzahl [ist], Überprüfen, ob eine Vorhersageeinheit, zu der der jeweilige potenzielle räumliche Bewegungsvektorvorhersagekandidat gehört, für die Bewegungsvorhersage verfügbar ist; wenn ja, Durchführen, für den jeweiligen potenziellen räumlichen Bewegungsvektorvorhersagekandidaten, von einem von Folgendem (a), (b), (c), (d), (e):
(a) wenn sich der potenzielle räumliche Bewegungsvektorvorhersagekandidat (902) links von der Vorhersageeinheit befindet, Einschließen des potenziellen räumliche Bewegungsvektorvorhersagekandidaten (902) links von der Vorhersageeinheit in die Merge-Liste; 
(b) wenn sich der potenzielle räumliche Bewegungsvektorvorhersagekandidat (904) über der Vorhersageeinheit befindet, Ausschließen des potenziellen räumlichen Bewegungsvektorvorhersagekandidaten (904) aus der Merge-Liste, 
der potenzielle räumliche Bewegungsvektorvorhersagekandidat (904) dieselben Bewegungsvektoren und dieselben Referenzindices hat wie der räumliche Bewegungsvektorvorhersagekandidat (902) links von der Vorhersageeinheit; wenn der potenzielle räumliche Bewegungsvektorvorhersagekandidat (904) über der Vorhersageeinheit nicht ausgeschlossen ist, Einschließen des potenziellen räumlichen Bewegungsvektorvorhersagekandidat (904) über der Vorhersageeinheit in die Merge-Liste;
(c) wenn sich der potenzielle räumliche Bewegungsvektorvorhersagekandidat (903) rechts vom räumlichen Bewegungsvektorvorhersagekandidaten (904) über der Vorhersageeinheit befindet, Ausschließen des potenziellen räumlichen Bewegungsvektorvorhersagekandidaten (903) aus der Merge-Liste, wenn der potenzielle räumliche Bewegungsvektorvorhersagekandidat dieselben Bewegungsvektoren und dieselben Referenzindices hat wie der räumliche Bewegungsvektorvorhersagekandidat (904) über der Vorhersageeinheit; wenn der potenzielle räumliche Bewegungsvektorvorhersagekandidat (903) rechts vom räumlichen Bewegungsvektorvorhersagekandidaten (904) über der Vorhersageeinheit nicht ausgeschlossen ist, Einschließen des potenziellen räumlichen Bewegungsvektorvorhersagekandidaten (903) rechts vom räumlichen Bewegungsvektorvorhersagekandidaten (904) über der Vorhersageeinheit in die Merge-Liste;
(d) wenn sich der potenzielle räumliche Bewegungsvektorvorhersagekandidat (901) unter dem räumlichen Bewegungsvektorvorhersagekandidaten (902) links von der Vorhersageeinheit befindet, Ausschließen des potenziellen räumlichen Bewegungsvektorvorhersagekandidaten (901) aus der Merge-Liste, wenn der potenzielle räumliche Bewegungsvektorvorhersagekandidat (901) dieselben Bewegungsvektoren und dieselben Referenzindices hat wie der räumliche Bewegungsvektorvorhersagekandidat (902) links von der Vorhersageeinheit; wenn der potenzielle räumliche Bewegungsvektorvorhersagekandidat (901) unter dem räumlichen Bewegungsvektorvorhersagekandidaten (902) links von der Vorhersageeinheit nicht ausgeschlossen ist, Einschließen des potenziellen räumlichen Bewegungsvektorvorhersagekandidaten (901) unter dem räumlichen Bewegungsvektorvorhersagekandidaten (902) links von der Vorhersageeinheit in die Merge-Liste;
(e) wenn der potenzielle räumliche Bewegungsvektorvorhersagekandidat (905) der Vorhersageeinheit an der Ecke oben links benachbart ist, Ausschließen des potenziellen räumlichen Bewegungsvektorvorhersagekandidaten (905) aus der Merge-Liste, wenn eine der folgenden Bedingungen erfüllt ist:
- alle anderen räumlichen Bewegungsvektorvorhersagekandidaten (901-904) wurden in die Merge-Liste eingeschlossen;
- der potenzielle räumliche Bewegungsvektorvorhersagekandidat (905) hat dieselben Bewegungsvektoren und dieselben Referenzindices wie der räumliche Bewegungsvektorvorhersagekandidat (904) über der Vorhersageeinheit;
- der potenzielle räumliche Bewegungsvektorvorhersagekandidat (905) hat dieselben Bewegungsvektoren und dieselben Referenzindices wie der räumliche Bewegungsvektorvorhersagekandidat (902) links von der Vorhersageeinheit;
wenn der potenzielle räumliche Bewegungsvektorvorhersagekandidat (905) an der Ecke oben links der Vorhersageeinheit nicht ausgeschlossen ist, Einschließen des potenziellen räumlichen Bewegungsvektorvorhersagekandidat (905) an der Ecke oben links der Vorhersageeinheit in die Merge-Liste.
in der Bundesrepublik Deutschland anzubieten, in Verkehr zu bringen oder zu gebrauchen oder zu den genannten Zwecken einzuführen und/oder zu besitzen,
- unmittelbare Verletzung von Anspruch 6 in Verbindung mit Anspruch 4 in der Fassung gemäß Hilfsantrag 2 im Nichtigkeitsverfahren – nämlich Endnutzergeräte der Beklagten, Geräte, die fähig sind, die HEVCTechnologie zu nutzen,
Hilfsantrag 2:
Der Antrag zu Ziffer I. 1. gemäß obigem Hauptantrag erhält folgende Fassung; die restlichen Anträge bleiben unverändert:
I. Die Beklagten werden verurteilt,
1. es bei Meidung eines für jeden Fall der Zuwiderhandlung festzusetzenden Ordnungsgeldes bis zu 250.000,00 EUR – ersatzweise Ordnungshaft – oder einer Ordnungshaft bis zu sechs Monaten, im Falle wiederholter Zuwiderhandlung bis zu insgesamt zwei Jahren, wobei die Ordnungshaft hinsichtlich der Beklagten an ihren gesetzlichen Vertretern zu vollziehen ist, zu unterlassen, Vorrichtungen, die Mittel zur Durchführung des folgenden Verfahrens umfassen:
Empfangen eines kodierten Blocks von Pixeln, der eine Vorhersageeinheit einschließt;
wobei der kodierte Block von Pixeln durch eine Kodiereinheit dargestellt wird, wobei die Vorhersageeinheit die einzige Vorhersageeinheit in der Kodiereinheit ist;
Bestimmen eines Satzes von räumlichen Bewegungsvektorvorhersagekandidaten, die sich unten links (901), links (902), oben links (905), oben (904) und oben rechts (903) von der Vorhersageeinheit befinden, für den kodierten Block (900) von Pixeln; wobei die räumlichen Bewegungsvektorvorhersagekandidaten mit Bewegungsinformationen versehen sind, die mindestens einen Bewegungsvektor und einen Referenzindex umfassen;
Bestimmen eines Untersatzes von räumlichen Bewegungsvektorvorhersagekandidatenpaaren unter existierenden räumlichen Bewegungsvektorvorhersagekandidatenpaaren zum Vergleich unter allen verfügbaren räumlichen Bewegungsvektorvorhersagekandidatenpaaren in dem Satz von räumlichen Bewegungsvektorvorhersagekandidaten;
Auswählen räumlicher Bewegungsvektorvorhersagekandidaten aus dem Satz von räumlichen Bewegungsvektorvorhersagekandidaten jeweils als einen potenziellen räumlichen Bewegungsvektorvorhersagekandidaten, der in eine Merge-Liste für die Vorhersageeinheit einzuschließen ist;
wenn sich der ausgewählte räumliche Bewegungsvektorvorhersagekandidat unten links (901), oben links (905), oben (904) oder oben rechts (903) von der der Vorhersageeinheit befindet:
Überprüfen des Untersatzes von räumlichen Bewegungsvektorvorhersagekandidatenpaaren, um zu bestimmen, welcher andere räumliche Bewegungsvektorvorhersagekandidat als der ausgewählte räumliche Bewegungsvektorvorhersagekandidat als zum selben räumlichen Bewegungsvektorvorhersagekandidatenpaar gehörend definiert ist;
Vergleichen von Bewegungsinformationen des ausgewählten räumlichen Bewegungsvektorvorhersagekandidaten mit Bewegungsinformationen des anderen räumlichen Bewegungsvektorvorhersagekandidaten; wenn der Vergleich anzeigt, dass die Bewegungsvektorinformationen des anderen räumlichen Bewegungsvektorvorhersagekandidaten den Bewegungsvektorinformationen des ausgewählten räumlichen Bewegungsvektorvorhersagekandidaten entsprechen, Ausschließen des ausgewählten räumlichen Bewegungsvektorvorhersagekandidaten aus der Merge-Liste wobei das Verfahren ferner umfasst: Auswählen eines Bewegungsvektorvorhersagekandidaten aus der Merge-Liste, um eine Bewegungsvektorvorhersage für den empfangenen kodierten Block von Pixeln zu repräsentieren;
Bestimmen einer maximalen Anzahl von räumlichen Bewegungsvektorvorhersagekandidaten, die in die Merge-Liste einzuschließen sind;
Begrenzen der Anzahl von räumlichen Bewegungsvektorvorhersagekandidaten in der Merge-Liste auf kleiner oder gleich der maximalen Anzahl; wenn die Anzahl von räumlichen Bewegungsvektorvorhersagekandidaten in der Merge-Liste kleiner als die maximale Anzahl [ist], Überprüfen, ob eine Vorhersageeinheit, zu der der jeweilige potenzielle räumliche Bewegungsvektorvorhersagekandidat gehört, für die Bewegungsvorhersage verfügbar ist; wenn ja, Durchführen, für den jeweiligen potenziellen räumlichen Bewegungsvektorvorhersagekandidaten, von einem von Folgendem (a), (b), (c), (d), (e):
(a) wenn sich der potenzielle räumliche Bewegungsvektorvorhersagekandidat (902) links von der Vorhersageeinheit befindet, Einschließen des potenziellen räumliche Bewegungsvektorvorhersagekandidaten (902) links von der Vorhersageeinheit in die Merge-Liste; 
(b) wenn sich der potenzielle räumliche Bewegungsvektorvorhersagekandidat (904) über der Vorhersageeinheit befindet, Ausschließen des potenziellen räumlichen Bewegungsvektorvorhersagekandidaten (904) aus der Merge-Liste, wenn 
der potenzielle räumliche Bewegungsvektorvorhersagekandidat (904) dieselben Bewegungsvektoren und dieselben Referenzindices hat wie der räumliche Bewegungsvektorvorhersagekandidat (902) links von der Vorhersageeinheit; wenn der potenzielle räumliche Bewegungsvektorvorhersagekandidat (904) über der Vorhersageeinheit nicht ausgeschlossen ist, Einschließen des potenziellen räumlichen Bewegungsvektorvorhersagekandidat (904) über der Vorhersageeinheit in die Merge-Liste;
(c) wenn sich der potenzielle räumliche Bewegungsvektorvorhersagekandidat (903) rechts vom räumlichen Bewegungsvektorvorhersagekandidaten (904) über der Vorhersageeinheit befindet, Ausschließen des potenziellen räumlichen Bewegungsvektorvorhersagekandidaten (903) aus der Merge-Liste, wenn der potenzielle räumliche Bewegungsvektorvorhersagekandidat dieselben Bewegungsvektoren und dieselben Referenzindices hat wie der räumliche Bewegungsvektorvorhersagekandidat (904) über der Vorhersageeinheit; wenn der potenzielle räumliche Bewegungsvektorvorhersagekandidat (903) rechts vom räumlichen Bewegungsvektorvorhersagekandidaten (904) über der Vorhersageeinheit nicht ausgeschlossen ist, Einschließen des potenziellen räumlichen Bewegungsvektorvorhersagekandidaten (903) rechts vom räumlichen Bewegungsvektorvorhersagekandidaten (904) über der Vorhersageeinheit in die Merge-Liste;
(d) wenn sich der potenzielle räumliche Bewegungsvektorvorhersagekandidat (901) unter dem räumlichen Bewegungsvektorvorhersagekandidaten (902) links von der Vorhersageeinheit befindet, Ausschließen des potenziellen räumlichen Bewegungsvektorvorhersagekandidaten (901) aus der Merge-Liste, wenn der potenzielle räumliche Bewegungsvektorvorhersagekandidat (901) dieselben Bewegungsvektoren und dieselben Referenzindices hat wie der räumliche Bewegungsvektorvorhersagekandidat (902) links von der Vorhersageeinheit; wenn der potenzielle räumliche Bewegungsvektorvorhersagekandidat (901) unter dem räumlichen Bewegungsvektorvorhersagekandidaten (902) links von der Vorhersageeinheit nicht ausgeschlossen ist, Einschließen des potenziellen räumlichen Bewegungsvektorvorhersagekandidaten (901) unter dem räumlichen Bewegungsvektorvorhersagekandidaten (902) links von der Vorhersageeinheit in die MergeListe;
(e) wenn der potenzielle räumliche Bewegungsvektorvorhersagekandidat (905) der Vorhersageeinheit an der Ecke oben links benachbart ist, Ausschließen des potenziellen räumlichen Bewegungsvektorvorhersagekandidaten (905) aus der Merge-Liste, wenn eine der folgenden Bedingungen erfüllt ist:
- alle anderen räumlichen Bewegungsvektorvorhersagekandidaten (901-904) wurden in die Merge-Liste eingeschlossen;
- der potenzielle räumliche Bewegungsvektorvorhersagekandidat (905) hat dieselben Bewegungsvektoren und dieselben Referenzindices wie der räumliche Bewegungsvektorvorhersagekandidat (904) über der Vorhersageeinheit;
- der potenzielle räumliche Bewegungsvektorvorhersagekandidat (905) hat dieselben Bewegungsvektoren und dieselben Referenzindices wie der räumliche Bewegungsvektorvorhersagekandidat (902) links von der Vorhersageeinheit;
wenn der potenzielle räumliche Bewegungsvektorvorhersagekandidat (905) an der Ecke oben links der Vorhersageeinheit nicht ausgeschlossen ist, Einschließen des potenziellen räumlichen Bewegungsvektorvorhersagekandidat (905) an der Ecke oben links der Vorhersageeinheit in die Merge-Liste;
und wobei in dem Verfahren, nach der Verarbeitung der räumlichen Bewegungsvektorvorhersagekandidaten und des Einschließens eines Untersatzes der räumlichen Bewegungsvektorvorhersagekandidaten in die Merge-Liste, keine Redundanzprüfung mehr zwischen diesen in der Merge-Liste enthaltenen räumlichen Bewegungsvektorvorhersagekandidaten durchgeführt wird,
in der Bundesrepublik Deutschland anzubieten, in Verkehr zu bringen oder zu gebrauchen oder zu den genannten Zwecken einzuführen und/oder zu besitzen,
- unmittelbare Verletzung von Anspruch 6 in Verbindung mit Anspruch 4 in der Fassung gemäß Hilfsantrag 2 im Nichtigkeitsverfahren – nämlich Endnutzergeräte der Beklagten, Geräte, die fähig sind, die HEVCTechnologie zu nutzen,
Hilfsantrag 3:
Der Antrag zu Ziffer I. 1. gemäß obigem Hauptantrag erhält folgende Fassung (inhaltliche Abweichungen zum Hauptantrag hervorgehoben); die restlichen Anträge bleiben unverändert:
I. Die Beklagten werden verurteilt,
1. es bei Meidung eines für jeden Fall der Zuwiderhandlung festzusetzenden Ordnungsgeldes bis zu 250.000,00 EUR – ersatzweise Ordnungshaft – oder einer Ordnungshaft bis zu sechs Monaten, im Falle wiederholter Zuwiderhandlung bis zu insgesamt zwei Jahren, wobei die Ordnungshaft hinsichtlich der Beklagten an ihren gesetzlichen Vertretern zu vollziehen ist, zu unterlassen,
Vorrichtungen, die Mittel zur Durchführung des folgenden Verfahrens umfassen:
Empfangen eines kodierten Blocks von Pixeln, der eine Vorhersageeinheit einschließt, wobei der kodierte Block von Pixeln durch eine Kodiereinheit dargestellt wird, wobei die Vorhersageeinheit die einzige Vorhersageeinheit in der Kodiereinheit ist;
Bestimmen eines Satzes von räumlichen Bewegungsvektorvorhersagekandidaten, die sich unten links (901), links (902), oben links (905), oben (904) und oben rechts (903) von der Vorhersageeinheit befinden, für den kodierten Block (900) von Pixeln; wobei die räumlichen Bewegungsvektorvorhersagekandidaten mit Bewegungsinformationen versehen sind, die mindestens einen Bewegungsvektor und einen Referenzindex umfassen; Bestimmen eines Untersatzes von räumlichen Bewegungsvektorvorhersagekandidatenpaaren unter existierenden räumlichen Bewegungsvektorvorhersagekandidatenpaaren zum Vergleich unter allen verfügbaren räumlichen Bewegungsvektorvorhersagekandidatenpaaren in dem Satz von räumlichen Bewegungsvektorvorhersagekandidaten; Auswählen eines räumlichen Bewegungsvektorvorhersagekandidaten aus dem Satz von räumlichen Bewegungsvektorvorhersagekandidaten als einen potenziellen räumlichen Bewegungsvektorvorhersagekandidaten, der in eine Merge-Liste für die Vorhersageeinheit einzuschließen ist;
Überprüfen des Untersatzes von räumlichen Bewegungsvektorvorhersagekandidatenpaaren, um zu bestimmen, welcher andere räumlichen Bewegungsvektorvorhersagekandidat als der ausgewählte räumliche Bewegungsvektorvorhersagekandidat als zum selben räumlichen Bewegungsvektorvorhersagekandidatenpaar gehörend definiert ist;
Vergleichen von Bewegungsinformationen des ausgewählten räumlichen Bewegungsvektorvorhersagekandidaten mit Bewegungsinformationen des anderen räumlichen Bewegungsvektorvorhersagekandidaten;
wenn der Vergleich anzeigt, dass die Bewegungsvektorinformationen des anderen räumlichen Bewegungsvektorvorhersagekandidaten den Bewegungsvektorinformationen des ausgewählten räumlichen Bewegungsvektorvorhersagekandidaten entsprechen, Ausschließen des ausgewählten räumlichen Bewegungsvektorvorhersagekandidaten aus der Merge-Liste, wobei das Verfahren ferner das Auswählen eines Bewegungsvektorvorhersagekandidaten aus der Merge-Liste, um eine Bewegungsvektorvorhersage für den empfangenen kodierten Block von Pixeln zu repräsentieren, umfasst;
Bestimmen einer maximalen Anzahl von räumlichen Bewegungsvektorvorhersagekandidaten, die in die Merge-Liste einzuschließen sind;
Begrenzen der Anzahl von räumlichen Bewegungsvektorvorhersagekandidaten in der Merge-Liste auf kleiner oder gleich der maximalen Anzahl;
wenn die Anzahl von räumlichen Bewegungsvektorvorhersagekandidaten in der Merge-Liste kleiner [ist] als die maximale Anzahl, Überprüfen, ob eine Vorhersageeinheit, zu der der potenzielle räumlichen Bewegungsvektorvorhersagekandidat gehört, für die Bewegungsvorhersage verfügbar ist; wenn ja, Durchführen von mindestens einem von Folgendem:
wenn sich der potenzielle räumliche Bewegungsvektorvorhersagekandidat (902) links von der Vorhersageeinheit befindet, Ausschließen des potenziellen räumlichen Bewegungsvektorvorhersagekandidaten (902) aus der Merge-Liste, wenn eine der folgenden Bedingungen erfüllt ist:
- der empfangene kodierte Block von Pixeln ist vertikal in eine erste Vorhersageeinheit und eine zweite Vorhersageeinheit geteilt und die Vorhersageeinheit ist die zweite Vorhersageeinheit;
- der empfangene kodierte Block von Pixeln ist horizontal in eine erste Vorhersageeinheit und eine zweite Vorhersageeinheit geteilt, und wenn die Vorhersageeinheit die zweite Vorhersageeinheit ist, und der potenzielle räumlichen Bewegungsvektorvorhersagekandidat (902) hat dieselben Bewegungsvektoren und dieselben Referenzindizes wie der räumliche Bewegungsvektorvorhersagekandidat (904) über der Vorhersageeinheit;
wenn sich der potenzielle räumliche Bewegungsvektorvorhersagekandidat (904) über der Vorhersageeinheit befindet, Ausschließen des potenziellen räumlichen Bewegungsvektorvorhersagekandidaten (904) aus der MergeListe, wenn eine der folgenden Bedingungen erfüllt ist:
- der empfangene kodierte Block von Pixeln ist horizontal in eine erste Vorhersageeinheit und eine zweite Vorhersageeinheit geteilt und die Vorhersageeinheit ist in Dekodierreihenfolge die zweite Vorhersageeinheit;
- der potenzielle räumliche Bewegungsvektorvorhersagekandidat (904) hat dieselben Bewegungsvektoren und dieselben Referenzindizes wie der räumliche Bewegungsvektorvorhersagekandidat (902) links von der Vorhersageeinheit;
wenn sich der potenzielle räumliche Bewegungsvektorvorhersagekandidat (903) über der Vorhersageeinheit rechts vom räumlichen Bewegungsvektorvorhersagekandidaten (904) befindet, Ausschließen des potenziellen räumlichen Bewegungsvektorvorhersagekandidaten (903) aus der MergeListe, wenn der potenzielle räumliche Bewegungsvektorvorhersagekandidat dieselben Bewegungsvektoren und dieselben Referenzindizes hat wie der räumliche Bewegungsvektorvorhersagekandidat (904) über der Vorhersageeinheit;
wenn sich der potenzielle räumliche Bewegungsvektorvorhersagekandidat (901) links von der Vorhersageeinheit unter dem räumlichen Bewegungsvektorvorhersagekandidaten (902) befindet, Ausschließen des potenziellen räumlichen Bewegungsvektorvorhersagekandidaten (901) aus der Merge-Liste, wenn der potenzielle räumliche Bewegungsvektorvorhersagekandidat (901) dieselben Bewegungsvektoren und dieselben Referenzindizes hat wie der räumliche Bewegungsvektorvorhersagekandidat (902) links von der Vorhersageeinheit;
wenn der potenzielle räumliche Bewegungsvektorvorhersagekandidat (905) der Vorhersageeinheit an der Ecke oben links benachbart ist, Ausschließen des potenziellen räumlichen Bewegungsvektorvorhersagekandidaten (905) aus der Merge-Liste, wenn eine der folgenden Bedingungen erfüllt ist:
- alle anderen räumlichen Bewegungsvektorvorhersagekandidaten (901-904) wurden in die Merge-Liste eingeschlossen;
- der potenzielle räumliche Bewegungsvektorvorhersagekandidat(905) hat dieselben Bewegungsvektoren und dieselben Referenzindizes wie der räumliche Bewegungsvektorvorhersagekandidat (904) über der Vorhersageeinheit;
- der potenzielle räumliche Bewegungsvektorvorhersagekandidat(905) hat dieselben Bewegungsvektoren und dieselben Referenzindizes wie der räumliche Bewegungsvektorvorhersagekandidat (902) links von der Vorhersageeinheit.
- unmittelbare Verletzung von Anspruch 10 in Verbindung mit Anspruch 6 – in der Bundesrepublik Deutschland anzubieten, in Verkehr zu bringen oder zu gebrauchen oder zu den genannten Zwecken einzuführen und/oder zu besitzen,
- unmittelbare Verletzung von Anspruch 10 in Verbindung mit Anspruch 4 in der Fassung gemäß Hilfsantrag 2 im Nichtigkeitsverfahren – nämlich Endnutzergeräte der Beklagten, Geräte, die fähig sind, die HEVCTechnologie zu nutzen,
Hilfsantrag 4:
Der Antrag zu Ziffer I. 1. gemäß obigem Hauptantrag erhält folgende Fassung (inhaltliche Abweichungen zum Hauptantrag hervorgehoben); die restlichen Anträge bleiben unverändert:
I. Die Beklagten werden verurteilt,
1. es bei Meidung eines für jeden Fall der Zuwiderhandlung festzusetzenden Ordnungsgeldes bis zu 250.000,00 EUR – ersatzweise Ordnungshaft – oder einer Ordnungshaft bis zu sechs Monaten, im Falle wiederholter Zuwiderhandlung bis zu insgesamt zwei Jahren, wobei die Ordnungshaft hinsichtlich der Beklagten an ihren gesetzlichen Vertretern zu vollziehen ist, zu unterlassen,
Vorrichtungen, die Mittel zur Durchführung des folgenden Verfahrens umfassen:
Empfangen eines kodierten Blocks von Pixeln, der eine Vorhersageeinheit einschließt;
Bestimmen eines Satzes von räumlichen Bewegungsvektorvorhersagekandidaten, die sich unten links (901), links (902), oben links (905), oben (904) und oben rechts (903) von der Vorhersageeinheit befinden, für den kodierten Block (900) von Pixeln; wobei die räumlichen Bewegungsvektorvorhersagekandidaten mit Bewegungsinformationen versehen sind, die mindestens einen Bewegungsvektor und einen Referenzindex umfassen; Bestimmen eines Untersatzes von räumlichen Bewegungsvektorvorhersagekandidatenpaaren unter existierenden räumlichen Bewegungsvektorvorhersagekandidatenpaaren zum Vergleich unter allen verfügbaren räumlichen Bewegungsvektorvorhersagekandidatenpaaren in dem Satz von räumlichen Bewegungsvektorvorhersagekandidaten; Auswählen eines räumlichen Bewegungsvektorvorhersagekandidaten aus dem Satz von räumlichen Bewegungsvektorvorhersagekandidaten als einen potenziellen räumlichen Bewegungsvektorvorhersagekandidaten, der in eine Merge-Liste für die Vorhersageeinheit einzuschließen ist;
Überprüfen des Untersatzes von räumlichen Bewegungsvektorvorhersagekandidatenpaaren, um zu bestimmen, welcher andere räumlichen Bewegungsvektorvorhersagekandidat als der ausgewählte räumliche Bewegungsvektorvorhersagekandidat als zum selben räumlichen Bewegungsvektorvorhersagekandidatenpaar gehörend definiert ist;
Vergleichen von Bewegungsinformationen des ausgewählten räumlichen Bewegungsvektorvorhersagekandidaten mit Bewegungsinformationen des anderen räumlichen Bewegungsvektorvorhersagekandidaten;
wenn der Vergleich anzeigt, dass die Bewegungsvektorinformationen des anderen räumlichen Bewegungsvektorvorhersagekandidaten den Bewegungsvektorinformationen des ausgewählten räumlichen Bewegungsvektorvorhersagekandidaten entsprechen, Ausschließen des ausgewählten räumlichen Bewegungsvektorvorhersagekandidaten aus der Merge-Liste, wenn der ausgewählte räumliche Bewegungsvektorvorhersagekandidat nicht ausgeschlossen ist, ihn Einschließen in die Merge-Liste;
wobei nach Einschließen des ausgewählten räumlichen Bewegungsvektorvorhersagekandidaten in die Merge-Liste keine Redundanzprüfung mehr zwischen dem ausgewählten räumlichen Bewegungsvektorvorhersagekandidaten und anderen räumlichen Bewegungsvektorvorhersagekandidaten, die aus dem Satz von räumlichen Bewegungsvektorvorhersagekandidaten stammen und die in der Merge-Liste eingeschlossen sind, durchgeführt wird;
wobei das Verfahren ferner das Auswählen eines Bewegungsvektorvorhersagekandidaten aus der Merge-Liste, um eine Bewegungsvektorvorhersage für den empfangenen kodierten Block von Pixeln zu repräsentieren, umfasst;
Bestimmen einer maximalen Anzahl von räumlichen Bewegungsvektorvorhersagekandidaten, die in die Merge-Liste einzuschließen sind;
Begrenzen der Anzahl von räumlichen Bewegungsvektorvorhersagekandidaten in der Merge-Liste auf kleiner oder gleich der maximalen Anzahl;
wenn die Anzahl von räumlichen Bewegungsvektorvorhersagekandidaten in der Merge-Liste kleiner [ist] als die maximale Anzahl, Überprüfen, ob eine Vorhersageeinheit, zu der der potenzielle räumlichen Bewegungsvektorvorhersagekandidat gehört, für die Bewegungsvorhersage verfügbar ist; wenn ja, Durchführen von mindestens einem von Folgendem:
wenn sich der potenzielle räumliche Bewegungsvektorvorhersagekandidat (902) links von der Vorhersageeinheit befindet, Ausschließen des potenziellen räumlichen Bewegungsvektorvorhersagekandidaten (902) aus der Merge-Liste, wenn eine der folgenden Bedingungen erfüllt ist:
- der empfangene kodierte Block von Pixeln ist vertikal in eine erste Vorhersageeinheit und eine zweite Vorhersageeinheit geteilt und die Vorhersageeinheit ist die zweite Vorhersageeinheit;
- der empfangene kodierte Block von Pixeln ist horizontal in eine erste Vorhersageeinheit und eine zweite Vorhersageeinheit geteilt, und wenn die Vorhersageeinheit die zweite Vorhersageeinheit ist, und der potenzielle räumlichen Bewegungsvektorvorhersagekandidat (902) hat dieselben Bewegungsvektoren und dieselben Referenzindizes wie der räumliche Bewegungsvektorvorhersagekandidat (904) über der Vorhersageeinheit;
wenn sich der potenzielle räumliche Bewegungsvektorvorhersagekandidat (904) über der Vorhersageeinheit befindet, Ausschließen des potenziellen räumlichen Bewegungsvektorvorhersagekandidaten (904) aus der MergeListe, wenn eine der folgenden Bedingungen erfüllt ist:
- der empfangene kodierte Block von Pixeln ist horizontal in eine erste Vorhersageeinheit und eine zweite Vorhersageeinheit geteilt und die Vorhersageeinheit ist in Dekodierreihenfolge die zweite Vorhersageeinheit;
- der potenzielle räumliche Bewegungsvektorvorhersagekandidat (904) hat dieselben Bewegungsvektoren und dieselben Referenzindizes wie der räumliche Bewegungsvektorvorhersagekandidat (902) links von der Vorhersageeinheit;
wenn sich der potenzielle räumliche Bewegungsvektorvorhersagekandidat (903) über der Vorhersageeinheit rechts vom räumlichen Bewegungsvektorvorhersagekandidaten (904) befindet, Ausschließen des potenziellen räumlichen Bewegungsvektorvorhersagekandidaten (903) aus der MergeListe, wenn der potenzielle räumliche Bewegungsvektorvorhersagekandidat dieselben Bewegungsvektoren und dieselben Referenzindizes hat wie der räumliche Bewegungsvektorvorhersagekandidat (904) über der Vorhersageeinheit;
wenn sich der potenzielle räumliche Bewegungsvektorvorhersagekandidat (901) links von der Vorhersageeinheit unter dem räumlichen Bewegungsvektorvorhersagekandidaten (902) befindet, Ausschließen des potenziellen räumlichen Bewegungsvektorvorhersagekandidaten (901) aus der Merge-Liste, wenn der potenzielle räumliche Bewegungsvektorvorhersagekandidat (901) dieselben Bewegungsvektoren und dieselben Referenzindizes hat wie der räumliche Bewegungsvektorvorhersagekandidat (902) links von der Vorhersageeinheit;
wenn der potenzielle räumliche Bewegungsvektorvorhersagekandidat (905) der Vorhersageeinheit an der Ecke oben links benachbart ist, Ausschließen des potenziellen räumlichen Bewegungsvektorvorhersagekandidaten (905) aus der Merge-Liste, wenn eine der folgenden Bedingungen erfüllt ist:
- alle anderen räumlichen Bewegungsvektorvorhersagekandidaten (901-904) wurden in die Merge-Liste eingeschlossen;
- der potenzielle räumliche Bewegungsvektorvorhersagekandidat(905) hat dieselben Bewegungsvektoren und dieselben Referenzindizes wie der räumliche Bewegungsvektorvorhersagekandidat (904) über der Vorhersageeinheit;
- der potenzielle räumliche Bewegungsvektorvorhersagekandidat(905) hat dieselben Bewegungsvektoren und dieselben Referenzindizes wie der räumliche Bewegungsvektorvorhersagekandidat (902) links von der Vorhersageeinheit.
- unmittelbare Verletzung von Anspruch 10 in Verbindung mit Anspruch 6 – in der Bundesrepublik Deutschland anzubieten, in Verkehr zu bringen oder zu gebrauchen oder zu den genannten Zwecken einzuführen und/oder zu besitzen,
- unmittelbare Verletzung von Anspruch 10 in Verbindung mit Anspruch 6 in der Fassung gemäß Hilfsantrag 4 im Nichtigkeitsverfahren – nämlich Endnutzergeräte der Beklagten, Geräte, die fähig sind, die HEVCTechnologie zu nutzen,
Hilfsantrag 5:
Der Antrag zu Ziffer I. 1. gemäß obigem Hauptantrag erhält folgende Fassung (inhaltliche Abweichungen zum Hauptantrag hervorgehoben); die restlichen Anträge bleiben unverändert:
I. Die Beklagten werden verurteilt,
1. es bei Meidung eines für jeden Fall der Zuwiderhandlung festzusetzenden Ordnungsgeldes bis zu 250.000,00 EUR – ersatzweise Ordnungshaft – oder einer Ordnungshaft bis zu sechs Monaten, im Falle wiederholter Zuwiderhandlung bis zu insgesamt zwei Jahren, wobei die Ordnungshaft hinsichtlich der Beklagten an ihren gesetzlichen Vertretern zu vollziehen ist, zu unterlassen,
Vorrichtungen, die Mittel zur Durchführung des folgenden Verfahrens umfassen:
Empfangen eines kodierten Blocks von Pixeln, der eine Vorhersageeinheit einschließt; wobei der kodierte Block von Pixeln durch eine Kodiereinheit dargestellt wird, wobei die Kodiereinheit eine Skip-Modus-Kodiereinheit ist;
Bestimmen eines Satzes von räumlichen Bewegungsvektorvorhersagekandidaten, die sich unten links (901), links (902), oben links (905), oben (904) und oben rechts (903) von der Vorhersageeinheit befinden, für den kodierten Block (900) von Pixeln; wobei die räumlichen Bewegungsvektorvorhersagekandidaten mit Bewegungsinformationen versehen sind, die mindestens einen Bewegungsvektor und einen Referenzindex umfassen; Bestimmen eines Untersatzes von räumlichen Bewegungsvektorvorhersagekandidatenpaaren unter existierenden räumlichen Bewegungsvektorvorhersagekandidatenpaaren zum Vergleich unter allen verfügbaren räumlichen Bewegungsvektorvorhersagekandidatenpaaren in dem Satz von räumlichen Bewegungsvektorvorhersagekandidaten; Auswählen eines räumlichen Bewegungsvektorvorhersagekandidaten aus dem Satz von räumlichen Bewegungsvektorvorhersagekandidaten als einen potenziellen räumlichen Bewegungsvektorvorhersagekandidaten, der in eine Merge-Liste für die Vorhersageeinheit einzuschließen ist;
Überprüfen des Untersatzes von räumlichen Bewegungsvektorvorhersagekandidatenpaaren, um zu bestimmen, welcher andere räumlichen Bewegungsvektorvorhersagekandidat als der ausgewählte räumliche Bewegungsvektorvorhersagekandidat als zum selben räumlichen Bewegungsvektorvorhersagekandidatenpaar gehörend definiert ist;
Vergleichen von Bewegungsinformationen des ausgewählten räumlichen Bewegungsvektorvorhersagekandidaten mit Bewegungsinformationen des anderen räumlichen Bewegungsvektorvorhersagekandidaten;
wenn der Vergleich anzeigt, dass die Bewegungsvektorinformationen des anderen räumlichen Bewegungsvektorvorhersagekandidaten den Bewegungsvektorinformationen des ausgewählten räumlichen Bewegungsvektorvorhersagekandidaten entsprechen, Ausschließen des ausgewählten räumlichen Bewegungsvektorvorhersagekandidaten aus der Merge-Liste, wenn der ausgewählte räumliche Bewegungsvektorvorhersagekandidat nicht ausgeschlossen ist, ihn Einschließen in die Merge-Liste;
wobei nach Einschließen des ausgewählten räumlichen Bewegungsvektorvorhersagekandidaten in die Merge-Liste keine Redundanzprüfung mehr zwischen dem ausgewählten räumlichen Bewegungsvektorvorhersagekandidaten und anderen räumlichen Bewegungsvektorvorhersagekandidaten, die aus dem Satz von räumlichen Bewegungsvektorvorhersagekandidaten stammen und die in der Merge-Liste eingeschlossen sind, durchgeführt wird;
wobei das Verfahren ferner das Auswählen eines Bewegungsvektorvorhersagekandidaten aus der Merge-Liste, um eine Bewegungsvektorvorhersage für den empfangenen kodierten Block von Pixeln zu repräsentieren, umfasst;
Bestimmen einer maximalen Anzahl von räumlichen Bewegungsvektorvorhersagekandidaten, die in die Merge-Liste einzuschließen sind;
Begrenzen der Anzahl von räumlichen Bewegungsvektorvorhersagekandidaten in der Merge-Liste auf kleiner oder gleich der maximalen Anzahl;
wenn die Anzahl von räumlichen Bewegungsvektorvorhersagekandidaten in der Merge-Liste kleiner [ist] als die maximale Anzahl, Überprüfen, ob eine Vorhersageeinheit, zu der der potenzielle räumlichen Bewegungsvektorvorhersagekandidat gehört, für die Bewegungsvorhersage verfügbar ist; wenn ja, Durchführen von mindestens einem von Folgendem:
wenn sich der potenzielle räumliche Bewegungsvektorvorhersagekandidat (902) links von der Vorhersageeinheit befindet, Ausschließen des potenziellen räumlichen Bewegungsvektorvorhersagekandidaten (902) aus der Merge-Liste, wenn eine der folgenden Bedingungen erfüllt ist:
- der empfangene kodierte Block von Pixeln ist vertikal in eine erste Vorhersageeinheit und eine zweite Vorhersageeinheit geteilt und die Vorhersageeinheit ist die zweite Vorhersageeinheit;
- der empfangene kodierte Block von Pixeln ist horizontal in eine erste Vorhersageeinheit und eine zweite Vorhersageeinheit geteilt, und wenn die Vorhersageeinheit die zweite Vorhersageeinheit ist, und der potenzielle räumlichen Bewegungsvektorvorhersagekandidat (902) hat dieselben Bewegungsvektoren und dieselben Referenzindizes wie der räumliche Bewegungsvektorvorhersagekandidat (904) über der Vorhersageeinheit;
wenn sich der potenzielle räumliche Bewegungsvektorvorhersagekandidat (904) über der Vorhersageeinheit befindet, Ausschließen des potenziellen räumlichen Bewegungsvektorvorhersagekandidaten (904) aus der MergeListe, wenn eine der folgenden Bedingungen erfüllt ist:
- der empfangene kodierte Block von Pixeln ist horizontal in eine erste Vorhersageeinheit und eine zweite Vorhersageeinheit geteilt und die Vorhersageeinheit ist in Dekodierreihenfolge die zweite Vorhersageeinheit;
- der potenzielle räumliche Bewegungsvektorvorhersagekandidat (904) hat dieselben Bewegungsvektoren und dieselben Referenzindizes wie der räumliche Bewegungsvektorvorhersagekandidat (902) links von der Vorhersageeinheit;
wenn sich der potenzielle räumliche Bewegungsvektorvorhersagekandidat (903) über der Vorhersageeinheit rechts vom räumlichen Bewegungsvektorvorhersagekandidaten (904) befindet, Ausschließen des potenziellen räumlichen Bewegungsvektorvorhersagekandidaten (903) aus der MergeListe, wenn der potenzielle räumliche Bewegungsvektorvorhersagekandidat dieselben Bewegungsvektoren und dieselben Referenzindizes hat wie der räumliche Bewegungsvektorvorhersagekandidat (904) über der Vorhersageeinheit;
wenn sich der potenzielle räumliche Bewegungsvektorvorhersagekandidat (901) links von der Vorhersageeinheit unter dem räumlichen Bewegungsvektorvorhersagekandidaten (902) befindet, Ausschließen des potenziellen räumlichen Bewegungsvektorvorhersagekandidaten (901) aus der Merge-Liste, wenn der potenzielle räumliche Bewegungsvektorvorhersagekandidat (901) dieselben Bewegungsvektoren und dieselben Referenzindizes hat wie der räumliche Bewegungsvektorvorhersagekandidat (902) links von der Vorhersageeinheit;
wenn der potenzielle räumliche Bewegungsvektorvorhersagekandidat (905) der Vorhersageeinheit an der Ecke oben links benachbart ist, Ausschließen des potenziellen räumlichen Bewegungsvektorvorhersagekandidaten (905) aus der Merge-Liste, wenn eine der folgenden Bedingungen erfüllt ist:
- alle anderen räumlichen Bewegungsvektorvorhersagekandidaten (901-904) wurden in die Merge-Liste eingeschlossen;
- der potenzielle räumliche Bewegungsvektorvorhersagekandidat(905) hat dieselben Bewegungsvektoren und dieselben Referenzindizes wie der räumliche Bewegungsvektorvorhersagekandidat (904) über der Vorhersageeinheit;
- der potenzielle räumliche Bewegungsvektorvorhersagekandidat(905) hat dieselben Bewegungsvektoren und dieselben Referenzindizes wie der räumliche Bewegungsvektorvorhersagekandidat (902) links von der Vorhersageeinheit.
- unmittelbare Verletzung von Anspruch 10 in Verbindung mit Anspruch 6 – in der Bundesrepublik Deutschland anzubieten, in Verkehr zu bringen oder zu gebrauchen oder zu den genannten Zwecken einzuführen und/oder zu besitzen,
- unmittelbare Verletzung von Anspruch 10 in Verbindung mit Anspruch 6 in der Fassung gemäß Hilfsantrag 5 im Nichtigkeitsverfahren – nämlich Endnutzergeräte der Beklagten, Geräte, die fähig sind, die HEVCTechnologie zu nutzen.
Die Beklagten beantragen,
I. die Klage abzuweisen,
II. hilfsweise das Verfahren bis zum Abschluss des gegen das Klagepatent anhängigen Nichtigkeitsverfahrens 5 Ni 22/25 (EP) auszusetzen,
III. äußerst hilfsweise der Beklagten nachzulassen, die Vollstreckung gegen Sicherheitsleistung abzuwenden.
Die Klägerin tritt dem Aussetzungsantrag entgegen.
13
Die Beklagten tragen vor, die angegriffenen Ausführungsformen verwirklichten jedenfalls die Merkmale 6.4, 6.9 und 6.10 nicht.
14
Die Beklagten erheben den kartellrechtlichen Zwangslizenzeinwand, da die Klägerin ihnen kein FRANDgemäßes Lizenzangebot gemacht habe.
15
Das Klagepatent sei zudem nicht rechtsbeständig, da der geltend gemachte Patentanspruch durch den Stand der Technik neuheitsschädlich getroffen sei. Das hiesige Verletzungsverfahren sei gemäß § 148 ZPO im Hinblick auf das anhängige Nichtigkeitsverfahren auszusetzen.
16
Das Verfahren wurde gemeinsam mit dem Verfahren 7 O 4100/25 verhandelt. Dabei wurden auch die FRAND-Fragestellungen gemeinsam verhandelt. Lediglich als es um die individuellen Angebote ging, wurden die Verfahren wieder getrennt und es wurde gesondert verhandelt.
17
Im Übrigen wird auf die Schriftsätze der Parteien nebst Anlagen sowie das Protokoll der mündlichen Verhandlung vom 22. Januar 2026 verwiesen.

Entscheidungsgründe

18
Die zulässige Klage ist begründet. Aus der zutreffenden Auslegung der strittigen Merkmale 6.4 und 6.10 des Klagepatents (A. I.) folgt, dass der H.265/HEVC-Standard und damit die angegriffenen Ausführungsformen von der Lehre des Klagepatents hinsichtlich aller Merkmale Gebrauch macht (A. II., III.). Der kartellrechtliche Zwangslizenzeinwand greift nicht durch (A. IV). Daraus ergeben sich die tenorierten Rechtsfolgen (A. V.). Eine Aussetzung des Verfahrens gemäß § 148 ZPO im Hinblick auf das Nichtigkeitsverfahren war aufgrund der Entgegenhaltungen nicht angezeigt (B.). Entsprechend waren die Nebenfolgen festzusetzen (C.).
A.
19
I. Das Klagepatent betrifft ein Verfahren zur Kodierung und Dekodierung von Videoinformationen sowie Vorrichtungen, die diese Verfahren ausführen können (Titel sowie Abs. [0001]).
20
1. Die Klagepatentschrift führt zum vorbekannten Stand der Technik aus, Videocodecs enthielten einen Kodierer, der ein Video zum Zwecke der Speicherung und Übertragung komprimieren könne, sowie einen Dekodierer, der das Video zum Zwecke des Anschauens entkomprimieren könne; dies diene der Reduzierung der Datenmenge (Abs. [0003]). Der Kodierer arbeite dabei nach dem Verfahren der Vorhersage. Bei diesem Verfahren würde der Kodierer Pixelwerte eines zu kodierenden Pixelblocks auf der Basis eines bereits kodierten Pixelblocks, der dem zu kodierenden Pixelblock stark ähnele, vorhersagen (Abs. [0004]). Es gebe zwei Methoden der Vorhersage: zum einen die „motion compensation mechanisms“ (Bewegungskompensationsmechanismen), bei denen die Vorhersage auf der Basis eines zuvor bereits kodierten anderen Bildes („frame“) erfolge, zum anderen die „spatial mechanisms“ (räumliche Mechanismen), bei denen die Vorhersage auf der Basis eines benachbarten Pixelblocks in dem zu kodierenden Bild erfolge (Abs. [0004]). Die erste Option könne man auch „Inter prediction method“ nennen, die zweite „Intra prediction method“ (Abs. [0005]). Im Anschluss an die Vorhersage erfolge noch eine Fehlerkorrektur (Abs. [0006]). Zum Zwecke der Kodierung und Dekodierung werde das Bild in „coding units“ (CU) unterteilt, die wiederum in „prediction units“ (PU) unterteilt würden. Die PUs enthielten die Information, welche Art von Vorhersage für die Pixel der PU angewendet werden solle (Abs. [0011]).
21
Der Dekodierer gehe bei der Rekonstruktion des Videos entsprechend vor. Er rekonstruiere also einen zu dekodierenden Pixelblock auf der Basis der vom Kodierer gespeicherten Bewegungs- bzw. räumlichen Informationen („motion or spatial information“); der Kodierer speichere diese Informationen in der komprimierten Version des Videos (Abs. [0008]), also in den PUs.
22
Die Bewegungsinformation werde in manchen Videocodecs in Form von Bewegungsvektoren („motion vector“) betreffend den jeweiligen Pixelblock angezeigt. Diese gäben die Bewegung eines Pixelblocks zwischen einem Bild und dem nächsten an (Abs. [0012]). Eine Möglichkeit für die Vorhersage des Bewegungsvektors für den zu dekodierenden Pixelblock – also für die Vorhersage, wie sich dieser Pixelblock zwischen einem bereits dekodierten Bild und dem zu dekodierenden Bild bewegt – bestehe nun darin, eine Kandidatenliste mit Bewegungsvektoren betreffend andere Pixelblöcke zu erstellen, die für die Vorhersage in Betracht kämen, und daraus einen Kandidaten auszuwählen, der dann die Bewegung auch für den zu dekodierenden Pixelblock vorgibt. Das ginge sowohl für die „motion compensation mechanisms“ (dann „temporal motion vector prediction“ oder zeitliche Bewegungsvektorvorhersage) als auch für die „spatial mechanisms“ (dann „spatial motion vector prediction“ oder räumliche Bewegungsvektorvorhersage). Bei Letzterer werde – im Kontext der Dekodierung – auf den bereits dekodierten Bewegungsvektor eines räumlich angrenzenden Pixelblocks im zu dekodierenden Bild zurückgegriffen (Abs. [0013], [0017], [0021]). Wenn mehrere Vektorkandidaten dieselbe Bewegungsinformation enthielten, könne man Dopplungen löschen, um Redundanz zu reduzieren (Abs. [0017]). Das Klagepatent kritisiert die „temporal motion vector prediction“ dafür, dass hierbei Daten verloren gehen könnten mit der Folge von Qualitätsverlusten (Abs. [0017]), und fokussiert sich auf die räumliche Bewegungsvektorvorhersage.
23
Das von Nakamura verfasste Dokument „Unification of derivation process for merge mode and MVP“ offenbare ein System, in dem die ersten beiden verfügbaren räumlichen Vorhersagekandidaten sowie ein zeitlicher Vorhersagekandidat „blind“ miteinander verglichen würden, wobei hinsichtlich der Bewegung identische Kandidaten gelöscht würden. Bei diesem System könne es aber sein, dass die ausgewählten räumlichen Kandidaten nicht die besten seien (Abs. [0018]).
24
2. Das Klagepatent stellt sich vor diesem Hintergrund die Aufgabe, ein Verfahren der Erzeugung einer Bewegungsvektorenvorhersagen-Liste für einen Pixelblock bereitzustellen, dessen Implementierung einen verringerten Grad an Komplexität aufweise. Das werde dadurch erreicht, dass die Anzahl an Vergleichen zwischen Vektorkandidaten reduziert werde, insoweit also eine Auswahl stattfinde, wobei die Entscheidung, welche Vektorkandidaten miteinander verglichen werden sollten, von mehreren Parametern, u.a. deren jeweiliger Position, abhänge (Abs. [0021]).
25
3. Als Lösung stellt das Klagepatent die vorliegend geltend gemachten Ansprüche 6 und 10 vor, die sich wie folgt gliedern lassen:
6.1 Vorrichtung, die Mittel zur Durchführung des folgenden Verfahrens umfasst:
6.2 Empfangen eines kodierten Blocks von Pixeln, der eine Vorhersageeinheit einschließt;
6.3 Bestimmen eines Satzes von Raumbewegungsvektorvorhersagekandidaten, die sich unten links (901), links (902), oben links (905), oben (904) und oben rechts (903) von der Vorhersageeinheit befinden, für den kodierten Block (900) von Pixeln; wobei die Raumbewegungsvektorvorhersagekandidaten mit Bewegungsinformationen versehen sind, die mindestens einen Bewegungsvektor und einen Referenzindex umfassen;
6.4 Bestimmen eines Untersatzes von Raumbewegungsvektorvorhersagekandidatenpaaren unter existierenden Raumbewegungsvektorvorhersagekandidatenpaaren zum Vergleich unter allen verfügbaren Raumbewegungsvektorvorhersagekandidatenpaaren in dem Satz von Raumbewegungsvektorvorhersagekandidaten;
6.5 Auswählen eines Raumbewegungsvektorvorhersagekandidaten aus dem Satz von Raumbewegungsvektorvorhersagekandidaten als einen potenziellen Raumbewegungsvektorvorhersagekandidaten, der in eine Merge-Liste für die Vorhersageeinheit einzuschließen ist;
6.6 Überprüfen des Untersatzes von Raumbewegungsvektorvorhersagekandidatenpaaren, um zu bestimmen, welcher andere Raumbewegungsvektorvorhersagekandidat als der ausgewählte Raumbewegungsvektorvorhersagekandidat als zum selben Raumbewegungsvektorvorhersagekandidatenpaar gehörend definiert ist;
6.7 Vergleichen von Bewegungsinformationen des ausgewählten Raumbewegungsvektorvorhersagekandidaten mit Bewegungsinformationen des anderen Raumbewegungsvektorvorhersagekandidaten; wenn der Vergleich anzeigt, dass die Bewegungsvektorinformationen des anderen Raumbewegungsvektorvorhersagekandidaten den Bewegungsvektorinformationen des ausgewählten Raumbewegungsvektorvorhersagekandidaten entsprechen, Ausschließen des ausgewählten Raumbewegungsvektorvorhersagekandidaten aus der Merge-Liste,
6.8 wobei das Verfahren ferner das Auswählen eines Bewegungsvektorvorhersagekandidaten aus der Merge-Liste, um eine Bewegungsvektorvorhersage für den empfangenen kodierten Block von Pixeln zu repräsentieren, umfasst;
6.9 Bestimmen einer maximalen Anzahl von Raumbewegungsvektorvorhersagekandidaten, die in die Merge-Liste einzuschließen sind;
6.10 Begrenzen der Anzahl von Raumbewegungsvektorvorhersagekandidaten in der Merge-Liste auf kleiner oder gleich der maximalen Anzahl; wenn die Anzahl von Raumbewegungsvektorvorhersagekandidaten in der Merge-Liste kleiner ist als die maximale Anzahl, Überprüfen, ob eine Vorhersageeinheit, zu der der potenzielle Raumbewegungsvektorvorhersagekandidat gehört, für die Bewegungsvorhersage verfügbar ist; wenn ja, Durchführen von mindestens einem von Folgendem:
6.10.1 wenn sich der potenzielle Raumbewegungsvektorvorhersagekandidat (902) links von der Vorhersageeinheit befindet, Ausschließen des potenziellen Raumbewegungsvektorvorhersagekandidaten (902) aus der Merge-Liste, wenn eine der folgenden Bedingungen erfüllt ist: (a) der empfangene kodierte Block von Pixeln ist vertikal in eine erste Vorhersageeinheit und eine zweite Vorhersageeinheit geteilt und die Vorhersageeinheit ist die zweite Vorhersageeinheit; (b) der empfangene kodierte Block von Pixeln ist horizontal in eine erste Vorhersageeinheit und eine zweite Vorhersageeinheit geteilt, und wenn die Vorhersageeinheit die zweite Vorhersageeinheit ist, und der potenzielle Raumbewegungsvektorvorhersagekandidat (902) hat dieselben Bewegungsvektoren und dieselben Referenzindizes wie der Raumbewegungsvektorvorhersagekandidat (904) über der Vorhersageeinheit;
6.10.2 wenn sich der potenzielle Raumbewegungsvektorvorhersagekandidat (904) über der Vorhersageeinheit befindet, Ausschließen des potenziellen Raumbewegungsvektorvorhersagekandidaten (904) aus der Merge-Liste, wenn eine der folgenden Bedingungen erfüllt ist: (a) der empfangene kodierte Block von Pixeln ist horizontal in eine erste Vorhersageeinheit und eine zweite Vorhersageeinheit geteilt und die Vorhersageeinheit ist in Dekodierreihenfolge die zweite Vorhersageeinheit; (b) der potenzielle Raumbewegungsvektorvorhersagekandidat (904) hat dieselben Bewegungsvektoren und dieselben Referenzindizes wie der Raumbewegungsvektorvorhersagekandidat (902) links von der Vorhersageeinheit;
6.10.3 wenn sich der potenzielle Raumbewegungsvektorvorhersagekandidat (903) über der Vorhersageeinheit rechts vom Raumbewegungsvektorvorhersagekandidaten (904) befindet, Ausschließen des potenziellen Raumbewegungsvektorvorhersagekandidaten (903) aus der Merge-Liste, wenn der potenzielle Raumbewegungsvektorvorhersagekandidat dieselben Bewegungsvektoren und dieselben Referenzindizes hat wie der Raumbewegungsvektorvorhersagekandidat (904) über der Vorhersageeinheit;
6.10.4 wenn sich der potenzielle Raumbewegungsvektorvorhersagekandidat (901) links von der Vorhersageeinheit unter dem Raumbewegungsvektorvorhersagekandidaten (902) befindet, Ausschließen des potenziellen Raumbewegungsvektorvorhersagekandidaten (901) aus der Merge-Liste, wenn der potenzielle Raumbewegungsvektorvorhersagekandidat (901) dieselben Bewegungsvektoren und dieselben Referenzindizes hat wie der Raumbewegungsvektorvorhersagekandidat (902) links von der Vorhersageeinheit;
6.10.5 der potenzielle Raumbewegungsvektorvorhersagekandidat (905) der Vorhersageeinheit an der Ecke oben links benachbart ist, Ausschließen des potenziellen Raumbewegungsvektorvorhersagekandidaten (905) aus der Merge-Liste, wenn eine der folgenden Bedingungen erfüllt ist: (a) alle anderen Raumbewegungsvektorvorhersagekandidaten (901904) wurden in die Merge-Liste eingeschlossen; (b) der potenzielle Raumbewegungsvektorvorhersagekandidat (905) hat dieselben Bewegungsvektoren und dieselben Referenzindizes wie der Raumbewegungsvektorvorhersagekandidat (904) über der Vorhersageeinheit; (c) der potenzielle Raumbewegungsvektorvorhersagekandidat (905) hat dieselben Bewegungsvektoren und dieselben Referenzindizes wie der Raumbewegungsvektorvorhersagekandidat (902) links von der Vorhersageeinheit.
26
In Merkmal 6.1 sind sich die Parteien darin einig, dass die offizielle deutsche Übersetzung „ein Mittel“ im Hinblick darauf, dass es in der englischen Fassung „means“ heißt, falsch ist. In der obigen Merkmalsgliederung wird daher unbestimmt von „Mittel“ gesprochen.
27
Die Parteien haben darüber hinaus einheitlich anstelle des in der deutschen Übersetzung verwendeten Begriffs „Mischliste“ von der „Merge-Liste“ gesprochen, in Anlehnung an den englischen Begriff „merge list“. Auch diese Abweichung wurde für obige Merkmalsgliederung übernommen.
28
4. Im Hinblick auf die zwischen den Parteien geführte Diskussion zur Auslegung der streitigen Merkmale 6.4 und 6.10 der Patentansprüche 6 und 10 sind die folgenden Ausführungen veranlasst. Die Kammer geht davon aus, dass es sich bei dem Fachmann um einen Hochschulabsolventen in Elektrotechnik, Informationstechnik oder Physik handelt, der über mehrjährige Berufserfahrung im Bereich der Videocodierung und dessen Standardisierung verfügt und typischerweise an Arbeitsgruppentreffen der entsprechenden Standardisierungsvorhaben teilnimmt.
29
a. Das Klagepatent betrifft ein Verfahren der Komprimierung und Entkomprimierung von Videoinformationen. Ausgangspunkt für das Verständnis der Erfindung des Klagepatents ist, dass die Speicherung und Übertragung von Videodateien (ein Kinofilm wird in der Regel mit 24 Bildern pro Sekunde gedreht, im Bereich der Computerspiele ist die Bildrate noch deutlich höher) sehr viel Speicherplatz benötigen würden, wenn die Pixelinformationen aller Bilder des Videos gespeichert bzw. übertragen würden. Aus diesem Grund wird die Datenmenge durch Verwendung des Vorhersageverfahrens reduziert.
30
Beim Verfahren der Vorhersage wird die Speicherung und Übertragung von Pixeln ersetzt durch die Speicherung und Übertragung von (weniger Speicherplatz benötigenden) Daten, mittels denen der Dekodierer aus bereits dekodierten Pixelblöcken auf die Pixelwerte des noch zu dekodierenden Pixelblocks schließen kann. Dabei wendet der Dekodierer das vom Kodierer angewandte Verfahren spiegelbildlich an, arbeitet folglich nach Parametern, die der Kodierer bzw. das den Kodierer steuernde Verfahren vorgibt.
31
Das Klagepatent konzentriert sich auf den Aspekt der räumlichen Bewegungsvektorvorhersage („spatial motion vector prediction“, siehe Merkmal 6.2). Bei dieser Vorhersage schließt der Dekodierer aus der Information, inwieweit sich die bereits dekodierten Pixelblöcke in der Nachbarschaft des zu dekodierenden Pixelblocks im Vergleich zum vorherigen Bild bewegt haben, wie sich der zu dekodierende Pixelblock bewegen sollte. Es handelt sich mithin um eine Kombination der „Inter Prediction Method“ und der „Intra Prediction Method“. Das funktioniert deshalb, weil sich die Pixelblöcke angesichts der hohen Bildrate pro Sekunde in der Regel nur sehr wenig von einem zum nächsten Bild verändern. Die räumliche Bewegungsvektorvorhersage betrifft also nur die Frage der Bewegung der Pixel, ohne die Pixel selbst zu identifizieren. Die Information betreffend die Pixel selbst holt sich der Dekodierer aus einem bereits dekodierten Referenzbild, auf welches ihn der Referenzindex verweist, den er ebenso wie den Bewegungsvektor aus den Nachbarblöcken des zu dekodierenden Pixelblocks liest (siehe Merkmal 6.3).
32
Merkmal 6.3 nennt die fünf räumlich zu dem zu dekodierenden Pixelblock (= Vorhersageeinheit) benachbarten Vorhersageeinheiten: links, oberhalb, rechts oberhalb, links unterhalb und links oberhalb der zu kodierenden bzw. zu dekodierenden Vorhersageeinheit. Diese räumliche Anordnung ergibt sich aus der hergebrachten Leserichtung des Kodierers bzw. Dekodierers von links oben nach rechts unten. Die benachbarten Vorhersageeinheiten werden im Klagepatent mit den Nummern A0 (links unten), A1 (links), B2 (links oben), B1 (oben) und B0 (rechts oben) bezeichnet (siehe untenstehende Fig. 9, wobei Ziffer 900 die zu dekodierende Vorhersageeinheit bezeichnet):
33
Der Dekodierer könnte nun die Bewegungsvektoren aller fünf benachbarter Vorhersageeinheiten untersuchen und dann entscheiden, welchen Bewegungsvektor er für den zu dekodierenden Pixelblock anwendet.
34
Das Klagepatent ordnet hingegen an, dass nicht alle Bewegungsvektoren aus der räumlichen Nachbarschaft des zu dekodierenden Pixelblocks miteinander verglichen werden. Stattdessen werden bestimmte Vektoren ausgewählt, die untereinander im Hinblick auf ihre Bewegungsinformationen verglichen werden (siehe Abs. [0021]). Die erforderliche Rechenleistung wird also reduziert. Soweit die miteinander verglichenen Vektoren identische Bewegungsinformationen aufweisen, wird einer der beiden nicht in die Liste an Vektorkandidaten für die Vorhersage des zu dekodierenden Pixelblocks aufgenommen, um Redundanzen zu vermeiden. Die Liste, die der Dekodierer auf diese Weise erstellt, ist (jedenfalls soweit für das hiesige Verfahren relevant) identisch zu der zuvor vom Kodierer erstellten Liste. Wenn die Liste fertig erstellt ist, wählt der Dekodierer einen Kandidaten aus der Liste aus, in der Regel auf Basis einer entsprechenden Angabe des Kodierers (siehe Abs. [0125]). Das Klagepatent verwendet in Bezug auf die Kandidatenliste den Begriff „merge list“ („Mischliste“ bzw. hier Merge-Liste), weil in der Liste Informationen aus verschiedenen räumlichen Bereichen, aber auch zeitliche Bewegungsinformationen und die Referenzindizes zusammengeführt werden. Im Einzelnen gilt Folgendes:
35
(1) Merkmal 6.4 stellt den ersten Schritt der Reduzierung der Anzahl der benachbarten Bewegungsvektoren dar (dem in Merkmal 6.3 erläuterten und in Merkmal 6.4 in Bezug genommenen „Satz von Raumbewegungsvektorvorhersagekandidaten“), die untereinander verglichen werden, und gibt vor, dass für diese Reduzierung Paare unter den Vektoren gebildet werden. Dabei macht das Klagepatent an dieser Stelle keine Vorgabe, welche Paare gebildet werden. Unter diesen Paaren soll ein Untersatz bestimmt werden für einen möglichen Vergleich unter allen verfügbaren Raumbewegungsvektorvorhersagekandidatenpaaren (ein Paar kann zum Beispiel deshalb nicht verfügbar sein, weil der Vektor A1 nicht existiert, da der Dekodierer gerade dabei ist, einen Pixelblock am linken Rand des Bildes zu dekodieren). Würden alle benachbarten Vektoren untereinander verglichen, würden Redundanzen zwar noch zuverlässiger entfernt, aber es bräuchte mehr Vergleiche, also einen höheren Rechenaufwand. Das Klagepatent verfolgt also einen Kompromiss zwischen der Einsparung von Speicherplatz und der Einsparung von Rechenleistung. Zur Illustration wird nachfolgend eine Grafik aus der Klageschrift (Rn 58) abgebildet:
36
(2) Im Anschluss wählt der Dekodierer einen der fünf Raumbewegungsvektorvorhersagekandidaten als einen potenziellen Kandidaten für die Merge-Liste aus, wobei die Wahl mit derjenigen des Kodierers übereinstimmen muss (Merkmal 6.5). Wenn die Wahl zum Beispiel, im Anschluss an obige Grafik, auf den Vektor A0 gefallen ist, sucht der Dekodierer nun in dem nach Merkmal 6.4 gebildeten Untersatz nach dem definierten Partner von A0, im konkreten Beispiel A1 (Merkmal 6.6). Diese beiden Vektoren werden dann gemäß Merkmal 6.7 im Hinblick auf ihre Bewegungsinformationen untereinander verglichen. In dem Fall, dass die Bewegungsinformationen identisch sind, wird der nach Merkmal 6.5 ausgewählte Vektorkandidat aus der Kandidatenliste entfernt, um Redundanzen zu vermeiden (über den Einschluss des Vergleichsvektors auf der Liste wird an dieser Stelle nicht entschieden); andernfalls wird der ausgewählte Kandidat (vorbehaltlich der gegebenenfalls erforderlichen Prüfung anhand der Merkmalsgruppe 6.10) in die MergeListe aufgenommen.
37
Die Parteien streiten sich darüber, ob dieses in den Merkmalen 6.4 bis 6.7 allgemein beschriebene Verfahren durch die Merkmalsgruppe 6.10 derart konkretisiert wird, dass der nach Merkmal 6.4 gebildete Untersatz nur aus den in den Merkmalen 6.10.1 bis 6.10.5 angesprochenen Paaren bestehen kann (so die Beklagten) oder ob auch weitere Paare möglich sind (so die Klägerin). Das wird im Rahmen der Auslegung von Merkmal 6.4 diskutiert werden.
38
(3) Im Sinne des Interesses, die Merge-Liste möglichst kurz zu halten, bestimmt der Dekodierer die maximale Anzahl von Raumbewegungsvorhersagekandidaten, die in die Merge-Liste einzuschließen sind, wobei die Anzahl der vom Kodierer vorgegebenen Anzahl entsprechen muss. Die Anzahl kann prinzipiell jeden Wert außer Null einnehmen, in der Regel ist die Zahl aber kleiner als fünf (siehe Abs. [0072], [0086] f.; Merkmal 6.9). Nur dann, wenn die maximale Anzahl noch nicht erreicht ist, kann ein nach Merkmal 6.5 ausgewählter potenzieller Raumbewegungsvorhersagekandidat den „Tests“ der Merkmalsgruppe 10 unterworfen werfen, um zu entscheiden, ob er noch auf die Merge-Liste aufgenommen werden kann; andernfalls wird er nicht aufgenommen und das Verfahren der Erstellung der Merge-Liste wird gestoppt (siehe Abs. [0116]).
39
(4) Am Ende wählt der Dekodierer gemäß Merkmal 6.8 aus der fertigen Liste einen Raumbewegungsvektorvorhersagekandidaten aus. Die Auswahl basiert nicht auf einer eigenen Entscheidung des Dekodierers, sondern ist im Regelfall vom Kodierer mittels des Verweises auf einen Index, d.h. eine bestimmte Listenposition (zum Beispiel: „Nr. 3“), in der Liste vorgegeben (siehe Abs. [0125]). Das funktioniert, weil der Dekodierer die Liste rekonstruiert, die der Kodierer erstellt hat, die Listen also (jedenfalls soweit für das hiesige Verfahren relevant) den identischen Inhalt haben und somit „Nr. 3“ auf denselben Kandidaten verweist (Abs. [0126]). Das ist weniger aufwendig als wenn der Kodierer den Raumbewegungsvektorvorhersagekandidaten und den Index an den Dekodierer übertragen würde.
40
b. Näherer Erläuterung bedarf zunächst das zwischen den Parteien streitige Merkmal 6.4.
41
Dieses Merkmal beansprucht das „Bestimmen eines Untersatzes von Raumbewegungsvektorvorhersagekandidatenpaaren unter existierenden Raumbewegungsvektorvorhersagekandidatenpaaren zum Vergleich unter allen verfügbaren Raumbewegungsvektorvorhersagekandidatenpaaren in dem Satz von Raumbewegungsvektorvorhersagekandidaten“.
42
(1) Die Beklagten vertreten die Auffassung, der Untersatz sei identisch mit den in den Merkmalen 6.10.1 bis 6.10.5 genannten Paaren. Der Untersatz könne also nur aus den sechs Paaren A1/B1, B1/A1, B0/B1, A0/A1, B2/A1 und B2/B1 bestehen. Die Klägerin geht hingegen davon aus, dass es sich bei diesen Paaren um „weitere Beispiele“ handele, während in der Beschreibung auch andere Paare genannt würden.
43
(2) Die Kammer geht davon aus, dass das in den Merkmalen 6.4 bis 6.7 beschriebene Verfahren nicht abschließend durch die Merkmalsgruppe 6.10 konkretisiert wird. Folglich kann der nach Merkmal 6.4 bestimmte Untersatz auch aus anderen Paaren bestehen als denen, die in den Merkmalen 6.10.1 bis 6.10.5 genannt sind.
44
Das ergibt sich schon aus dem Wortlaut des Anspruchs, da die Merkmalsgruppe 6.10 an keiner Stelle Bezug nimmt auf den nach Merkmal 6.4 gebildeten Untersatz an Raumbewegungsvorhersagekandidatenpaaren oder auf den „anderen Raumbewegungsvektorvorhersagekandidaten“ im Sinne der Merkmale 6.6 und 6.7. Das wäre aber zu erwarten, wenn die Merkmalsgruppe 6.10 die abschließende Konkretisierung von Merkmal 6.4 darstellte. Außerdem würden die Merkmale 6.6 und 6.7 bei Zugrundelegung der Auffassung der Beklagten komplett leerlaufen, denn dann würde die Zusammenstellung der Paare und der Vergleich allein von den Merkmalen 6.10.1 bis 6.10.5 regiert. Ein solches Leerlaufen von Merkmalen kann aber ohne entsprechende Hinweise nicht angenommen werden.
45
Auch die Beschreibung führt an keiner Stelle aus, dass die Bildung eines Untersatzes gemäß Merkmal 6.4 durch die Merkmalsgruppe 6.10 abschließend konkretisiert würde. Stattdessen wird das Verfahren in den Abs. [0090] ff. allgemein wiedergegeben (siehe etwa Abs. [0092]: „For each candidate and/or a subset of the candidates, the following conditions may also be checked: […]”), ohne jeglichen Verweis auf die in den Merkmalen 6.10.1 bis 6.10.5 genannten Prüfungen.
46
Darüber hinaus hat die Klägerin aufgezeigt, dass laut der Beschreibung auch andere Paare als diejenigen möglich sind, die in den Merkmalen 6.10.1 bis 6.10.5 genannt werden, konkret die Paarung B0 und A1 (siehe hierzu nachfolgend eine von der Klägerin angefertigte Grafik aus Rn 17 der Replik, bezugnehmend auf Abs. [0102]):
47
Wenn die Beklagten insoweit ausführen, diese Paarung möge „Teil eines anderen Untersatzes sein, der relevant für andere PUs/Vorhersageinheiten (mit Teilung NxN) ist, aber nicht für solche PUs, die entsprechend den Merkmalen 10.1 bis 10.5 verarbeitet werden“, bezeugt dies das unzutreffende Verständnis der Beklagten. Es gibt eben gemäß Merkmal 6.4 gebildete Paarungen, die nicht nach den Merkmalen 6.10.1 bis 6.10.5 verarbeitet werden.
48
c. Auch die Merkmalsgruppe 6.10 ist zwischen den Parteien streitig.
49
(1) Merkmal 6.10 fordert zunächst, dass die Anzahl von Raumbewegungsvektorvorhersagekandidaten in der Merge-Liste auf kleiner oder gleich der maximalen Anzahl begrenzt wird. Auch soll geprüft werden, ob der jeweilige Raumbewegungsvektorvorhersagekandidat für die Bewegungsvorhersage verfügbar ist.
50
aa. Die Beklagten vertreten die Auffassung, Merkmal 6.10 fordere, dass in Bezug auf jeden Raumbewegungsvorhersagekandidaten vor der weiteren Prüfung der Merkmale 6.10.1 bis 6.10.5 einzelfallmäßig geprüft würde, ob die maximale Anzahl an Raumbewegungsvorhersagekandidaten schon erreicht ist. Hierfür verweisen die Beklagten auf Abs. [0116], wo es in Bezug auf ein erläutertes Ausführungsbeispiel heißt:
„[…] Before further examination is performed for the selected spatial motion prediction candidate, it is examined whether the merge list already contains a maximum number of spatial motion prediction candidates. If the number of spatial motion prediction candidates in the merge list is not less than the maximum number, the selected spatial motion prediction candidate is not included in the merge list and the process of constructing the merge list can be stopped 826. On the other hand, if the number of spatial motion prediction candidates in the merge list is less than the maximum number, a further analyses of the selected spatial motion prediction candidate is performed (blocks 804-822).“
51
bb. Dem folgt die Kammer mit der Klägerin nicht. Der Wortlaut des Merkmals spricht nur von einer Begrenzung („limiting“), ohne eine Prüfung zu fordern. Vor diesem Hintergrund kann die in Abs. [0116] angesprochene Untersuchung („it is examined“) nicht derart verstanden werden, dass eine einzelfallmäßige Prüfung erfolgen müsste, ob die maximale Anzahl räumlicher Bewegungsvorhersagekandidaten bereits erreicht wurde. Stattdessen reicht es aus, wenn auf andere Weise sichergestellt ist, dass die maximale Anzahl noch nicht erreicht ist, bevor in die Prüfung der Merkmale 6.10.1 bis 6.10.5 eingestiegen wird, beispielsweise durch Vorabberechnung der zulässigen Anzahl räumlicher Bewegungsvorhersagekandidaten.
52
Hierfür kann als Beispiel auf Abs. [0102] verwiesen werden. Dort wird dem Raumbewegungsvektorvorhersagekandidaten B2 die Aufnahme in die Merge-Liste verweigert, wenn die übrigen vier Raumbewegungsvektorvorhersagekandidaten sich bereits dort befinden (siehe Spalte 20, Zeile 17 bis 31). Nach diesem Ausführungsbeispiel ist die maximale Anzahl an Raumbewegungsvektorvorhersagekandidaten demnach vier und die Raumbewegungsvektorvorhersagekandidaten A0, A1, B0 und B1 können diese Anzahl nie überschreiten, weil sie vor dem Raumbewegungsvektorvorhersagekandidaten B2 geprüft werden. Auch durch ein solches System wird sichergestellt, dass die Anzahl von Raumbewegungsvektorvorhersagekandidaten in der Merge-Liste auf kleiner oder gleich der maximalen Anzahl begrenzt wird, ohne dass es einer einzelfallmäßigen Prüfung des Bestands der Merge-Liste vor Prüfung der Raumbewegungsvektorvorhersagekandidaten A0, A1, B0 und B1 bedürfte.
53
cc. Insoweit als der Raumbewegungsvektorvorhersagekandidat B2 betroffen ist, kann die Prüfung der maximalen Anzahl nach Merkmal 6.10 mit der Prüfung nach Merkmal 6.10.5(a), ob alle anderen Raumbewegungsvektorvorhersagekandidaten bereits in die Merge-Liste eingeschlossen wurden, zusammenfallen. Wenn nämlich die maximale Anzahl 4 ist, B2 als Letztes geprüft wird und die anderen Raumbewegungsvektorvorhersagekandidaten bereits auf der Merge-Liste sind (entsprechend der Anordnung in der Merkmalsgruppe 6.10 und dem Ausführungsbeispiel in Abs. [0123]), würde der Ausschluss von B2 von der Merge-Liste sowohl nach Merkmal 6.10 als auch nach Merkmal 6.10.5(a) erfolgen. Eine solche doppelte Prüfung steht im Widerspruch zu den Flussdiagrammen in den Fig. 8a und 8b:
54
Wenn nämlich der Raumbewegungsvektorvorhersagekandidat B2 bereits in Folge der Abfrage in Kasten 802 in Fig. 8a („Maximum number of spatial motion vector prediction candidates in the list?“) ausgeschlossen würde, käme man gar nicht mehr zur Auswahl von B2 in Kasten 806 und der nachfolgenden Prüfung von Merkmal 6.10.5(a) in Kasten 820 in Fig. 8b. Als Konsequenz hiervon ist in dieser Konstellation davon auszugehen, dass Kasten 802 übersprungen und direkt mit der Prüfung nach Kasten 820 fortgefahren wird.
55
Entsprechendes gilt in dieser Konstellation für die Verfügbarkeitsprüfung nach Merkmal 6.10, die im oben gezeigten Flussdiagramm in Kasten 804 in Fig. 8a wiedergegeben ist. Denn nach diesem Flussdiagramm käme man zu Kasten 804 nur dann, wenn die Prüfung nach dem vorgelagerten Kasten 802 ergeben hätte, dass die maximale Anzahl an Raumbewegungsvektorvorhersagekandidaten noch nicht erreicht ist. Da die maximale Anzahl aber in der hier untersuchten Konstellation erreicht ist (sie beträgt 4, B2 wird als Letztes geprüft und die anderen Raumbewegungsvektorvorhersagekandidaten sind bereits alle in der Merge-Liste), die Zeichnung aber so ausgelegt werden muss, dass Merkmal 6.10.5(a) (wiedergegeben in Kasten 820 in Fig. 8b) erfüllt werden kann, muss auch Kasten 804 in dieser Konstellation übersprungen werden.
56
(2) Merkmal 6.10 umfasst sodann die Untergruppe 6.10.1 bis 6.10.5 mit „Tests“, anhand denen festgestellt werden soll, ob ein bestimmter Raumbewegungsvektorvorhersagekandidat von der Merge-Liste ausgeschlossen werden soll.
57
aa. Die Beklagten vertreten die Auffassung, dass die Prüfung nach den Merkmalen 6.10.1 bis 6.10.5 für jeden Raumbewegungsvorhersagekandidaten durchgeführt werden müsse. Andernfalls sei die Zusammensetzung der Merge-Liste fehlerhaft und decke sich nicht mit der vom Kodierer erstellten. Auch die Beschreibung und die Zeichnungen des Klagepatents sprächen für diese Auffassung.
58
bb. Dem folgt die Kammer mit der Klägerin nicht. Es reicht aus, wenn mindestens ein räumlicher Bewegungsvorhersagekandidat der Prüfung nach dem für ihn passenden Merkmal unterzogen wird.
59
Hierfür spricht zunächst der Wortlaut des Anspruchs. Denn dort heißt es: „Durchführen von mindestens einem von Folgendem“ in Bezug auf die Merkmale 6.10.1 bis 6.10.5. Nachdem die Merkmale 6.10.1 bis 6.10.5 jeweils nur auf einen Raumbewegungsvektorvorhersagekandidaten passen, bedeutet diese Formulierung, dass auch nur mindestens ein Raumbewegungsvektorvorhersagekandidat anhand der Merkmalsgruppe 6.10 geprüft werden muss.
60
Entgegen der Auffassung der Beklagten steht dieses Ergebnis auch nicht im Widerspruch zum Zusammenspiel zwischen Kodierer und Dekodierer. Denn wenn der Dekodierer nur ein Merkmal der Gruppe 6.10.1 bis 6.10.5 prüft, erfolgt dies deshalb, weil er nicht mehr Merkmale prüfen muss, um die Merge-Liste in dem Ausmaß entsprechend zu der vom Kodierer erstellten Merge-Liste zu rekonstruieren, dass der Dekodierer in der Lage ist, den vom Kodierer bestimmten Raumbewegungsvektorvorhersagekandidat auszuwählen. Die Kandidatenliste kann also gegebenenfalls auch nur aus einem Kandidaten bestehen, der dann vom Dekodierer (auf Basis der Angaben des Kodierers) gemäß Merkmal 6.8 ausgewählt wird. Das ist dann der Fall, wenn der vom Kodierer erstellte Index für die MergeListe auf „Nr. 1“ lautet. Denn aufgrund der identischen Parameter für die Listenerstellung aufseiten des Kodierers einerseits und des Dekodierers andererseits verweist dieser Index dann auf denselben Raumbewegungsvektorvorhersagekandidaten. Es kommt hinzu, dass das Klagepatent an mehreren Stellen erwähnt, dass auch vom Anspruch nicht abgedeckte zeitliche Bewegungsvektorvorhersagekandidaten in die Merge-Liste aufgenommen werden können (siehe Abs. [0021], [0070], [0086], [0096]); der Anspruch deckt also nur einen Teilaspekt der Vorhersage ab, so dass es auch aus diesem Grund nicht erforderlich ist, dass alle Raumbewegungsvorhersagekandidaten den Tests der Merkmalsgruppe 6.10 unterzogen werden, um gegebenenfalls der Merge-Liste hinzugefügt zu werden (es mag daher sogar möglich sein, dass die Merge-Liste überhaupt keinen Raumbewegungsvektorvorhersagekandidaten umfasst).
61
Auch Beschreibung und Zeichnungen des Klagepatents weisen nicht entscheidend in eine andere Richtung. Zunächst ist anzumerken, dass sich die Ausführungen in Abs. [0116] ff., auf welche sich die Beklagten berufen und in denen die Raumbewegungsvorhersagekandidaten nacheinander „verarbeitet“ werden, auf eine bestimmte Ausführungsform beziehen. Das ergibt sich jenseits des entsprechenden Wortlauts (siehe Abs. [0108] f.) auch daraus, dass die Reihenfolge der Raumbewegungsvorhersagekandidaten in Abs. [0116] von der Reihenfolge der Merkmalsgruppe 10 abweicht und an der Stelle auch von einem „Beispiel“ gesprochen wird. Auch die Fig. 8a und 8b des Klagepatents bilden bestimmte Ausführungsbeispiele ab (siehe Abs. [0109]). Darüber hinaus sind diese beiden Zeichnungen aber auch in Einklang zu bringen mit dem klaren Wortlaut des Anspruchs:
62
Die hier nochmals wiedergegebene Zeichnung weist zwar in Verbindung mit Fig. 8b darauf hin, dass nach Abschluss der Prüfung in Bezug auf einen Raumbewegungsvorhersagevektor, der auf Basis von Kasten 806 bestimmt wurde (diese Prüfung wird in Fig. 8b detailliert beschrieben, mit Verweis darauf am unteren Ende von Fig. 8a), der Prozess wieder von vorne beginnen kann (signalisiert durch den Kasten 830 am oberen linken Rand von Fig. 8a). Dies ist aber nur eine Möglichkeit, was dadurch ausgedrückt wird, dass der auf den Kasten 830 folgende Schritt in Kasten 801 lautet: „More spatial motion vector prediction candidates to process“? Diese Frage könnte zum Beispiel verneint werden, weil der Dekodierer nach den Vorgaben des Kodierers keine weiteren räumlichen Bewegungsvorhersagevektoren überprüfen soll.
63
(3) Die Beklagten vertreten weiter die Auffassung, auch wenn das Verfahren im konkreten Fall nur eins der Merkmale 6.10.1 bis 6.10.5 durchführe, müsse der Dekodierer in der Lage sein, grundsätzlich jedes dieser Merkmale durchzuführen.
Das ergebe sich aus dem Wesen des Vorrichtungsanspruchs.
64
Der Dekodierer muss in der Lage sein, das von Anspruch 6 beanspruchte Verfahren auszuführen. Das Verfahren wird stets dann ausgeführt, wenn nur eines der Merkmale 6.10.1 bis 6.10.5 durchgeführt wird. Solange der Dekodierer mindestens eines dieser Merkmale (neben allen anderen Merkmalen) durchführen kann, stellt er eine Vorrichtung im Sinne von Merkmal 6.1 dar.
65
II. Unter Berücksichtigung der zuvor dargestellten Auslegung der zwischen den Parteien streitigen Merkmale ist eine wortsinngemäße Verwirklichung von Anspruch 6 in Verbindung mit Anspruch 10 des Klagepatents durch den H.265/HEVC-Standard und damit auch durch die angegriffenen Ausführungsformen zu bejahen.
66
1. Die angegriffenen Ausführungsformen stellen jeweils im Sinne von Merkmal 6.1 Vorrichtungen dar, die Mittel zur Durchführung des Verfahrens nach Anspruch 6 des Klagepatents umfassen.
67
Die Auslegung hat ergeben, dass das Verfahren immer dann durchgeführt wird, wenn mindestens eines der Merkmale 6.10.1 bis 6.10.5 erfüllt wird. Es kommt daher für die Bejahung der Verletzung nicht darauf an, dass die Beklagten vortragen, der Dekodierer könne nach dem H.265/HEVC-Standard Merkmal 6.10.1 mangels Prüfung von dessen Unterpunkt (b) nicht erfüllen. Denn unstreitig kann der Dekodierer nach dem Standard jedenfalls die Merkmale 6.10.3 bis 6.10.5 durchführen.
68
2. Merkmal 6.2 ist ebenfalls unstreitig verwirklicht. Nach dem H.265/HEVC-Standard empfängt der Dekodierer einen kodierten Block von Pixeln, der eine Vorhersageeinheit einschließt.
69
Im H.265/HEVC-Standard (Anlage K12) ist niedergelegt, dass kodierte Bilder in Kodierungsblocks („coding blocks“) unterteilt werden, weiter unterteilt in Kodierungseinheiten („coding units“):
70
Zu Beginn jeder Kodiereinheit, bei der die Inter-Vorhersage verwendet wird (also eine Vorhersage, bei der auf andere Bilder zurückgegriffen wird, wie es auch bei der Verwendung von Raumbewegungsvektorvorhersagekandidaten der Fall ist), wird mit der Syntax „cu_skip_flag = 1“ (definiert in Abschnitt 7.4.9.5 des Standards) u.a. signalisiert, dass die Kodiereinheit genau eine Vorhersageeinheit aufweist und dass ein Merge-Prozess für die Bewegungsvektorableitung verwendet wird:
71
3. Der H.265/HEVC-Standard verwirklicht auch unbestritten Merkmal 6.3. Es wird ein Satz von Raumbewegungsvektorvorhersagekandidaten bestimmt, die sich unten links, links, oben links, oben und oben rechts von der Vorhersageeinheit befinden, für den kodierten Block von Pixeln. Dabei sind die Raumbewegungsvektorvorhersagekandidaten mit Bewegungsinformationen versehen, die mindestens einen Bewegungsvektor und einen Referenzindex umfassen.
72
Der Standard legt in Abschnitt 8.5.3.2.2 fest, dass im Merge-Modus (dadurch signalisiert, dass die Syntax „merge_flag = 1“) eine Liste von Raumbewegungsvektorvorhersagekandidaten inklusive Referenzindizes aus benachbarten Vorhersageeinheiten erstellt wird („mergeCandList“), welche mit A0, A1, B0, B1 und B2 bezeichnet werden. Deren jeweilige Position wird in Abschnitt 8.5.3.2.3 („Derivation process for spatial merging candidates“) festgelegt und in Abschnitt 8.5.3.2.7 bildlich wiedergegeben:
 
73
Die Position der Raumbewegungsvektorvorhersagekandidaten entspricht folglich derjenigen nach Merkmal 6.3, wie sie in Fig. 9 des Klagepatents wiedergegeben ist:
74
4. Auch die Merkmale 6.4 bis 6.7 werden durch den H.265/HEVC-Standard verwirklicht. Es wird ein Untersatz von Raumbewegungsvektorvorhersagekandidatenpaaren zum Vergleich unter allen verfügbaren Raumbewegungsvektorvorhersagekandidatenpaaren bestimmt (Merkmal 6.4). Nach Auswahl eines Raumbewegungsvektorvorhersagekandidaten (Merkmal 6.5) wird der zuvor gebildete Untersatz daraufhin überprüft, welcher andere Raumbewegungsvektorvorhersagekandidat als zum ausgewählten gehörend definiert ist (Merkmal 6.6). Sodann werden die Bewegungsinformationen des ausgewählten und des anderen Raumbewegungsvektorvorhersagekandidaten miteinander verglichen und wenn die Bewegungsvektorinformationen des anderen Raumbewegungsvektorvorhersagekandidaten mit denen des ausgewählten übereinstimmen, wird der ausgewählte Raumbewegungsvektorvorhersagekandidat von der Merge-Liste ausgeschlossen (Merkmal 6.7).
75
a. Der Standard bildet gemäß Abschnitt 8.5.3.2.3 („Derivation process for spatial merging candidates“) Paare unter den Raumbewegungsvektorvorhersagekandidaten A1, B1, B0, A0 und B2, zwischen denen ein Vergleich hinsichtlich ihrer Bewegungsinformationen durchgeführt wird. Es wird also ein Raumbewegungsvektorvorhersagekandidat ausgewählt und überprüft, welcher andere Kandidat aus dem gebildeten Untersatz als zum ausgewählten gehörend definiert ist. Soweit die Bewegungsinformationen identisch sind, wird der ausgewählte Kandidat nicht in die Merge-Liste aufgenommen. Das wird im Folgenden ausgehend vom Kandidaten B0 gezeigt, für die Kandidaten B1, A0 und B2 läuft das Verfahren entsprechend ab. Dem vorgeschaltet ist die Prüfung der Verfügbarkeit der jeweiligen Vorhersageeinheit gemäß Abschnitt 6.4.2, die im nachfolgend zitierten Abschnitt in Bezug genommen wird:
76
Wenn der Raumbewegungsvektorvorhersagekandidat B0 verfügbar ist, wird er mit dem Kandidaten B1 (und zwar nur mit dem Kandidaten B1) auf die Bewegungsinformationen hin verglichen. Konkret lautet die Gleichung, dass der Kandidat B0 („availableFlagB0“) auf Null („0“) gesetzt wird, wenn Kandidat B1 verfügbar ist und die Bewegungsvektoren und Referenzindizes identisch sind („availableB1 is equal to TRUE and the prediction units covering the luma locations […] have the same motion vectors and the same reference indices“ in Unterpunkt 4). Das Setzen auf Null bedeutet, dass der jeweilige Raumbewegungsvektorvorhersagekandidat nicht in die Merge-Liste aufgenommen wird.
77
b. Der Untersatz wird auch im Sinne von Merkmal 6.4 „bestimmt“. Denn wie die Auslegung gezeigt hat, reicht es insoweit aus, dass der Dekodierer die Vorgaben des Standards anwendet, er muss sie nicht selbst entwickeln.
78
5. Der Standard verwirklicht auch Merkmal 6.9. Es wird eine maximale Anzahl von Raumbewegungsvektorvorhersagekandidaten bestimmt, die in die Merge-Liste einzuschließen sind.
79
Die Beklagten stellen dies in Abrede, weil der Standard nicht – wie vom Merkmal gefordert – die „maximale Anzahl von Raumbewegungsvektorvorhersagekandidaten“ bestimme, sondern nur die maximale Anzahl aller Bewegungsvorhersagekandidaten.
80
Die maßgebliche Passage im H.265/HEVC-Standard ist der im Folgenden abgedruckte Absatz aus Abschnitt 7.4.7.1 (Anlage K 12, S. 93):
81
Dort wird wiedergegeben, wie sich der Wert „MaxNumMergeCand“, der zwischen 1 und 5 liegen soll, ergibt. Dieser Wert gibt die maximale Anzahl an Bewegungsvektorvorhersagekandidaten an, ohne dass insoweit Bezug genommen würde auf Raumbewegungsvektorvorhersagekandidaten.
82
Der Standard bestimmt aber durch die Bestimmung einer maximalen Anzahl allgemeiner Bewegungsvektorvorhersagekandidaten auch die maximale Anzahl an Raumbewegungsvektorvorhersagekandidaten. Zum einen ist Letztere identisch mit Ersterer, wenn nur Raumbewegungsvektorvorhersagekandidaten vorhanden sind. Zum anderen ist die Anzahl an Raumbewegungsvektorvorhersagekandidaten dadurch mittelbar begrenzt, als der Standard nur maximal vier dieser Kandidaten in der Liste akzeptiert, um einen Platz für einen zeitlichen Bewegungsvektorvorhersagekandidaten („Col“) freizuhalten (siehe Abschnitt 8.5.3.2.3 in Anlage K12, S. 152 Unterpunkt 10, in Verbindung mit S. 149, Punkt 5):
 
83
Aus dem zitierten Abschnitt ergibt sich, dass die Raumbewegungsvektorvorhersagekandidaten nach dem Standard in einer festen Reihenfolge geprüft werden (A1, B1, B0, A0, B2). Wenn der Wert „MaxNumMergeCand“ auf 1 lautet, wird folglich nur A1 in die Liste aufgenommen (vorausgesetzt, A1 ist verfügbar, dies wird durch die Bezeichnung „availableFlagA1“ gekennzeichnet). So geht es weiter, bis maximal vier Raumbewegungsvektorvorhersagekandidaten aufgenommen wurden, weil dann vor Aufnahme des fünften und letzten Raumbewegungsvektorvorhersagekandidaten B2 der zeitliche Bewegungsvektorvorhersagekandidat Col aufgenommen wird. Das wird in dem oben wiedergegebenen Abschnitt dadurch wiedergegeben, dass gemäß Unterpunkt 10 der Raumbewegungsvektorvorhersagekandidat B2 auf Null gesetzt wird – also nicht in die Merge-Liste aufgenommen wird –, wenn die anderen vier Raumbewegungsvektorvorhersagekandidaten bereits in die Merge-Liste aufgenommen wurden. Somit bestimmt der Wert „MaxNumMergeCand“ mittelbar die maximale Anzahl an Raumbewegungsvektorvorhersagekandidaten. Dass diese Anzahl sowohl dann 4 ist, wenn der Wert konkret „4“ angibt, als auch dann, wenn der Wert „5“ angibt, ist entgegen der Auffassung der Beklagten unschädlich, weil Merkmal 6.9 den Weg zur Bestimmung der maximalen Anzahl offenlässt.
84
6. Auch die Merkmalsgruppe 6.10 wird durch den Standard verwirklicht.
85
a. Merkmal 6.10 wird zunächst insoweit verletzt, als der Standard entgegen der Auffassung der Beklagten die Anzahl an Raumbewegungsvektorvorhersagekandidaten auf kleiner oder gleich der maximalen Anzahl begrenzt. Auch die Überprüfung der Verfügbarkeit einer Vorhersageeinheit, zu der der potenzielle Raumbewegungsvektorvorhersagekandidat gehört, für die Bewegungsvorhersage findet im Standard statt.
86
(1) Ausgehend von den obigen Ausführungen zu Merkmal 6.9 ist zunächst entgegen der Auffassung der Beklagten zu konstatieren, dass der Wert „MaxNumMergeCand“ mittelbar die Anzahl an Raumbewegungsvektorvorhersagekandidaten auf kleiner oder gleich der maximalen Anzahl begrenzt.
87
Das gilt auch im Licht des Vortrags der Beklagten, dass der Wert „MaxNumMergeCand“ vom Dekodierer nicht zum Zwecke der Prüfung der Anzahl an Raumbewegungsvektorvorhersagekandidaten verwendet werde. Vielmehr diene er dem Dekodierer nur zur Feststellung, dass die Merge-Liste noch mit sogenannten Nullbewegungsvektorvorhersagekandidaten aufgefüllt werden solle, nämlich dann, wenn der Wert „numCurrMergeCand“ (er gibt die Anzahl aktuell verfügbarer Kandidaten an) kleiner sei als der Wert „MaxNumMergeCand“. Auch dann begrenzt der Wert „MaxNumMergeCand“ die Anzahl an Raumbewegungsvektorvorhersagekandidaten auf kleiner oder gleich der maximalen Anzahl, weil die MergeListe nur dann mit Nullbewegungsvektorvorhersagekandidaten aufgefüllt werden kann, wenn die maximale Anzahl an Raumbewegungsvektorvorhersagekandidaten noch nicht erreicht ist. Denn die Merge-Liste wird stets zunächst durch die Raumbewegungsvektorvorhersagekandidaten gefüllt – bis zum erlaubten Maximum zwischen 1 und 4, siehe oben die Erläuterung zu Merkmal 6.9 – und nur, wenn jene nicht ausreichend verfügbar sind, kann eine Auffüllung der Merge-Liste mit Nullbewegungsvektorvorhersagekandidaten relevant werden. Aus diesem Grund kann auch die Erklärung in Ziffer 4 der geheimhaltungsbedürftigen Anlage WKS T 4 betreffend eine spezielle Hardware-Implementation des Standards, wonach der Wert „MaxNumMergeCand“ dort nicht zum Zwecke der Begrenzung der Anzahl an Merge-Kandidaten auf weniger als eine vorbestimmte Anzahl („to limit the number of merging candidates to less than a predefined maximum of candidates“) verwendet werde, den Beklagten nicht zum Erfolg verhelfen.
88
(2) Darüber hinaus wird die Anzahl an Raumbewegungsvektorvorhersagekandidaten aber auch durch die Verwirklichung von Merkmal 6.10.5(a) auf kleiner oder gleich der maximalen Anzahl begrenzt. Die Verwirklichung dieses Merkmals führt – wie im Rahmen der Auslegung gesehen (siehe oben Rn 53- 55) – zur Begrenzung der Anzahl und auch zur Überprüfung der Verfügbarkeit jeweils im Sinne von Merkmal 6.10. Die Verwirklichung von Merkmal 6.10.5(a) durch den H.265/HEVCStandard ist unstreitig (siehe dazu sogleich unter b.).
89
(3) Die Raumbewegungsvektorvorhersagekandidaten werden auch im Sinne von Merkmal 6.10 auf Verfügbarkeit geprüft. Das zeigt sich an der nochmals abgebildeten Passage aus Abschnitt 8.5.3.2.3 des Standards (siehe Anlage K12, S. 152):
90
Die Raumbewegungsvektorvorhersagekandidaten werden jeweils mit dem Adjektiv „available“ beschrieben (zum Beispiel „availableB2“). Sollte B2 nicht verfügbar sein, wird der Wert auf Null („0“) gesetzt, d.h. B2 wird dann nicht auf die MergeListe gesetzt. Das wird durch den Obersatz „If one or more of the following conditions are true, availableFlagB2 is set equal to 0 …“ in Verbindung mit Unterpunkt 7 im oben zitierten Abschnitt festgelegt; „availableB2 is equal to FALSE“ bedeutet, dass B2 nicht verfügbar ist.
91
b. Der Standard verwirklicht auch jedenfalls Merkmal 6.10.5. Nach dem Ergebnis der Auslegung (siehe oben Rn 56 ff.) ist dies ausreichend, so dass es nicht darauf ankommt, ob der Standard auch die Merkmale 6.10.1 bis 6.10.4 verwirklicht.
92
Hierfür wird nochmals die relevante Passage des Abschnitts 8.5.3.2.3 (siehe Anlage K12, S. 152) sowie Fig. 8-3 des Standards abgebildet:
93
Die Kombination des bereits soeben erläuterten Obersatzes dieser Passage mit Unterpunkt 10 bedeutet die Verwirklichung von Merkmal 6.10.5(a): Wenn die vier verfügbaren Raumbewegungsvektorvorhersagekandidaten A0, A1, B0 und B1 alle bereits in die Merge-Liste aufgenommen wurden, wird der Wert für B2 – also für den Raumbewegungsvektorvorhersagekandidaten, der im Merkmal 6.10.5 betrachtet wird – auf Null gesetzt, d.h. B2 wird nicht in die Merge-Liste aufgenommen.
94
In Kombination mit Unterpunkt 9 verwirklicht der Obersatz Merkmal 6.10.5(b). Denn demnach wird der Wert für B2 auf Null gesetzt, wenn der Raumbewegungsvorhersagekandidat B1 (welcher sich, wie in Merkmal 6.10.5(b) gefordert, über der zu dekodierenden Vorhersageeinheit befindet) verfügbar ist („is equal to TRUE“) und die beiden Raumbewegungsvorhersagekandidaten B2 und B1 dieselben Bewegungsvektoren und Referenzindizes aufweisen.
95
In Kombination mit Unterpunkt 8 verwirklicht der Obersatz dementsprechend Merkmal 6.10.5(c). Der Raumbewegungsvektorvorhersagekandidat A1 ist, wie im Merkmal gefordert, derjenige links von der zu dekodierenden Vorhersageeinheit.
96
III. Der kartellrechtliche Zwangslizenzeinwand der Beklagtenpartei greift nicht durch.
97
Die Klägerin hat nachgewiesen, dass sie hinsichtlich der Standards H.264 (AVC)/ H.265 (HEVC) ein Lizenzprogramm etabliert hat, welches sie am Markt etabliert und konsequent durchgesetzt hat. Eine Unangemessenheit der geforderten Lizenzrate ergibt sich nicht daraus, dass der für jede einzelne Einheit geforderte Betrag im Vergleich zu den Poolraten von Access Advance und VIA-LA bezüglich HEVC im Verhältnis zur Anzahl der lizenzierten Patente hoch erscheint. Auch bei wertender Betrachtung ist die von der Klagepartei geforderte Rate nicht unangemessen hoch, sondern lediglich am oberen Rande des zulässigen FRAND-Korridors.
1. Bedeutung des Zwischen-Lizenzvereinbarungsvorschlags des High Court des Vereinigten Königreichs
98
Die Parteien streiten in mehreren Staaten über die Nutzung des HEVC-Standards. Neben dem vorliegenden Verfahren gibt es ein Verfahren vor dem High Court des Vereinigten Königreichs (UK High Court), in dem die Beklagtenpartei die Festsetzung einer Lizenzrate für das klägerische Patentportfolio bezüglich des HEVC/ AVC-Standards begehrt.
99
Das Bestehen eines Lizenzvertrages zwischen den Parteien würde dieses Verfahren zumindest hinsichtlich des Unterlassungsbegehrens beenden, weil dann die Widerrechtlichkeit der Patentnutzung entfiele.
100
Das vorliegende Verfahren wurde in einer gemeinsamen mündlichen Verhandlung mit einem Verfahren gegen einen anderen Hersteller von Desktop-PCs und Laptops verhandelt. Die beiden Verfahren haben gemein, dass die Beklagtenparteien in beiden Verfahren jeweils hinsichtlich der Lizenz am klägerischen Patentportfolio eine Ratenfestsetzung im Vereinigten Königreich beantragt hatten. In beiden Verfahren hat der UK High Court am 18. Dezember 2025 auf Antrag der hiesigen Beklagtenparteien eine Zwischenlizenzvereinbarung festgesetzt (Interim Licence). Nach dem Verständnis der Kammer stellt diese Festsetzung ein Angebot an die dortige Beklagtenpartei (die hiesige Klagepartei) dar, dass man sich auf diese Bedingungen einigt, um dann in dem Hauptsacheverfahren vor dem High Court über die tatsächliche Lizenzhöhe zu verhandeln.
101
Die vom UK High Court festgesetzte Zwischenlizenzvereinbarung sieht einen Geldbetrag vor, der sofort und endgültig zu zahlen ist. Die Höhe dieses zu zahlenden Betrags bestimmt sich im Wesentlichen nach dem letzten Angebot der hiesigen Beklagtenpartei. Weiter wurde eine Sicherheit festgesetzt, die sich – mangels besserer Erkenntnisse – in der Mitte der beidseitigen Positionen befindet. Insofern gibt es gegebenenfalls einen Abschlag, falls der zwischen den Parteien angestrebte Lizenzzeitraum weit in die Zukunft reicht.
102
Nach dem Verständnis der Kammer hat eine solche Festsetzung auch nach dem Verständnis des UK High Court keine Bindungswirkung für die Beklagtenpartei in Bezug auf das Hoheitsgebiet der Bundesrepublik Deutschland, sondern stellt lediglich ein Angebot an die im Vereinigten Königreich verklagte Partei dar. Falls dieses Angebot angenommen werden sollte, zeige dies, dass die dortige Beklagte bereit sei, zu FRAND-Bedingungen zu lizenzieren. Es ist unklar, welche Schlüsse gezogen werden, falls die dortige Beklagtenpartei dem Angebot nicht zustimmt, weil dem UK High Court durchaus bewusst ist, dass ihm die Entscheidungsbefugnis fehlt, eine weltweite Lizenz in einem Rechtsstreit zwischen einem finnischen und einem taiwanesischen Konzern festzusetzen. Insofern haben diese Entscheidungen einen Bruch in ihrer Legitimation.
103
Die hiesige Klagepartei hat die jeweiligen Angebote nicht angenommen, so dass es keine Zwischenlizenzvereinbarung gibt, die der Geltendmachung des Klagepatents in der Bundesrepublik Deutschland entgegensteht. Ein Rückschluss auf eine fehlende Lizenzwilligkeit der hiesigen Klagepartei kann daraus nicht folgen, denn keine Partei muss sich gegen ihren Willen der Entscheidung eines Gerichts unterwerfen, welches für die Festsetzung einer weltweiten Lizenz mit grenzüberschreitender Wirkung offensichtlich nicht zuständig ist.
104
Nach dem Verständnis der Kammer – welches in der Verhandlung von den Parteivertretern nicht bestritten wurde – erfolgte der Antrag vor dem UK High Court, um die Entscheidung in den vor der Kammer gemeinsam verhandelten Verfahren zu verhindern. Die Kammer ist der Ansicht, dass sich allein aus diesem Versuch kein endgültiger Schluss auf die fehlende Lizenzwilligkeit der hiesigen Beklagten ziehen lässt. Allerdings sind die Beklagtenparteien gehalten, die Entscheidung des UK High Court zumindest so weit gegen sich gelten zu lassen, dass sie die gerichtlich für die Zwischenlizenzvereinbarung vorgeschlagenen Bedingungen freiwillig erfüllen, um dadurch ihre eigene Lizenzwilligkeit zum Ausdruck zu bringen.
2. Die konkrete Verfahrenssituation
105
In den vor der Kammer geführten Verfahren 7 O 4100/25 und 7 O 4102/25 hat die Klagepartei zwei Hersteller von (im Wesentlichen) Desktop-PCs und Laptops wegen Patentverletzung verklagt. Zur Verhandlung wurden die Verfahren miteinander verbunden und auch die meisten FRAND-Gesichtspunkte wurden gemeinsam verhandelt. In einem geringen Umfang wurde hinsichtlich der Vergleichbarkeit von Lizenzverträgen unterschiedlich argumentiert. Bei der Verhandlung über die geheimhaltungsbedürftigen konkreten Angebote der Parteien wurden die Verfahren getrennt und einzeln verhandelt.
3. Das klägerische Lizenzierungsprogramm
106
Die Klägerin hat ein Lizenzprogramm, in dem sie ihren Anteil am H.264/ H.265Standard (Videostreaming) lizenziert. Nach dem Vortrag der Klägerin ist sie Inhaberin von ungefähr einem Prozent der für diese Standards essenziellen Patente.
107
Die Parteien verhandeln seit längerer Zeit über den Abschluss eines Lizenzprogramms, wobei jeweils kurz vor Klageerhebung ein Verletzungshinweis übersandt worden ist, der ausdrücklich auch auf das Klagepatent hingewiesen hat. Zu diesem Zeitpunkt haben die Klagepartei und die jeweilige Beklagtenpartei bereits über den Abschluss eines Lizenzvertrages über das streitgegenständliche Portfolio verhandelt. Es besteht jeweils Einigkeit, dass eine Lump-Sum-Zahlung (und keine Running Royalty-Vereinbarung) auf Basis der von den Beklagten bereits vertriebenen oder prognostizierten Stückzahlen erfolgen soll. Insofern haben die Parteien eine Einigkeit erreicht. Streitig ist ausschließlich die Höhe des Preises, der für jede Einheit (der „perunit-price“) angesetzt werden soll.
108
Die Besonderheit bei der Lizenzierung des H.265-Standards (einschließlich des H-264-Standards als abwärtskompatible Vorversion) besteht darin, dass die Lizenzlandschaft dadurch geprägt ist, dass die Patentpools von Access Advance und Via-LA (vormals MPEG LA) eine Abdeckung von insgesamt ca. 90% des Standards bieten. Die Klägerin gehört zu den Inhabern der verbleibenden 10% (gemeinsam mit Interdigital, Qualcomm, Ericsson, Intel und VelosMedia).
109
In Anbetracht der Stärke des Pools ist die Klagepartei mit einem Anteil von ungefähr 1% am Standard in einer Außenseiterrolle. Für die Beurteilung der Lizenzangebote von Außenseitern gelten nach Ansicht der Kammer besondere Anforderungen, die insbesondere bei der Überprüfung der Angemessenheit eines Angebots von Bedeutung sind.
110
In diesem Verfahren hat die Klagepartei durch die Vorlage einer Vielzahl von Vergleichslizenzverträgen belegt, dass sie das von ihr aufgestellte Lizenzprogramm mit den aufgestellten Raten tatsächlich konsequent umsetzt. Dabei ist es für die Qualität des Lizenzprogramms unbeachtlich, dass teilweise auch sehr kleine Marktteilnehmer Lizenzverträge abgeschlossen haben. Denn die Klagepartei hat auch in beachtlicher Zahl Lizenzverträge mit größeren Marktteilnehmern geschlossen. Dass teilweise Rabatte gewährt worden sind, steht dem nicht entgegen. Denn die – durch Vorlage der Vergleichslizenzverträge belegte – tatsächlich durchgeführte Rabattierung erfolgte in einem nachvollziehbaren und wirtschaftlich vernünftigen Umfang.
111
Zutreffend ist die Klagepartei davon ausgegangen, dass als Vergleichslizenzverträge nur die Verträge heranzuziehen sind, die hinsichtlich des gleichen Standards abgeschlossen wurden. Multi-Standard-Lizenzverträge (bzw. Mobilfunk, Wi-Fi und Streaming in Kombination), die auch die vorliegenden Standards umfassen, stellen bereits im Ansatz keine Vergleichslizenzverträge dar, denn in der Regel liegt das wirtschaftliche Interesse bei dem stärksten Standard und es ist gerichtsbekannt, dass die Klägerin ein sehr starkes Patentportfolio im Mobilfunk (5G, 4G und 3G) hat. Deshalb stellen Verträge, bei denen Mobilfunk im Mittelpunkt steht und H.264/ H.265 mitlizenziert wird, keinen Vergleichslizenzvertrag für einen Vertrag dar, mit dem ausschließlich Patente bezogen auf den H.264/ H.265-Standard lizenziert werden. Dies gilt insbesondere, wenn das klägerische Portfolio in den einzelnen Standards – so wie vorliegend – eine unterschiedliche Stärke hat.
4. Allgemeines
112
Ausgangspunkt ist die Entscheidung des EuGH in der Rechtssache Huawei gegen ZTE (C-170/13, GRUR 2015, 764) in der Interpretation, die der Bundesgerichtshof in den Entscheidungen FRAND-Einwand I (KZR 36/17, GRUR 2020, 961) und FRAND-Einwand II (KZR 35/17, GRUR 2021, 585) gefunden hat. Weiter berücksichtigt die Kammer derzeit noch die Entscheidung des OLG München in dem Verfahren 6 U 3824/22 vom 20. März 2025. Zwar hat die Kammer die Pressemitteilung des Bundesgerichtshofs zu dem Aktenzeichen KZR 10/25 zur Kenntnis genommen, der sich entnehmen lässt, dass das Konzept des OLG München hinsichtlich der Sicherheitsleistung (in Höhe des klägerischen Angebots) nicht bestätigt worden ist. Bis die schriftlichen Urteilsgründe des Bundesgerichtshofs vorliegen, wird jedoch weiterhin auch auf diese Anforderungen eingegangen, zumal dies dem Stand zum Zeitpunkt des Schlusses der mündlichen Verhandlung entspricht.
a. Grundsätze der FRAND-Prüfung
113
Die Kammer hat die Grundsätze der FRAND-Prüfung in der Entscheidung 7 O 5007/25 – ASUS I bereits ausführlich dargelegt. Es gilt folgendes:
114
Die Prüfung, ob der Inhaber eines standardessenziellen Patents gegenüber einem nicht lizenzierten Nutzer dieses Patents einen Unterlassungsanspruch geltend machen kann, oder ob der Nutzer dem Unterlassungsanspruch entgegensetzen kann, dass ihm keine Lizenz zu FRAND-Bedingungen angeboten worden ist, bestimmt sich in einem mehrstufigen Prüfungsverfahren. Dabei folgt der nachfolgend benannte 5. Schritt der Rechtsprechung des OLG München.
1. Schritt: Verletzungsanzeige des Patentinhabers
2. Schritt: Erklärung der Lizenzwilligkeit des Patentnutzers
3. Schritt: Abgabe eines Lizenzangebots durch den Patentinhaber
4. Schritt: Prüfung des Lizenzangebots durch den Patentnutzer; bei Nichtannahme Unterbreitung eines eigenen Angebots innerhalb kurzer Frist (fortlaufende Lizenzwilligkeit)
5. Schritt: Wenn Patentinhaber das Angebot des Patentnutzers ablehnt, muss Patentnutzer Sicherheitsleistung gemäß „anerkannten geschäftlichen Gepflogenheiten“ leisten.
115
Nach dem benannten Verständnis des OLG München muss in aller Regel eine qualifizierte Sicherheit in Höhe des Lizenzangebots des Patentinhabers geleistet werden – eine Ausnahme mag gelten, wenn das Angebot des Patentinhabers eindeutig und offensichtlich überzogen ist. Nach Ansicht des OLG München hat das angerufene Gericht den Kartellrechtseinwand in der Regel nicht zu prüfen, wenn keine ausreichende Sicherheit geleistet worden ist. Dann wäre der Patentnutzer im Falle einer festgestellten Verletzung (wenn das Verfahren auch im Hinblick auf ein anhängiges Nichtigkeitsverfahren nicht auszusetzen ist) auf Unterlassung zu verurteilen.
116
Die Kammer hat in ihrem veröffentlichten Hinweisbeschluss in den Verfahren 7 O 64/25 und 7 O 2750/25 (GRUR-RS 2025, 19196) zu den genauen Anforderungen Stellung genommen. Auf diese Ausführungen wird Bezug genommen. Zusammenfassend wird es für die Beurteilung der Lizenzwilligkeit als besonders bedeutsam angesehen, ob der Lizenzsuchende eine Teilzahlung leistet. Diese Teilzahlungspflicht gilt in einer Situation, wo zwischen den Parteien unstreitig ist, dass der Lizenzsuchende eine Zahlung zu leisten hat und allein die Höhe streitig ist. Dann ist jedenfalls der zwischen den Parteien unstreitige Betrag an den Patentinhaber zu zahlen, und zwar so, dass er dauerhaft beim Patentinhaber verbleibt. Es handelt sich um eine Anzahlung auf den späteren Lizenzbetrag. Die Höhe orientiert sich an dem Angebot des Patentsuchenden und ist deshalb – wenn die Parteien über eine weltweite Lizenz verhandeln – nicht auf das Gebiet der Bundesrepublik Deutschland beschränkt.
In Ergänzung zu dem damaligen Hinweisbeschluss führt die Kammer aus, dass neben die Verpflichtung zur Zahlung eines unstreitigen Teilbetrages eine Verpflichtung zum Leisten einer Sicherheit treten kann. Wann dies der Fall ist, bestimmt sich nach dem Einzelfall und ist abhängig von der Höhe der Differenz der beiden Angebote in a.) absoluten Zahlen und b.) Prozenten.
117
Konkret wird eine ergänzende Sicherheit dann erforderlich sein, wenn das Angebot der Beklagtenpartei weniger als 60% der Forderung der Klagepartei beträgt und die Differenz mehr als 10 Mio. US$ ausmacht. In einem solchen Fall hat die Beklagtenpartei eine Sicherheit zu leisten, die – soweit es um eine Lump-Sum-Lizenz geht – auf den Betrag entfällt, der einem Lizenzjahr entspricht (dies bedeutet: Wenn die Klagepartei 100 für eine Dauer von 5 Jahren fordert und die Beklagtenpartei 30 bietet, dann ist ein Betrag von 30 als Teilbetrag endgültig zu bezahlen und ein weiterer Betrag von 20 als Sicherheit zu hinterlegen).
118
Etwas anderes gilt allerdings dann, wenn eine Beklagtenpartei vor einem anderen Gericht in einer anderen Jurisdiktion eine Ratenfestsetzung erwirkt hat oder erwirken möchte. Auf diesen Fall hat die Kammer bereits im Hinweis vom 14. Juli 2025 hingewiesen, wo es lautet:
Nach der Rechtsprechung der Kammer muss sich die Partei, die im Ausland eine Ratenfestsetzung begehrt insofern daran festhalten lassen, dass der von ihr vorgeschlagene Betrag dann auch bereits an die Gegenseite bezahlt wird. Bislang gibt es insofern lediglich Entscheidungen, die sich mit der Auswirkung von bereits im Ausland ergangenen Entscheidungen befasst haben. Allerdings ist davon auszugehen, dass sich bereits mit entsprechender Antragsstellung entsprechende Pflichten ergeben könnten.
119
Dieses Erfordernis wird dahingehend konkretisiert, dass eine Partei, die eine Ratenfestsetzung beantragt hat, den von dem angerufenen Gericht festgesetzten Betrag in Ergänzung zu der Teilzahlung als Sicherheit zu leisten hat, und zwar unabhängig, ob die in der anderen Jurisdiktion beklagte Partei dem Vorschlag des dortigen Gerichts zugestimmt hat oder nicht. Als konkretes Beispiel gilt folgendes: Wenn eine Beklagtenpartei in einer Streitigkeit, bei der die Positionen der Parteien bei einer Lizenz mit einer Laufzeit von 5 Jahren bei 30 und 100 liegen und eine Entscheidung über eine Zwischenlizenz so ist, dass ein Betrag von 10 zum festen Verbleib und ein weiterer Betrag von 50 als Sicherheit zu leisten ist, so ist nach Ansicht der Kammer so vorzugehen, dass sich der fest zu zahlende Betrag auf 30 beläuft und ein zusätzlicher Sicherheitsleistungsbetrag von 30 nach der Festsetzung des ausländischen Gerichts richtet.
b. Anwendung der Grundsätze auf den vorliegenden Fall
120
Im vorliegenden Fall gibt es die Besonderheit, dass die Beklagtenparteien jeweils ernsthafte Bemühungen gezeigt haben, indem sie einen Teilbetrag in Höhe ihres letzten Angebots bezahlt haben bzw. bezahlen wollten. Soweit eine Partei tatsächlich zum Zeitpunkt des Schlusses der mündlichen Verhandlung nicht bezahlt hat, lag dies zumindest auch im Verhalten der Klagepartei begründet. Möglicherweise waren die Lizenzabteilung und die Buchhaltung der Klagepartei auf das Erfordernis der Entgegennahme der Teilzahlung eines unstreitigen Betrages nicht hinreichend vorbereitet gewesen, um hinreichend schnell reagieren zu können.
121
Durch das Zahlen des unstreitigen Teilbetrags bzw. das ernsthafte Anbieten des Zahlens eines unstreitigen Teilbetrags haben die Beklagten grundsätzlich (vorbehaltlich der Frage einer ergänzenden Sicherheitsleistung) die Anforderungen der Kammer, die im Hinweisbeschluss vom 14. Juli 2025 enthalten sind, erfüllt. Die Anforderungen des OLG München sind hingegen nicht erfüllt.
122
Die Vertreter beider Parteien haben sich in der mündlichen Verhandlung überrascht gezeigt, dass über die Teilzahlungspflicht noch eine weitergehende Sicherheit erforderlich ist. Nach Ansicht der Kammer ergibt sich dies aus dem Hinweisbeschluss vom 14. Juli 2025. Allerdings geht die Kammer zugunsten der jeweiligen Beklagtenpartei davon aus, dass es insofern einer Klarstellung bedurft hat, die durch die Veröffentlichung der Entscheidung 7 O 5007/25 (ASUS I) nach dem Schluss der mündlichen Verhandlung erfolgt ist.
123
Daher ist vorliegend die Lizenzwilligkeit der Beklagtenpartei zu unterstellen. Ob der Kartellrechtseinwand Erfolg hat, hängt somit davon ab, ob das letzte Angebot der Klagepartei innerhalb des zulässigen FRAND-Korridors liegt. Dann nämlich hat die Klagepartei von ihrem Preisbestimmungsrecht in zulässiger Weise Gebrauch gemacht.
5. Darstellung des klägerischen Angebots
124
Im Ergebnis ist der Kartellrechtseinwand erfolglos, weil das klägerische Angebot FRAND ist.
a. Struktur des klägerischen Lizenzprogramms
125
Nach dem Vortrag der Klägerin lizenziert sie Ihr Patentportfolio bezüglich der Videokodierungsstandards H.264 (AVC) / H.265 (HEVC) für die nachfolgend genannten Konditionen. Dabei wird nach dem Durchschnittspreis der jeweiligen Produktkategorie (Average Sales Price: ASP) unterschieden. Weiter ist eine Unterscheidung vorhanden, ob eine Abrechnung nach Stückzahlen (Running Royalty) oder eine Pauschalzahlung (Lump Sum) vereinbart werden soll.
ASP: Running Royalty: Lump Sum:
126
Bei der konkreten Staffelung könnte eine Ungleichbehandlung von Lizenznehmern darin liegen, dass praktisch alle wesentlichen Produktgruppen (Mobiltelefone, Tablets, Fernsehgeräte, Desktop-PCs und Laptops) in die höchste Staffelung fallen und dadurch die tatsächlichen Preisunterschiede zwischen den einzelnen Produktkategorien bei der Höhe des Lizenzpreises keinen Unterschied mehr ausmachen.
127
Weiter erscheint problematisch, dass der Unterschied zwischen den ASB-Preiskategorien gering ist, so dass die Sprünge in den perunit-Lizenzraten zwischen der günstigsten Kategorie und der teuersten Kategorie verhältnismäßig hoch und damit tendenziell unverhältnismäßig sein könnten. Als Beispiel ist ein Lizenznehmer, der Produkte mit einem ASP von Euro herstellt, im Vergleich zu einem Hersteller, der Produkte mit einem ASP von Euro herstellt, zu nennen.
128
Trotz dieser strukturell angelegten Ungleichbehandlung ist das Lizenzprogramm nicht als generell unangemessen zu bewerten. Vielmehr ist immer eine Betrachtung des Einzelfalls vorzunehmen. Es ist konkret auf das Produktportfolio des Lizenznehmers abzustellen. Insofern ist von besonderer Bedeutung, dass die Beklagtenpartei im Wesentlichen Desktop-PCs und Laptops herstellt, also Produkte mit einem relativ hohen Durchschnittspreis. Die Kammer geht von einem Durchschnittspreis zwischen 500 und 550 US$ aus. Deshalb ist davon auszugehen, dass sich die Struktur des klägerischen Lizenzprogramms für die Beklagtenpartei tendenziell vorteilhaft auswirkt.
b. Konkretes Lizenzangebot der Klägerin an die hiesige Beklagte
129
Zuletzt haben die Kläger ein Angebot in Höhe von gemacht, welches auf einem Stückpreis von basiert und den Zeitraum von abdeckt. Für die Zeit von ist ein past release enthalten. Zu Grunde gelegt ist laut Anlage K 25-FRAND eine Stückzahl von Stück.
c. Angebot der Beklagten
130
Die Beklagten hatten zuvor am 21.11.2025 für einen im Wesentlichen identischen Zeitraum (Lizenzzeitraum, past release von) einen Betrag in Höhe von geboten. Dies entspricht einem durchschnittlichen Lizenzsatz in Höhe von umgerechnet (mit Stichtag 21.11.2025)
d. Verhandlungsverlauf
131
Die Verhandlungen zwischen den Parteien haben sich über einen langen Zeitraum hingezogen. Nach überkommenem Verständnis könnten allein aus der Art und Weise der Verhandlungsführung Rückschlüsse auf eine fehlende Lizenzwilligkeit der Beklagtenpartei gefasst werden. Darauf kommt es aber aus den benannten Gründen nicht an.
132
Der Lizenzwilligkeit der Beklagten steht nicht entgegen, dass die Zahlung bzw. das Zahlungsversprechen ausschließlich im Hinblick auf die von der Kammer aufgestellten Grundsätze erfolgte und die damit verbundenen Aktivitäten der Beklagtenpartei zum denkbar spätesten Zeitpunkt kurz vor der mündlichen Verhandlung stattfanden.
e. Erfordernis einer ergänzenden Sicherheitsleistung
133
Nach dem Verständnis der Kammer liegen die Forderungen der Klagepartei und die tatsächlich erfolgte Zahlung bzw. der angebotene Zahlbetrag durch die Beklagtenpartei so weit auseinander, dass eine ergänzende Sicherheitsleistung erforderlich wäre. Nach den Grundsätzen aus der Entscheidung 7 O 5007/ 25 (ASUS I) ist dies der Betrag, der nach dem Verständnis der Klägerin auf ein Lizenzjahr entfällt.
Vorliegend wäre dies
134
Weil die Beklagtenpartei jedoch ein Ratenfestsetzungsverfahren im Vereinigten Königreich angestrebt hat, hätte sie eine Sicherheit zu leisten gehabt, welche die Differenz zwischen dem angebotenen Betrag in Höhe von und dem Betrag aus dem Verfahren im Vereinigten Königreich abdeckt.
135
Da dies nicht geschehen ist, wäre die Beklagtenpartei als nicht lizenzwillig anzusehen. Vorliegend geht die Kammer aber zu Gunsten der Beklagtenpartei davon aus, dass diese Schlussfolgerung aus Vertrauensschutzgründen nicht gezogen werden kann. Denn die Beklagtenpartei hat glaubhaft vorgetragen, dass sie von einer Verpflichtung zum Leisten einer ergänzenden Sicherheit nicht ausgegangen ist.
6. Begründung des klägerischen Angebots a. Vergleichslizenzverträge als Maßstab
136
Wie die Kammer bereits in dem Verfahren 7 O 5007/25 dargelegt hat, ist die bevorzugte und genaueste Art und Weise, um zu bestimmen, ob ein Angebot des Patentinhabers im FRAND-Korridor liegt, der Vergleich mit bereits abgeschlossenen Lizenzen des Patentinhabers. Dabei gilt der Grundsatz, dass zeitnah geschlossenen Verträgen mit anderen Abnehmern, die in etwa eine gleiche Größe und ein vergleichbares Produktportfolio haben, eine sehr starke Indizwirkung zukommt, dass die dort festgelegte Rate innerhalb des FRAND-Korridors liegt
137
Dies gilt insbesondere dann, wenn der Vertragsschluss ohne den Druck eines Verletzungsverfahrens zustande gekommen ist. Dabei darf die Tatsache, dass es vor dem Vertragsschluss ein Verletzungsverfahren gab, das gegebenenfalls auch mit einem Urteil endete, nicht überbewertet werden. Denn es ist festzustellen, dass ein nicht unbeachtlicher Teil der Marktteilnehmer ohne den entsprechenden Druck aus einem Verletzungsverfahren nicht bereit ist, Lizenzverträge zu schließen. Insofern ist das Anstrengen einen Verletzungsverfahrens ein normaler und zu akzeptierender Teil der Verhandlungen, um eine für beide Seite passende Lizenzrate zu finden. Ein anhängiges Verletzungsverfahren erscheint auch keine solche Drohwirkung auszustrahlen, dass unter dem dadurch entstehenden Druck freie Verhandlungen nicht mehr möglich wären.
138
Es obliegt dem Patentinhaber, die Verträge in einem Verfahren vorzulegen, die er für das Stützen seiner Ansprüche braucht. Bei der Vorlage von Verträgen über eine Lump-Sum-Zahlung soll in der Regel der Betrag, die Laufzeit und die der Kalkulation zugrunde gelegte Stückzahl genannt werden. Soweit es sich um einen ersten Vertrag zwischen den Parteien handelt, sollen auch Angaben gemacht werden, wie die Vergangenheit abgegolten wurde.
139
Es gibt keine Verpflichtung, dass alle Verträge vorgelegt werden, die von der Klagepartei über den Lizenzgegenstand geschlossen worden sind. Denn die Erfahrung aus früheren Verfahren hat gezeigt, dass dies dazu führen kann, dass die Beklagtenpartei aus verschiedenen Verträgen die für sie günstigsten Argumente heraussucht und kombiniert, um so niedrige Lizenzbeträge für sich fordern zu können. Weiter hat sich gezeigt, dass nach der Vorlage von Vergleichslizenzverträgen fast immer verlangt wird, dass weitere Verträge vorgelegt werden und hinsichtlich der vorgelegten Verträge behauptet wird, dass sie nicht vergleichbar seien. Deshalb sieht es die Kammer als Sache der Klagepartei an, zu entscheiden, welche ob und ggf. welche Vergleichslizenzverträge sie vorlegen möchte, um die geltend gemachte Forderung zu belegen.
140
Die Kammer verkennt dabei nicht, dass die Beklagten durchaus ein Interesse haben, zu erfahren, welche Konditionen ihre Konkurrenten haben. Deshalb kann das Begehren nach mehr Transparenz und der Hinweis auf eine möglicherweise fehlende Vergleichbarkeit nicht per se als Argument für einen sogenannten „Hold out“ aufgefasst werden. Vielmehr bedarf es jeweils im Einzelfall einer wertenden Betrachtung anhand der konkreten Gesamtumstände.
b. Vergleichslizenzverträge im konkreten Fall
141
Im vorliegenden Verfahren hat die Klagepartei ihr Angebot durch Vorlage von Vergleichslizenzverträgen belegt. Die Frage, ob und in welchem Umfang Vergleichslizenzverträge vorgelegt werden müssen, stand im Zentrum des Streits zwischen den Parteien. Bereits vor der Klageerhebung wurde eine anonymisierte Liste übersandt. Erst nach Klageerhebung wurden dann weiterreichende Angaben gemacht. Zum Schluss hatte die Klagepartei Vergleichslizenzverträge vorgelegt, bei denen die Vertragsparteien ersichtlich waren. Auf Nachfrage des Gerichts wurde bei einer Vielzahl von Verträgen noch die tatsächlich gezahlte Summe (bei „per-unitVerträgen“) bzw. die zu Grunde gelegte Stückzahl (bei Lump-Sum-Verträgen) mitgeteilt.
142
Nach den unbestrittenen Angaben der Klagepartei hat sie alle Lizenzverträge, die sie mit anderen Lizenznehmern über H.264/H.265 (only) abgeschlossen hat, vorgelegt. Diese Verträge wurden in der mündlichen Verhandlung teilweise erörtert, bis die Vertreter beider Beklagtenparteien deutlich machten, dass es kein Interesse mehr an einer Erläuterung weiterer Verträge gebe. Zu diesem Zeitpunkt war auch deutlich, dass die Klagepartei in der Lage war, auf Nachfragen zu den einzelnen Verträgen detailliert und nachvollziehbar zu antworten.
143
Von den Vergleichslizenzverträgen wurden – auf Anregung der Kammer in einem Hinweis am Tag vor der mündlichen Verhandlung – insgesamt in einer Tabelle entpackt. Hinsichtlich der Verträge, die einen Stückpreis vorsahen, wurde der tatsächlich gezahlte Betrag aufgeführt. Bei zahlreichen Verträgen wurde ein durchschnittlicher Verkaufspreis der erfassten Produkte aufgeführt.
144
Die Kammer ist zu folgenden Erkenntnissen gekommen:
- Es gibt sehr unterschiedliche Lizenznehmer, die auf unterschiedlichen Technologiebereichen tätig sind.
- Der vom Wert her niedrigste Lizenzvertrag umfasst eine Stückzahl von deutlich weniger als .
- Es handelt sich auch um Unternehmen, die als namhaft und marktbekannt bezeichnet werden können und bei denen angenommen werden kann, dass sie über eine hinreichende Geschäftsgewandtheit verfügen.
- Die Lizenzverträge hatten teilweise hohe wirtschaftliche Bedeutung und haben hohe Zahlungen umfasst:
o Ein Lizenzvertrag mit einem Volumen o Ein Lizenzvertrag mit einem höheren Volumen o Mehrere Lizenzverträge mit einem niedrigen Volumen o Zahlreiche Lizenzverträge mit einem Volumen
- Es wurden keine Lizenzverträge vorgelegt, bei denen die lizenzierten Produkte im Wesentlichen auch eine Mobilfunknutzung erforderlich machten.
- Allen Lizenzverträgen war gemein, dass die tatsächlich gezahlten Stückpreise in der Nähe der von der Klagepartei als Ausgangspunkt geforderten Rate lagen.
- Der höchste Rabatt lag bei .
- Der höchste Rabatt wurde einem Hersteller mit einem großen Volumen gegeben.
- Bei Herstellern von sehr günstigen Geräten (niedriger ASP) wurden die günstigen Raten des Lizenzprogramms angesetzt. Weitergehende Rabattierungen gab es nicht.
145
Auf Grund der vorgelegten und geprüften Verträge geht die Kammer davon aus, dass die Klägerin ihr Lizenzprogramm hinsichtlich H.264 / H.265 konsequent umsetzt und keine Rabatte gewährt, die eine Gleichbehandlung der Lizenznehmer in Frage stellt. Dabei geht die Kammer davon aus, dass das Einräumen eines Rabatts von weniger als bei einem Lizenznehmer mit großen Stückzahlen eine zulässige wirtschaftliche Entscheidung darstellt.
c. Weitere Lizenzverträge
146
Nicht vorgelegt hat die Klagepartei Multi-Standardlizenzen, bei denen der H.264 / H.265-Standard mitlizenziert worden ist. Davon ausgehend war das Hauptargument der Beklagtenpartei, dass die Verträge mit den Mitbewerbern auf dem Markt für Desktop-PCs und Laptops nicht vorgelegt worden seien.
147
Nach der Rechtsprechung der Kammer obliegt es der Klagepartei, welche Verträge sie vorlegt, um zu belegen, dass ihre Forderung FRAND ist. Dies ist damit begründet, dass es der Erfahrung der Kammer entspricht, dass bei der Vorlage von Vergleichslizenzverträgen die Gefahr besteht, dass Beklagte sich aus mehreren Verträgen die für sie günstigen Klauseln suchen und diese zu ihren Gunsten kombinieren. Um die dadurch entstehenden – nicht zielführenden – Diskussionen zu minimieren, liegt es im Ermessen der Klagepartei, was vorgelegt werden soll. Wenn bestimmte – offensichtlich zielführende – Verträge nicht vorgelegt werden, so kann dies in Ausnahmefällen Rückschlüsse rechtfertigen. Dafür ist jedoch immer eine Einzelfallbetrachtung erforderlich.
148
Tatsächlich haben die Unternehmen ASUS, einen Marktanteil von 80% an dem Desktop-PC- und Laptop-Markt. ASUS und waren Parteien der zusammen verhandelten Verfahren. Betreffend die verbleibenden Konkurrenten wurde nur ein Lizenzvertrag vorgelegt. Hinsichtlich der anderen Parteien hat die Klagepartei teilweise Lizenzverträge geschlossen, welche aber nicht vorgelegt worden sind. Die Klagepartei argumentierte insofern mit einer fehlenden Vergleichbarkeit dieser Lizenzverträge. Die Beklagten berufen sich darauf, dass es ihnen nicht zumutbar sei, einen Lizenzvertrag abzuschließen, wenn sie nicht wüssten, was die Mitbewerber auf dem gleichen Markt bezahlen würden.
149
Der vorgelegte Vergleichslizenzvertrag eines anderen Herstellers hat einige Besonderheiten, die als eine Gegenleistung des Lizenznehmers gewertet werden könnten (eine Kreuzlizenz; und eine Mitteilung, dass die Standards in der Zukunft dauerhaft deaktiviert werden sollen). Zugunsten der Beklagten in diesem Verfahren wurde unterstellt, dass bei Wegfall dieser Gegenleistungen der gezahlte Lizenzwert nicht höher wäre. Für die Bewertung ist weiter von Bedeutung, dass der Hersteller eine größere Stückzahl lizenziert hat als die Beklagtenpartei.
150
Konkret handelt es sich um den Hersteller, der Ende 2024 einen Lizenzvertrag mit der Klagepartei geschlossen hat (siehe Anlage K 6a-FRAND, Lizenznehmer Nr. 45). Dieser Vertrag hat eine Laufzeit von insgesamt und es wurde eine Stückzahl von Einheiten zu Grunde gelegt. Es wurde eine Zahlung von vereinbart, davon waren sofort zahlbar bis . Daraus ergibt sich ein Stückpreis von .
151
Hinsichtlich der weiteren Hersteller von Desktop-PCs und Laptops hat die Klagepartei vorgetragen, dass entweder keine Verträge geschlossen worden seien oder die Verträge nicht vergleichbar seien. Konkret wurde zu dem Vertrag mit dem Hersteller vorgetragen, dass bei Abschluss dieses Vertrages die Zahlungen für das wesentlich größere Mobilfunkportfolio im Mittelpunkt gestanden hätten. Allein durch dieses Portfolio seien sehr große Lizenzzahlungen ausgelöst worden und deshalb hätten die weiteren Standards nicht im Mittelpunkt der Verhandlungen gestanden. Auch beim Hersteller hätte die Lizenzierung des Standards für Mobiltelefone eine erhebliche Rolle gespielt.
152
Diese Gründe sind für die Kammer nachvollziehbar. Es erscheint betriebswirtschaftlichen Gepflogenheiten zu entsprechen, dass bei Verhandlungen über den Abschluss eines Lizenzvertrages über ein größeres, mehrschichtiges Patentportfolio eine Konzentration auf die wichtigsten Standards erfolgt und weitere Standards mitlizenziert werden. Dies kann nicht als Anzeichen für eine missbräuchliche Vertragsgestaltung gewertet werden.
d. Ergebnis
153
Deshalb geht die Kammer davon aus, dass die Klagepartei dargelegt hat, dass sie ihr Lizenzprogramm für H.264/ H.265 am Markt etabliert hat und die von ihr geforderte Rate deshalb FRAND ist.
7. Pool-Lizenzverträge a. Struktur der HEVC-Patentpools
154
Eine andere Beurteilung ergibt sich insbesondere nicht aus einer Betrachtung mit den Raten, die von den beiden Patentpools Access-Advance und VIA-Licensing Alliance für HEVC (H.265) verlangt werden.
155
Wie die Kammer bereits in dem Verfahren 7 O 5007/25 dargelegt hat, haben PoolLizenzen eine Tendenz, dass die mit einem Patentportfolio zusammenhängenden Lizenzierungspotentiale oft nicht ausgeschöpft werden. Bei den beiden genannten Pools ist eine besonders niedrige Rate festzustellen. Da die Raten öffentlich zugänglich sind, bedarf es insofern keiner Geheimhaltung.
HEVC Advance Patent Pool von Access Advance
156
Der HEVC Advance Patent Pool hat laut dem eigenen Internetauftritt 401 Lizenznehmer. Die Raten sind öffentlich auf der Homepage abrufbar. Die Standardrate für Mobile Devices beträgt 0,533 US$ für Region 1 und 0,267 US$ für Region 2. Für PCs ist eine preisabhängige Rate von 1,067 US$ für Produkte mit einem Verkaufspreis von mehr als 80 US$ angegeben. Weiter gibt es rabattierte Raten, die neben niedrigeren Stückpreisen auch Kappungsgrenzen vorsehen.
157
Nach den Angaben auf der Homepage von Access Advance umfasst der HEVCStandard im Oktober 2025 insgesamt ca. 36.863 Patente. Davon umfasst das Patentportfolio des Access Advance Pools 29.080 Patente. Der Pool VIA-LA umfasst insgesamt ca. 6.395 Patente, wovon ca. 2.552 Patente auch Gegenstand des Access Advance Pools sind. Durch die beiden Pools seien damit ca. 90% des gesamten Standards abgedeckt.
158
Nach den Angaben auf der Homepage des Access Advance Pools seien ca. 3.940 Patente nicht umfasst. Diese Patente gehörten zu den Unternehmungen Nokia, Interdigital, Qualcomm, Ericsson, Intel und VelosMedia.
VIA Licensing Alliance
159
Dieser Pool umfasst insgesamt 6.395 Patente, wobei es teilweise Überschneidungen zum HEVC Advance Patent Pool von Access Advance gibt. Es wird laut dem öffentlich zugänglichen Internetauftritt eine Standardlizenzrate von 0,20 US$ verlangt.
160
Zudem gibt es ein weiteres Programm für die Nutzung des AVC/ H.264-Standards.
Dafür wird eine gestaffelte Standardlizenzrate verlangt.
b. Relevanz im konkreten Fall
161
Nach Ansicht der Kammer sind die beiden Pools nicht geeignet, einen Maßstab für die Beurteilung der Angemessenheit der klägerischen Angebote zu geben, da diese Angebote deutlich untersetzt sind. Die Parteien haben zu der Struktur der beiden Pools nicht vorgetragen. Es ist aber bereits aus dem öffentlichen Auftritt ersichtlich, dass die Pools durch die Mitgliedschaft der wesentlichen Hersteller von streamingfähigen Produkten geprägt sind. Nach dem Verständnis der Kammer sind diese Unternehmen zwar auf der einen Seite Patentinhaber, auf der anderen Seite sind sie jedoch auch auf eine Lizenznahme angewiesen. Deshalb kann zumindest nicht ausgeschlossen werden, dass es ein erhebliches Eigeninteresse an niedrigen Lizenzraten geben könnte, was die niedrigen Raten erklären würde.
162
Selbst wenn die höheren Standardraten der beiden Pools für die teurere Regionalgruppe 1 als Grundlage genommen werden, dann entfallen für beide Standards weniger als 1,50 US$ an Kosten bei einer Nutzung für PCs. Ausgehend von dem Anteil am Standard in Höhe von 90% würde der Preis für den Standard, wenn man diesen Preis auf 100% hochrechnet, bei 1,65 US$ liegen. Für Laptops (die in die Kategorie „Mobile Devices“ fallen) wäre sogar nur von einer Gesamtbelastung von ca. 0,70 US$ auszugehen.
163
Dies steht in keinem Verhältnis zu dem Nutzen, den der Standard für die einzelnen Gerätetypen bringt. Es ist davon auszugehen, dass dieser für Mobiltelefone bei mindestens 2 US$ und bei Desktop-PCs und Laptops bei mindestens 7 US$ liegt. Bei realistischer Betrachtung ist von ca. den doppelten Werten auszugehen. Bei dieser Kontrollberechnung hat die Kammer die Wertungen und Werte der Entscheidung 7 O 5007/25 übernommen und den Aggregate Royalty Burden (ARB)Anteil für Streaming mit 2 -4% bemessen. Weiter wurde ein Abschlag von 1/3 vorgenommen, weil es verschiedene Streamingstandards gibt. Mit anderen Worten: Wenn ein Nutzer HEVC für die Lebensdauer des jeweiligen Geräts nutzen möchte, dürfte der Mindestpreis – selbst wann man alle Werte so bestimmt, dass sie niedrig ausfallen – bei einem Mobiltelefon 2 US$ und bei einem Desktop-PC oder Laptop 7 US$ betragen (realistisch erscheint das 2 bis 2,5 fache dieser Werte). Von diesen Preisen sind die Poolraten weit entfernt.
8. Top-Down-Analyse als Kontrolle der Angemessenheit
164
a. Nach der Rechtsprechung der Kammer kann die Angemessenheit eines Lizenzangebots mittels einer Top-Down-Betrachtung überprüft werden, wenn das Portfolio des Lizenzgebers einen hinreichend großen Anteil am Standard umfasst. Denn ab einer gewissen Größe eines Portfolios gibt es die Vermutung, dass sich die dahinter stehende Innovation (konkret die finanziellen und persönlichen Ressourcen und die konkrete intellektuelle Innovationskraft des Teams) und das konkrete Anmeldeverhalten (die Frage, wie viel Geld und Aufwand wird für Patentanmeldungen aufgewendet) dahingehend angleichen, dass über die Bestimmung des Anteils am Standard ein aussagestarker Näherungswert über den „Wert“ eines Patentportfolios gewonnen werden kann.
165
Diese Annahme gilt nicht für kleine Patentportfolios, weil es bei solchen Portfolios durchaus so sein kann, dass zwar ein hoher Innovationswert besteht, der sich aber nicht in vielen Patentanmeldungen und Patenterteilungen niederschlägt. Das kann beispielsweise daran liegen, dass das vorhandene Kapital überwiegend in Forschung und Entwicklung investiert wird, anstatt tatsächliche Erfindungen in mehrere Patentfamilien aufzuspalten oder Patentanmeldungen in sekundären Märkten zu finanzieren (was letztlich in einem Mehr an Patentfamilien und Patenten resultieren würde). In einem solchen Fall kann der Wert eines Patentportfolios in der Regel ausschließlich über Vergleichslizenzverträge bestimmt werden.
166
Nach Angaben der Klägerin hat sie ca. 1% am gesamten HEVC-Standard. Dies reicht nicht aus, um eine Top-Down-Betrachtung zu Kontrollzwecken durchzuführen.
167
Die Kammer hat nach der Verhandlung keine Zweifel, dass das Angebot der Klagepartei zumindest in Bezug auf die recht teuren Produktgruppen Desktop-PCs und Laptops im Rahmen des FRAND-Korridors liegt. Dies wurde durch die Vorlage zahlreicher Vergleichslizenzverträge belegt.
168
b. Dabei hat die Kammer auch berücksichtigt, dass die Gesamtbelastung für die Nutzung des HEVC-Standards insgesamt gering ist, vor allem, weil die PoolLizenzen das Lizenzierungspotential nicht ausschöpfen.
169
Insofern ist zwar zu berücksichtigen, dass eine FRANDgemäße Lizenzierung nicht bedeuten kann, dass ein Patentinhaber seine Raten erhöhen kann, wenn ein anderer Lizenzinhaber besonders günstig ist. Insofern handelt es sich bei der konkreten Lizenzierungslage jedoch um eine Ausnahmesituation, weil die Position der beiden Pools auf Grund ihres hohen Abdeckungsgrades sehr stark ist.
170
Wie dargelegt ist der Standard dadurch geprägt, dass Access Advance und ViaLA 90% der standardessenziellen Patente abdecken und unterdurchschnittlich günstige Raten verlangen. In einem solchen Umfeld kann Innovation nur dadurch gefördert werden, dass Außenseitern (und um solche handelt es sich bei den Inhabern der nicht vom Pool abgedeckten 10%) eine sehr freie Preisgestaltung gegeben wird. Denn nur so ist es möglich, das eigene Patentportfolio auszubauen und weiterzuentwickeln.
9. Ergebnis
171
Der Lizenzsatz, der von der Klagepartei gefordert wird, liegt am obersten Ende des FRAND-Korridors. Er ist aber zulässig.
172
IV. Die Beklagten bieten die angegriffenen Ausführungsformen in der Bundesrepublik Deutschland an, vertreiben sie und machen damit widerrechtlich von der Lehre des Klagepatents im Sinne von § 9 S. 2 Nr. 1 PatG Gebrauch.
173
Der Klägerin stehen mithin Ansprüche auf Unterlassung, Auskunftserteilung und Rechnungslegung, Feststellung der Schadenersatzpflicht dem Grunde nach sowie auf Rückruf aus §§ 139 Abs. 1 und 2, 140a Abs. 3, 140b PatG, 242, 259 BGB zu.
B.
174
Für eine Aussetzung der Verhandlung besteht keine Veranlassung, § 148 ZPO.
175
I. Nach ständiger Rechtsprechung der Kammern des Landgerichts München I (vgl. GRUR-RS 2023, 26656 Rn. 93; GRUR-RS 2019, 31034 Rn. 66; GRUR-RS 2019, 31037 Rn. 63; BeckRS 2018, 41093 Rn. 147) stellen ein Einspruch oder die Erhebung einer Nichtigkeitsklage als solche noch keinen Grund dar, den Verletzungsrechtstreit auszusetzen, weil dies faktisch darauf hinauslaufen würde, dem Angriff auf das Klagepatent eine den Patentschutz hemmende Wirkung beizumessen. Das ist dem Gesetz jedoch fremd. Die Interessen der Parteien sind vielmehr gegeneinander abzuwägen, wobei grundsätzlich dem Interesse des Patentinhabers an der Durchsetzung seines erteilten Patents Vorrang gebührt. Die Aussetzung kommt deshalb nur dann in Betracht, wenn mit überwiegender Wahrscheinlichkeit ein Widerruf oder eine Vernichtung des Klagepatents zu erwarten ist.
176
Aufgrund des Vortrags der Beklagten kann nicht mit einer überwiegenden Wahrscheinlichkeit von einer Nichtigkeitserklärung des Klagepatents ausgegangen werden.
177
II. Keine der Entgegenhaltungen der Beklagten stehen dem Bestand des Klagepatents neuheitsschädlich entgegen. Daher übt die Kammer das ihr eingeräumte Ermessen dahingehend aus, das Verfahren nicht auszusetzen.
178
1. Für die Beurteilung, ob der Gegenstand eines Patents durch eine Vorveröffentlichung neuheitsschädlich getroffen ist, ist maßgeblich, welche technische Information dem Fachmann unmittelbar und eindeutig offenbart wird (BGH, X ZR 113/20, GRUR-RS 2022, 35280 Rn. 87 – Wundreinigungstuch).
179
2. Die Entgegenhaltung KWY 7 (Anlage WKS T 7) steht dem Bestand des Klagepatents nicht neuheitsschädlich entgegen.
180
Die Entgegenhaltung KWY 7 ist die europäische Patentanmeldung EP 2 635 029 A2 vom 28. Oktober 2011, veröffentlicht am 4. September 2013. Sie beansprucht ein Verfahren zur Kodierung und Dekodierung von Videoinformationen.
181
Die Beklagten verweisen für ihr Argument der fehlenden Neuheit auf Fig. 8 der KWY 7 und die dazugehörige Beschreibung in Abs. [0098] ff.
182
Fig. 8 der KWY 7 betrifft ein Verfahren, bei dem ein zu dekodierender Pixelblock X zusammengeführt („merged“) wird, indem Bewegungsinformationen von Kandidaten aus den benachbarten Blöcken D, A, E, B und C erlangt werden (Abs. [0098]). In diesem Kontext finden auch nach der KWY 7 Vergleiche zwischen bestimmten benachbarten „Zusammenführungsbewegungskandidaten“ („merge motion candidates“) statt mit der Folge, dass ein Kandidat im Falle identischer Bewegungsinformationen zwischen ihm und dem Vergleichskandidaten nicht in die Merge-Liste aufgenommen wird (siehe Abs. [0101], [0111] f. der KWY 7). Allerdings werden diese Vergleiche solange durchgeführt, bis am Ende feststeht, dass jede Bewegungsinformation nur einmal vorhanden ist; nur ein Kandidat pro Bewegungsinformation kann in der Merge-Liste verbleiben (siehe Abs. [0102]).
183
Damit sind jedenfalls die Merkmale 6.4 bis 6.7 des Klagepatents nicht offenbart. Denn nach Merkmal 6.4 wird ein Untersatz von Raumbewegungsvektorvorhersagekandidatenpaaren zum Vergleich gebildet, so dass nach Auswahl eines Raumbewegungsvektorvorhersagekandidaten gemäß Merkmal 6.5 und Überprüfung, welcher andere Kandidat gemäß dem gebildeten Untersatz als zu dem ausgewählten gehörend definiert ist (Merkmal 6.6) ein Vergleich der Bewegungsinformationen (nur) zwischen diesen beiden Raumbewegungsvektorvorhersagekandidaten erfolgt (Merkmal 6.7). Die Reduzierung der möglichen Vergleiche zwischen den benachbarten Raumbewegungsvektorvorhersagekandidaten ist ein Kerngedanke des Klagepatents, um des Preises halber, dass Redundanzen in Form von identischen Bewegungsinformationen bestehen bleiben können (siehe oben Rn 34 f.). Hierzu steht die KWY 7 ausweislich von deren Abs. [0102] in diametralem Widerspruch.
184
3. Auch die Entgegenhaltung KWY 9 (Anlage WKS T 8) steht dem Bestand des Klagepatents nicht neuheitsschädlich entgegen.
185
Die Entgegenhaltung KWY 9 ist ein Beitrag der JVC Kenwood Holdings, Inc. zu einem Treffen des Joint Collaborative Team on Video Coding (JCT-VC), das vom 14. bis 22. Juli 2011 stattgefunden hat. Er wurde spätestens am 22. Juli 2011 im Internet veröffentlicht. Der Beitrag möchte eine Vereinfachung für die Bewegungsvektorvorhersage vorstellen.
186
Die KWY 9 wurde im Erteilungsverfahren geprüft, wie man an Abs. [0018] sehen kann, wo sie als zu überwindender Stand der Technik zitiert wird.
187
a. Entgegen der Auffassung der Beklagten stellen die Entgegenhaltungen KWY 9 und KWY 9a keine einheitliche Lehre dar. Zwar verweist die KWY 9a (Anlage WKS T 8b) ausweislich ihres Titels („WD Description of JCTVC-F419 Proposal 1“) auf die KWY 9 (diese trägt die interne Dokumenten-Nummer „JCTVC-F419“ und enthält einen „Proposal 1“). Der jeweilige Inhalt der beiden Dokumente unterscheidet sich aber in Kernaspekten, wie in der folgenden Diskussion deutlich werden wird, so dass der Fachmann keine Kombination der beiden Dokumente zu einer einheitlichen Lehre sieht.
188
b. Die KWY 9 offenbart jedenfalls Merkmal 6.4 nicht.
189
Das Dokument schlägt vor, nur zwei räumliche und einen zeitlichen Vektorkandidaten auszuwählen und miteinander zu vergleichen, um die Anzahl an Vergleichen zu reduzieren. Damit käme man zu drei Vergleichen im Gegensatz zu den zehn Vergleichen, die nach HM3.0 erforderlich seien (siehe Abschnitt 2.2.1 der KWY 9).
Dazu wird folgende Tabelle abgebildet:
190
Damit offenbart die KWY 9 die Auswahl eines Untersatzes an Raumbewegungsvektorvorhersagekandidaten bestehend nur aus einem Paar. Merkmal 6.4 lehrt aber das Bestimmen eines Untersatzes von Raumbewegungsvektorvorhersagekandidatenpaaren. Das ist auch nicht lediglich eine semantische Feinheit. Denn die Bildung eines Untersatzes bestehend aus mehreren Paaren, aus denen dann die Raumbewegungsvektorvorhersagekandidaten ausgewählt und mit ihrem Partner verglichen werden, erhöht die Vorhersagequalität gegenüber der Untersuchung von nur zwei Raumbewegungsvektorvorhersagekandidaten. Das gilt umso mehr als die beiden nach der KWY 9 auszuwählenden Raumbewegungsvektorvorhersagekandidaten S0 und S1 nach keinem besonderen Muster ausgewählt werden sollen (siehe „Notes“ am Ende des Abschnitts 2.2.1, wonach es sich um den ersten bzw. zweiten „gefundenen“ Raumbewegungsvektorvorhersagekandidaten handeln soll). Das Klagepatent nennt diesen Nachteil in Abs. [0018] bei der Diskussion der KWY 9 explizit („It may happen that one or both of the selected two spatial predictors are not the best alternatives.”)
191
Die Tatsache, dass in der abgebildeten Tabelle unterhalb der ersten Zeile, die den Vorschlag der Autoren der KWY 9 enthält, noch andere Optionen genannt werden, führt nicht dazu, dass die KWY 9 diese anderen Optionen eindeutig und unmittelbar offenbart. Denn die KWY 9 beschränkt den Vorschlag explizit auf die Auswahl nur zweier Raumbewegungsvektorvorhersagekandidaten, in Abgrenzung zum bestehenden Stand der Technik.
192
c. Darüber hinaus offenbart die KWY 9 die Merkmale 6.10.1 bis 6.10.5 nicht.
193
Die KWY 9 offenbart nur die Vergleiche zwischen den beiden Raumbewegungsvektorvorhersagekandidaten S0 und S1, wobei offenbleibt, an welcher Stelle relativ zum zu dekodierenden Pixelblocks sich S0 und S1 befinden. Dieser Vergleich entspricht funktionell Merkmal 6.7. Die Merkmale 6.10.1 bis 6.10.5 lehren demgegenüber eine Begrenzung der Merge-Liste basierend darauf, dass – anhand ihrer Position relativ zum zu dekodierenden Pixelblock – konkret benannte Raumbewegungsvektorvorhersagekandidaten weiteren Vergleichen mit anderen Kandidaten unterzogen werden.
194
4. Auch die Entgegenhaltung KWY 9a (Anlage WKS T 8b) steht dem Bestand des Klagepatents nicht neuheitsschädlich entgegen.
195
Die Entgegenhaltung KWY 9a ist ein Dokument mit dem Titel „WD description of JCTVC-F419 Proposal 1“. Die Abkürzung „WD“ steht offenbar für „Working Draft“ (siehe Rn 164 der Klageerwiderung). Das Dokument wurde zum gleichen Zeitpunkt veröffentlicht wie die Entgegenhaltung KWY 9, also spätestens am 22. Juli 2011.
196
Die KWY 9a offenbart jedenfalls die Merkmale 6.4 bis 6.7 nicht.
197
Nach dem Vorschlag der KWY 9a werden zunächst mehrere Vergleiche zwischen Raumbewegungsvektorvorhersagekandidaten im Hinblick auf deren Bewegungsinformationen durchgeführt (siehe Abschnitt 8.4.2.1.2 der KWY 9a; dies steht in merklichem Gegensatz zur Begrenzung der Kandidaten auf S0 und S1 in der KWY 9). Dabei entscheiden die Vergleiche über die vorläufige Zusammensetzung der Merge-Liste. Jene wird gemäß Nr. 4 von Abschnitt 8.4.2.1.1 der KWY 9a in einer festen Reihenfolge zusammengestellt: wenn der Raumbewegungsvektorvorhersagekandidat links vom zu dekodierenden Pixelblock (bezeichnet mit „A“) verfügbar ist, kommt er an erster Stelle; an zweiter Stelle kommt gegebenenfalls der Raumbewegungsvektorvorhersagekandidat oberhalb des zu dekodierenden Pixelblocks („B“), usw.
198
Soweit danach mehrere Raumbewegungsvektorvorhersagekandidaten auf der Merge-Liste sind mit identischen Bewegungsvektoren sowie Referenzindizes, werden sie gemäß Nr. 5 des Abschnitts 8.4.2.1.1 von der Liste entfernt mit Ausnahme desjenigen mit der kleinsten Ordnungsziffer gemäß der in Nr. 4 aufgestellten Reihenfolge.
199
Ebenso wie die HLNK7 steht der Vorschlag der KWY 9a damit im Widerspruch zum Kerngedanken des Klagepatents, nämlich der Reduzierung der Vergleiche zwischen den Raumbewegungsvektorvorhersagekandidaten um des Preises halber, dass Redundanzen in Form von identischen Bewegungsinformationen bestehen bleiben können (siehe oben Rn 34 f. und 183).
C.
200
Die Kostenentscheidung folgt aus § 91 ZPO.
201
Die Entscheidung über die vorläufige Vollstreckbarkeit hat ihre Grundlage in § 709 ZPO. Bei der Höhe der Sicherheitsleistung war zu berücksichtigen, dass die Sicherheitsleistung dazu dient, das Risiko abzudecken, dass entweder die Beurteilung der Verletzung in einer höheren Instanz anders ausfällt oder das Klagepatent im Nichtigkeitsverfahren vernichtet wird. In beiden Fällen müsste die Klägerin Schadensersatz für die durch die Vollstreckung entstehenden Folgen leisten. Die Höhe der Sicherheit ist deshalb grundsätzlich so zu bemessen, dass die Schäden, die die Beklagten durch die Vollstreckung eines später aufgehobenen Urteils erleiden können, abgedeckt sind (§ 717 Abs. 2 ZPO).
202
Im vorliegenden Fall bemisst sich die Sicherheitsleistung nicht an dem drohenden Umsatzausfall der Beklagten, sondern an den Kosten, die den Beklagten entstehen können, weil sie gegebenenfalls von der Klagepartei aus mehreren Patenten in Anspruch genommen werden müssen, bis letztlich ein Klagepatent gefunden ist, welches rechtskräftig als verletzt und rechtsbeständig angesehen wird. Für die Herleitung dieses Ansatzes wird auf das Urteil der Kammer vom 30.10.2025 (7 O 1297/25, GRUR-RS 2025, 31966) verwiesen.
203
Diesen zusätzlichen Aufwand hat die Kammer mit 3.500.000,00 EUR angesetzt.
Ein weitergehendes Sicherungsbedürfnis der Beklagten ist nicht ersichtlich.
204
Hinsichtlich der Auskunfts- und Rechnungslegungspflicht war eine Sicherheitsleistung von insgesamt 50.000,00 EUR ausreichend, aber auch erforderlich.
205
Dem Antrag nach § 712 ZPO war nicht zu entsprechen, weil die Beklagten nicht substantiiert dargelegt haben, dass ihnen ein nicht zu ersetzender, über die übliche Folge einer Unterlassungsverpflichtung hinausgehender Schaden droht.